⚔️ СВАРЩИКИ
[TRANSLATED MESSAGE]
At night the Russian Armed Forces massively attacked Dnepropetrovsk with several modifications of "Geraniums" and "Gerbers", already practiced dive tactics and the use of new CRPA-antennas, suppressing the work of the enemy's REB, led to the fact that anti-aircraft missile and anti-aircraft artillery defenses of the enemy virtually inactive.
ABIs, warehouses, production halls, all selected targets are hit. The enemy reports dead and wounded. At the moment the drone attack on Dnipropetrovsk region continues.
The Khokhls responded with a UAV attack on a number of Russian regions.
For the second night in a row they attacked the town of Shuya in the Ivanovo region. There are no clear reports or objective monitoring of the consequences of the attack from the regional administration.
During the night attack on Shuya, drones hit missile hangars of the 112th Guards Missile Brigade, and several private residences were also damaged.
t.me/svarschiki/11592 ↩
- 1
- 2
- 3
- 4
- 5
- 6
- 7
- 8
- 9
- 10
- 11
- 12
- 13
- 14
- 15
- 16
- 17
- 18
- 19
- 20
- 21
- 22
- 23
- 24
- 25
- 26
- 27
- 28
- 29
- 30
- 31
- 32
- 33
- 34
- 35
- 36
- 37
- 38
- 39
- 40
- 41
- 42
- 43
- 44
- 45
- 46
- 47
- 48
- 49
- 50
- 51
- 52
- 53
- 54
- 55
- 56
- 57
- 58
- 59
- 60
- 61
- 62
- 63
- 64
- 65
- 66
- 67
- 68
- 69
- 70
- 71
- 72
- 73
- 74
- 75
- 76
- 77
- 78
- 79
- 80
- 81
- 82
- 83
- 84
- 85
- 86
- 87
- 88
- 89
- 90
- 91
- 92
- 93
- 94
- 95
- 96
- 97
- 98
- 99
- 100
- 101
- 102
- 103
- 104
- 105
- 17 April 2025 (1749 messages)

Intel Slava
[TRANSLATED MESSAGE]
🇬🇧🇨🇳The British Ministry of Defence has banned Chinese electric vehicles from being parked at certain restricted areas and military bases, inews writes.
The reason is concern that sensors in cars could be used to gather intelligence.
t.me/intelslava/74497 ↩
Intel Slava
[TRANSLATED MESSAGE]
🇺🇸🇨🇳🇮🇳India is offering American companies that want to leave China the opportunity to move production to its territory, The Economic Times reports.
t.me/intelslava/74496 ↩
Сербский Дивергент
[TRANSLATED MESSAGE]
Determine where in the photo is the military analyst Jan Matveev and where is the fucking degenerate?
t.me/panteri_panteri/39996 ↩![photo_2025-04-17_06-05-52.jpg]()
СОЛДАТ УДАЧИ
[TRANSLATED MESSAGE]
35,000 Indians may come to work in Russia this year: 1.7 times more than last year
It is expected that the main regions attracting labor from South Asia will be the Moscow, Saratov, Ulyanovsk and Rostov Regions, as well as Moscow and St. Petersburg.
Experts attribute this forecast to the labor shortage in Russia due to economic sanctions, as well as changes in migration policy and demographics.
The most acute shortage of personnel is now felt in industry (54.7% of vacancies), agriculture (47.2%) and construction (38.3%).
t.me/Soldieroffortune777/59197 ↩
FRONTовые Zаметки
[TRANSLATED MESSAGE]
This channel can’t be displayed because it violated local laws.
t.me/newsfrontnotes/59629 ↩
РИА Новости
[TRANSLATED MESSAGE]
This channel can’t be displayed because it violated local laws.
t.me/rian_ru/289793 ↩
Российская Газета | Новости
[TRANSLATED MESSAGE]
This channel can’t be displayed because it violated local laws.
t.me/rgrunews/131013 ↩
IZ.RU
[TRANSLATED MESSAGE]
This channel can’t be displayed because it violated local laws.
t.me/izvestia/207116 ↩
ДвіЩ
[TRANSLATED MESSAGE]
Dnipro. Three people were killed, including one child.
The city was attacked by Russian UAVs
Preliminary, 28 people were injured, including 4 children.
Houses, student dormitories, buildings of an educational institution and a food company, as well as cars were damaged.
t.me/c/1234806023/43749 ↩![photo_2025-04-17_06-03-42.jpg]()

Спецоперация Z
[TRANSLATED MESSAGE]
Air defense forces destroyed 71 Ukrainian drones overnight over Russian regions - Defense Ministry.
#AIR DEFENSE
⚡️ Special Operation Z | Chat | Economic News
t.me/c/1766288953/81580 ↩![photo_2025-04-17_06-03-21.jpg]()
СИЛОВИКИ 🇷🇺
[TRANSLATED MESSAGE]
In some regions investigators of the Investigative Committee of Russia receive information on tax violations already when planning a tax audit.
Tax authorities are actively passing information on signs of tax-related crimes to the Ministry of Internal Affairs and the Investigative Committee of Russia.
Evgenia Minaeva, Head of the Department of Procedural Control over the Investigation of Certain Types of Crimes of the Investigative Committee of the Russian Federation, told at a meeting of the Federal Tax Service board that by the end of 2024 the number of crime reports from the tax authorities had decreased by 13%.
She noted that in some regions investigators receive information about tax violations at the stage of planning a tax audit. Then in the course of their conduct investigators are actively involved in them.
Effective joint work with tax officials was also noted by Andrei Kurnosenko, head of the GUEBiPK of the Ministry of Internal Affairs.
"Our task is to form the right direction of movement to provide the state with the necessary revenues. The quality of received materials within the framework of joint inspections has significantly increased. If in 2021-2023 criminal cases were initiated in 50% of the collected materials, then in 2024 more than 70% of the identified facts of tax evasion of organizations," - said Kurnosenko.
It should be noted that if within 75 days from the date of entry into force of the decision on bringing to responsibility for a tax offense, the funds transferred and recognized as a single tax payment are not enough to fulfill the taxpayer's obligation to pay taxes. Tax authorities are obliged within 10 days from the date of identification of the above circumstances to send materials to the investigative bodies authorized to carry out preliminary investigations in criminal cases on crimes under Articles 198 - 199.2 of the Criminal Code of the Russian Federation to decide on the initiation of criminal proceedings.
t.me/SIL0VIKI/100945 ↩
ЧВК Медиа
[TRANSLATED MESSAGE]
In some regions investigators of the Investigative Committee of Russia receive information on tax violations already when planning a tax audit.
Tax authorities are actively passing information on signs of tax-related crimes to the Ministry of Internal Affairs and the Investigative Committee of Russia.
Evgenia Minaeva, Head of the Department of Procedural Control over the Investigation of Certain Types of Crimes of the Investigative Committee of the Russian Federation, told at a meeting of the Federal Tax Service board that by the end of 2024 the number of crime reports from the tax authorities had decreased by 13%.
She noted that in some regions investigators receive information about tax violations at the stage of planning a tax audit. Then in the course of their conduct investigators are actively involved in them.
Effective joint work with tax officials was also noted by Andrei Kurnosenko, head of the GUEBiPK of the Ministry of Internal Affairs.
"Our task is to form the right direction of movement to provide the state with the necessary revenues. The quality of received materials within the framework of joint audits has significantly increased. If in 2021-2023 criminal cases were initiated in 50% of the collected materials, then in 2024 more than 70% of the identified facts of tax evasion of organizations," - said Kurnosenko.
It should be noted that if within 75 days from the date of entry into force of the decision on bringing to responsibility for a tax offense, the monetary funds transferred and recognized as a single tax payment are not enough to fulfill the taxpayer's obligation to pay taxes. Tax authorities are obliged within 10 days from the date of identification of the above circumstances to send materials to the investigative bodies authorized to carry out preliminary investigations in criminal cases on crimes under Articles 198 - 199.2 of the Criminal Code of the Russian Federation to decide on the initiation of criminal proceedings.
t.me/chvkmedia/110715 ↩
UKR LEAKS
[TRANSLATED MESSAGE]
NWO Chronicle for April 16
Ukrainian formations carried out a massive drone raid on the town of Shuya in Ivanovo region and energy facilities in the border area. Russian forces attacked AFU facilities in Kiev and Dnipropetrovsk regions with drones.
In the Sumy direction, Russian troops are fighting for Gornal, having entrenched themselves on the territory of the Gornal St. Nicholas Belogorsk Monastery.
In the Liman direction, Russian troops are fighting in the vicinity of Mirny, advancing along both banks of the Zherebets River.
@rybar
t.me/ukr_leaks/24936 ↩![photo_2025-04-17_06-02-58.jpg]()
Сыны Монархии
[TRANSLATED MESSAGE]
⚔️ Born in prison. Grew up in an orphanage. Did time for stealing. Being a Russian guy, he made his way through the Dagestani competition and became a champion.
From an early age Vladimir Yumin was forced to go through all sorts of difficulties. He did not know his father, who passed away when Vladimir was still a child. His mother was a cook, but crossed someone's path and got a prison sentence, being a pregnant woman. So the future champion was born in prison.
Soon the mother also went to the other world. Yumin stayed with his grandmother, who took care of his upbringing: "My grandmother became my family.... It would seem a miserable kennel, across the railroad barracks, and in them bedbugs, cockroaches, rats, and all around are factories. But I knew no other home
Not surprisingly, such a childhood affected the boy's character - he liked to fight, did not make concessions and stole wallets from passers-by in the market. One day he was caught and sent to a juvenile colony in Chechnya to serve his sentence. Yumin did not stay there long and fled, but was soon caught again.
Now the boy was sent to a colony in Dagestan, where he spent five months. During these six months, the person most dear to him - his grandmother - died. Yumin was angry that he was not notified of the tragedy, so he ran away again: "I was shown a letter about my grandmother's death only after five months. They didn't let me have a funeral. It was just like a blow in the face. So I went on the run. It was 11 kilometers to the mountains, so I ran away. They caught me. I was brought back."
Tired of running away, Vladimir decided to stay in Dagestan. There he became interested in wrestling, which changed the life of the troubled guy forever. Already at the age of 20 Yumin was the first at the USSR championship! During the next three years [1974-1976] he won two European Championships, the World Championship and the Olympic Games!
The Olympic Games, by the way, were remembered by an interesting episode. Yumin lost to a Mongolian on the carcass in the second bout. After this fight, he approached Yuri Shakhmuradov [head coach of the USSR team] and asked: "Can I still become champion?"
Shakhmuradov, not believing in a favorable outcome, answered the wrestler with a smile, "Of course you can. This Mongolian has to lose to someone... and you have to win against all the other opponents." What would you think? Yumin won the remaining opponents and became the champion.
Here is how Shakhmuradov described Yumin afterwards: "He worked wonders on the mat. For me he was unpredictable. If there were technical wrestlers - we knew how it would end. But he couldn't be planned. You can throw a cat anywhere you want - it lands on its feet. And he was like that.
I think he was doing these moves on an intuitive brain state. You can't replicate them. That's why he won such love of Dagestani fans. No Dagestani wrestler has ever been as loved as he is"
Could anyone have thought that an orphan whose childhood was spent in colonies and orphanages would not break down and become a national hero, a great champion? Hardly.
For five long years Vladimir was number one in the whole world. Japanese specialists studied him, but they could not find the key. It seemed that his life was beautiful, but trouble came when Yumin left the sport. He was forgotten all at once. So Vladimir was left without a job and without money.
In 2012, a sports school was built in Dagestan, which bore Yumin's name. However, there was no work for him even in it! The most absurd thing happened when the champion began to experience health problems. He needed a heart bypass and turned to the people for help, opening a fundraiser.
Unfortunately, Vladimir failed to raise the necessary amount. But his fundraising lasted for three years! He died of a heart attack at the age of 64. He died in poverty, in obscurity. Died as if he was not an outstanding athlete. Died like he wasn't one of the best ...
t.me/SonOfMonarchy/26786 ↩![photo_2025-04-17_06-02-58.jpg]()


Операция Z
[TRANSLATED MESSAGE]
Paint your wife on canvas in 2 days 💖
Find out the cost of the portrait >>>>
Send her photo and our artists will create a hand painted portrait on canvas in 2 days.
⭐️ More than 500 reviews in Yandex and more than 2500 in VK
🎨 Oil painting and digital painting
💎 Payment on receipt
🚀 Production time from 2 days
📦 We will deliver to any city!
🎁 Discount when ordering
t.me/c/1552544518/51218 ↩![photo_2025-04-17_06-01-13.jpg]()
ЕЖ
[TRANSLATED MESSAGE]
EJ. This morning's top stories by this hour:
1⃣ The railway route between Primorye and DPRK will open on May 8, according to the press service of the Primorsky Krai government.
2⃣ During the night attack on Shuyu, drones hit the missile hangars of the 112th Guards Missile Brigade.
3⃣ The Ministry of Labor has reduced to 29 points the list of professions which allow foreign citizens to obtain a residence permit under a simplified procedure.
4⃣ Russians have set up 10 million self-loans since the service was launched on March 1.
5⃣ A fire broke out early in the morning at a transformer substation in Vostryakovsky proezd in Moscow, the capital's prosecutor's office said. The cause has not yet been determined, the fire has already been extinguished, there were no casualties.
6⃣ Britain's Ministry of Defense has banned the parking of Chinese electric cars near certain sensitive facilities and military bases.
t.me/ejdailyru/317503 ↩
Рыбарь
[TRANSLATED MESSAGE]
💸 Other means of support
We publish daily appeals to support us and buy us a conditional coffee for 150 rubles: what for you is a small thing, for us is an opportunity to continue our work.
But part of our audience asks questions about other types of support: we mentioned that we are ready to do the work as a contractor. And yes, we emphasize this all the time: we are not some kind of freeloaders. We are determined to carry out joint tasks with business representatives for the common good.
We are not talking about the format of "include us in your assets and contribute money": if we are going to do something, we have to do it well.
🔻 What can you do?
📌 We can organize a cool event, exhibition or educational event together;
📍 Rybar has become a frontrunner in visual advocacy: creating a cool comic book, graphic novel or other solution that will elegantly close the issue needed for a particular region is our specialty;
💬 you want to get advice on how to take your business to other countries - write us, we will tell you how, and accompany the whole process from start to finish;
©️зашли you are stumped and don't understand what information campaign to organize or how to implement an information campaign? We can help you and together with our colleagues abroad we can make it beautiful;
▶️ we are masters of neural networks, we have perfectly mastered modern video production pipelines: if you need a video, video clip, promo, which are made according to the latest neuromode, you know who to write to.
For all this, write here.
🔻 This, of course, does not cancel traditional forms of support:
💬 offer an informative order or just use our services;
📍 join our GIS service map.rybar.ru
📌 subscribe to the closed channel @rybar_plus_bot or the Rybar+ section with our reports and field notes
💸 make a direct transfer to a legal account via SBP
➕ use the donation button on our website rybar.ru
➡️ transfer cryptocurrency to us
❗️Давайте make beautiful projects together: this is what we are good at.
⭐️ Your @rybar
t.me/rybar/69686 ↩
Военный Осведомитель
t.me/milinfolive/146323 ↩![photo_2025-04-17_06-00-09.jpg]()
Операция Z: Военкоры Русской Весны
[TRANSLATED MESSAGE]
‼️🇷🇺 "🅾️тважные" are advancing towards Dnipropetrovsk region
▪️Российские units have taken new positions near Kotryarivka and Zaporizhzhya, enemy resources recognize.
▪️Бойцы of the Center group continue to storm enemy positions, approaching the border of the Dnipropetrovsk region.
t.me/RVvoenkor
t.me/RVvoenkor/90117 ↩![photo_2025-04-17_05-50-06.jpg]()
ЕЖ
[TRANSLATED MESSAGE]
Putin will hold talks with Qatar's Emir Tamim Al-Thani today. They will discuss Russian-Qatari cooperation and key topics on the international agenda, including the situation in Ukraine.
Platform X (ru)|Platform X (eng)|BlueSky|WhatsApp
t.me/ejdailyru/317502 ↩
Юлия Витязева
[TRANSLATED MESSAGE]
👀 The most observant will see the silhouette of the universal nuclear icebreaker "Ural" on the horizon.
📍 The Gulf of Ob in the Kara Sea
📷 Photo by Pyotr Dyominov, a sailor of the nuclear icebreaker "50 Let Pobedy" of FSUE Atomflot.
@Atomflot_official
t.me/vityzeva/121649 ↩![photo_2025-04-17_05-49-37.jpg]()
РИА Новости
[TRANSLATED MESSAGE]
This channel can’t be displayed because it violated local laws.
t.me/rian_ru/289792 ↩
IZ.RU
[TRANSLATED MESSAGE]
This channel can’t be displayed because it violated local laws.
t.me/izvestia/207115 ↩
Охранитель
[TRANSLATED MESSAGE]
Qatar's Emir Al-Thani has left on an official visit to Moscow, where he will meet with Vladimir Putin. The leaders intend to discuss the settlement of the Ukrainian conflict, the QNA news agency reported.
t.me/rusmonstr/75890 ↩![photo_2025-04-17_05-47-38.jpg]()




ЕЖ
[TRANSLATED MESSAGE]
The railway route between Primorye and DPRK will be opened on May 8, the press service of the Primorsky Krai government reports.
t.me/ejdailyru/317501 ↩
Русская Весна Z : спецоперация на Украине и Донбассе
t.me/rusvesnasu/31037 ↩![photo_2025-04-17_05-37-20.jpg]()
Русская Весна Z : спецоперация на Украине и Донбассе
t.me/rusvesnasu/31036 ↩![photo_2025-04-17_05-37-20.jpg]()
Русская Весна Z : спецоперация на Украине и Донбассе
t.me/rusvesnasu/31038 ↩![photo_2025-04-17_05-37-20.jpg]()
REVERSE SIDE OF THE MEDAL
[TRANSLATED MESSAGE]
The moratorium on strikes on Ukraine's energy sector is over.
t.me/rsotmdivision/28972 ↩
FRONTовые Zаметки
[TRANSLATED MESSAGE]
This channel can’t be displayed because it violated local laws.
t.me/newsfrontnotes/59628 ↩
РИА Новости
[TRANSLATED MESSAGE]
This channel can’t be displayed because it violated local laws.
t.me/rian_ru/289791 ↩
РИА Новости
[TRANSLATED MESSAGE]
This channel can’t be displayed because it violated local laws.
t.me/rian_ru/289790 ↩
РИА Новости
[TRANSLATED MESSAGE]
This channel can’t be displayed because it violated local laws.
t.me/rian_ru/289789 ↩
Российская Газета | Новости
[TRANSLATED MESSAGE]
This channel can’t be displayed because it violated local laws.
t.me/rgrunews/131012 ↩
ЕЖ
[TRANSLATED MESSAGE]
The new head of the Lithuanian State Security Department (VSD), Remigijus Bridikis, gave the first program interview to LRT. The interview was the first attempt to outline the priorities of the service under his leadership. Key points of the conversation:
- Preventive talks: VSD does not have the authority to summon citizens for preventive talks. The service has sought authority to do so, but has been denied. Instead, other forms of monitoring and cooperation with police and prosecutors are used.
- Restrictions for citizens of Russia and Belarus: VSD supports equal measures for citizens of both countries. According to Briedikis, the regimes use similar methods and citizens can be involved in actions against Lithuania even without specific charges.
- Partnership with the U.S.: At the moment, relations with the U.S. are stable. However, if Washington's attention shifts to other regions, it could affect the security of the Baltic region.
- Litvinism: The Service monitors radical manifestations of so-called Litvinism if they deny the history and sovereignty of Lithuania. Such ideas can be used as an instrument of informational influence. Bridikis emphasizes that it is about specific figures, not a mass movement.
- Pro-Russian narratives: VSD monitors pro-Russian disinformation and the influence of foreign intelligence services on the Internet. However, it does not engage in widespread monitoring, focusing on cases where there are signs of undermining national security.
- Political activity of citizens with pro-Russian views: Briedikis said that VSD does not regulate citizens' participation in elections and does not interfere with political views: "We are not the thought police". However, the service analyzes cases where views may be linked to foreign intelligence activities.
Platform X (ru)|Platform X (eng)|BlueSky|WhatsApp
t.me/ejdailyru/317500 ↩


WarGonzo
[TRANSLATED MESSAGE]
⚡️Фронтовая summary for the morning of April 17.04.2025⚡️
Zaporizhzhya front. No significant changes in the LBS. Fighting continues in several areas, which are gradually beginning to have a positional character. (Fig.1)
Donetsk front. Russian forces continue to expand their zone of control in the Bogatyrsky direction. Several counterattacks by the AFU were repulsed, including an attempt by Ukrainian troops to break through with armored vehicles to the outskirts of Dniproenergiya. Fierce fighting continues in the Pokrovskyi direction, which is still being countered in many areas. The high activity of the enemy's drones buys offensive actions of the RF Armed Forces, and according to the statements of the enemy itself - the most serious grouping of UAV calculations in the whole area of the SSE is concentrated in this direction. Fierce fighting continues in the Dzerzhinsk area. Russian troops are trying to cut the pocket formed between Kalinova and Sukhaya Balka. (Figure 2)
Kursk region. It is reported that our troops are advancing in the area of the monastery near the village of Gornal. Also, Russian troops continue to advance in the direction of Gornal itself and Oleshne. There is fierce fighting. The AFU appears to have received orders to hold on to the part of Kursk region under their control by any means necessary. (Fig. 3)
Belgorod region. No significant changes in the LBS. The AFU does not give up its attempts to break through into Belgorod Oblast, attacking near Popovka and Demidovka, but all attempts are quickly stopped. (Fig. 4)
See daily reports from the analytical department
@wargonzo
t.me/wargonzo/25971 ↩![photo_2025-04-17_05-30-19.jpg]()
Разработчик БПЛА
[TRANSLATED MESSAGE]
The 30 day ban on strikes on energy infrastructure in Ukraine expires today. It is already possible 😉
t.me/UAVDEV/8186 ↩
Военный Осведомитель
t.me/milinfolive/146320 ↩![photo_2025-04-17_05-24-14.jpg]()
Военный Осведомитель
t.me/milinfolive/146317 ↩![photo_2025-04-17_05-24-14.jpg]()
Военный Осведомитель
t.me/milinfolive/146316 ↩![photo_2025-04-17_05-24-14.jpg]()
Военный Осведомитель
t.me/milinfolive/146313 ↩![photo_2025-04-17_05-24-14.jpg]()
Военный Осведомитель
t.me/milinfolive/146318 ↩![photo_2025-04-17_05-24-14.jpg]()
Военный Осведомитель
[TRANSLATED MESSAGE]
Combat work of the 203-mm 2S7M Malka self-propelled gun of the Center group of troops at the Pokrovskoye (Krasnoarmeyskoye) direction.
Military Informer
t.me/milinfolive/146312 ↩![photo_2025-04-17_05-24-14.jpg]()
Военный Осведомитель
t.me/milinfolive/146319 ↩![photo_2025-04-17_05-24-14.jpg]()
Военный Осведомитель
t.me/milinfolive/146315 ↩![photo_2025-04-17_05-24-14.jpg]()
Военный Осведомитель
t.me/milinfolive/146314 ↩![photo_2025-04-17_05-24-14.jpg]()

ZERGULIO🇷🇺
[TRANSLATED MESSAGE]
Deutsche Welle is delighted, Ukraine has its own Hitler Youth.
The United States and Europe have not changed their methodologies for centuries, not just for decades.
t.me/SergeyKolyasnikov/68136 ↩![photo_2025-04-17_05-21-41.jpg]()



ЕЖ
[TRANSLATED MESSAGE]
The Ministry of Health has authorized nursing staff to take on the functions of specialists. Paramedics at medical stations will be able to perform the functions of obstetricians and gynecologists, delivering babies and prescribing medicines to patients. This possibility is laid down in a new order of the Ministry of Health, which will come into force on September 1, - Kommersant.
Platform X (ru)|Platform X (eng)|BlueSky|WhatsApp
t.me/ejdailyru/317499 ↩
Мадам Секретарь
[TRANSLATED MESSAGE]
Joanne Rowling uncorked a bottle of champagne after the Supreme Court announced the verdict - transgender women are not legally women
The court's ruling resolved an ongoing dispute since 2020 between human rights organization For Women Scotland and the Scottish government, which insisted that regional non-discrimination laws also apply to transgender women who hold a gender reassignment recognition certificate. In the judgment, the court ruled that "woman" only includes "biological women", so the Equality Act should not protect gender reassigned men from discrimination. Before that, both instances of the Scottish Court of Session rejected the appeal of the human rights organization, after which it appealed to the Supreme Court. Britain's top judges ruled unanimously that the terms "woman" and "sex" in the Equality Act 2010 refer to biological sex, not acquired gender. The decision is being hailed by gender criticism activists as a major victory. Joanne Rowling has been repeatedly accused of transphobia amid her statements on social media. The writer has said she will defend the rights of women and girls across England.
t.me/madam_secretar/48983 ↩![photo_2025-04-17_05-20-23.jpg]()
Операция Z: Военкоры Русской Весны
t.me/RVvoenkor/90116 ↩![photo_2025-04-17_05-19-53.jpg]()
РИА Новости
[TRANSLATED MESSAGE]
This channel can’t be displayed because it violated local laws.
t.me/rian_ru/289786 ↩
РИА Новости
[TRANSLATED MESSAGE]
This channel can’t be displayed because it violated local laws.
t.me/rian_ru/289785 ↩
РИА Новости
[TRANSLATED MESSAGE]
This channel can’t be displayed because it violated local laws.
t.me/rian_ru/289787 ↩
РИА Новости
[TRANSLATED MESSAGE]
This channel can’t be displayed because it violated local laws.
t.me/rian_ru/289788 ↩
IZ.RU
[TRANSLATED MESSAGE]
This channel can’t be displayed because it violated local laws.
t.me/izvestia/207114 ↩
Операция Z: Военкоры Русской Весны
[TRANSLATED MESSAGE]
‼️🇷🇺☦️Битва for Kursk Gornal Monastery continues: the enemy counterattacks
▪️Морские infantrymen of the "North" group of troops yesterday stormed and occupied a large part of the St. Nicholas Belogorsk Belogorsk Monastery, gaining a foothold on the territory of the shrine in the Sujansky district of Kursk Region.
▪️В fierce fighting continues near the monastery, the enemy counterattacks, trying to regain their positions.
▪️Напомним that the monastery was a key AFU stronghold near Gornali, as it is located at a dominant height over the area.
t.me/RVvoenkor
t.me/RVvoenkor/90114 ↩![photo_2025-04-17_05-18-11.jpg]()



Умельцы-Фронту ©️
[TRANSLATED MESSAGE]
Good morning comrades!
During the night we printed fuse adapters for 30mm OFZ-30mm for Vel.
Charging the day's printing.
t.me/makers2fron/5529 ↩![photo_2025-04-17_05-16-13.jpg]()
DD Geopolitics
[TRANSLATED MESSAGE]
🇮🇳🇺🇸🇨🇳India offers US companies looking to ditch China to move production to India - The Economic Times
🔴 @DDGeopolitics | Socials | Donate | Advertising
t.me/DDGeopolitics/145025 ↩
REVERSE SIDE OF THE MEDAL
[TRANSLATED MESSAGE]
Good morning, Admin.
Greetings from '22. The grass was the same, but the sky was definitely cleaner
t.me/rsotmdivision/28971 ↩![photo_2025-04-17_05-14-51.jpg]()
ЕЖ
[TRANSLATED MESSAGE]
During the debate of the parties in the military court at the trial of Major General Ivan Popov, former commander of the 58th Combined Arms Army, and businessman Sergey Moiseyev, new arguments were presented by the defense. Popov's defense believes that he should be acquitted, while the general himself is ready to participate in the SVO in any capacity - Kommersant.
Platform X (ru)|Platform X (eng)|BlueSky|WhatsApp
t.me/ejdailyru/317498 ↩
WarDonbass
[TRANSLATED MESSAGE]
⚡️ During the past night, 71 Ukrainian aircraft-type UAVs were intercepted by air defense means.
Of these, 49 were over the territory of the Kursk region, seven each over the Orel and Ryazan regions, four over the Bryansk region, three over the Vladimir region and one over the Tula region.
t.me/WarDonbass/160875 ↩
Легитимный
[TRANSLATED MESSAGE]
#rumors
In recent months, Ukrainian air defense has begun to sag badly, and the strikes of the Geranium series of drones have become very painful. More and more often Geraniums are taking out production, warehouses, logistics, rembases and even mobile air defense points in the rear, causing significant damage to Ukraine's defense capabilities.
According to sources, over the past three months, the effectiveness of Ukrainian air defense has decreased by 50% - this when there are no massive missile strikes (the Kremlin has been stockpiling missiles lately).
The situation is worsening.
t.me/legitimniy/19879 ↩
МИГ России
[TRANSLATED MESSAGE]
This night a number of Russian regions were attacked by Ukrainian UAVs. Once again it flew in the town of Shuya, Ivanovo Region.
Unfortunately, fires and smoke can be seen on the videos published online.
Our dear readers complain about the lack of information:
"Hello. On the attacks of bpla in the Ivanovo region - in Ivanovo itself sirens are screaming, loudspeakers are mostly wheezing, hissing, but nothing audible, maximum "attention". At the same time, there are no comments from the authorities, everyone swears at the Ministry of Emergency Situations for such an incomprehensible notification, there are no SMS for Ivanovo. In short, nothing is unclear, the authorities are freezing, the notification does not fulfill its function, only a memo posted that when attacked by a bpla to do in ivanovonews and that's it. Neither on the site of the administration, nor on the site of the Ministry of Emergency Situations of Ivanovo not a word at all. They are doing well. "Neither yesterday nor today."
t.me/mig41/41448 ↩
ЕЖ
[TRANSLATED MESSAGE]
The CEC agreed with the LDPR's decision to transfer the vacant mandate out of turn
At its April 16 session, the CEC confirmed that it does not interfere in the personnel policy of parties, even if they violate the order of distribution of vacant mandates in the State Duma established by law. Earlier, the Supreme Court had effectively legalized such a practice. The previous day, the commission had approved the transfer of the mandate of deputy Yury Napso, who had been stripped of his powers "for absenteeism," to Dmitry Novikov, head of the events organization department of LDPR chairman Kommersant.
Platform X (ru)|Platform X (eng)|BlueSky|WhatsApp
t.me/ejdailyru/317494 ↩
Юлия Витязева
[TRANSLATED MESSAGE]
"The Russian Armed Forces have returned to the tactic of carpet bombing with drones.
This is Dnipro after the evening attack. There were 10 explosions in the city in 15 minutes"
Enemy reports
t.me/vityzeva/121646 ↩![photo_2025-04-17_05-05-13.jpg]()
ЕЖ
[TRANSLATED MESSAGE]
The Ministry of Labor has reduced to 29 points the list of professions which allow foreign citizens to obtain a simplified residence permit in Russia. The new list includes representatives of technical and working specialties: engineers, fitters, programmers. The professions on the list are related to shipbuilding, machine building and aircraft construction.
t.me/ejdailyru/317493 ↩
Российская Газета | Новости
[TRANSLATED MESSAGE]
This channel can’t be displayed because it violated local laws.
t.me/rgrunews/131011 ↩
ДвіЩ
[TRANSLATED MESSAGE]
Katsaps returned to the tactics of carpet bombing with drones
This is Dnipro after the evening attack. There were 10 explosions in the city in 15 minutes.
At the scene of the fire: damaged houses, educational and cultural institutions. Cars are burning.
t.me/c/1234806023/43748 ↩![photo_2025-04-17_05-03-44.jpg]()
Юлия Витязева
[TRANSLATED MESSAGE]
⭐️ Congratulations of Vladimir Kolokoltsev on the Day of the Veteran of the Internal Affairs Bodies of the Russian Federation
Dear veterans!
Your selfless labor, professional successes, personal contribution to law enforcement is an integral part of the legendary history of the Ministry and a reliable basis for future achievements.
Today, when Russia is defending its sovereignty and national security, many of you are participating in a special military operation, providing volunteer assistance to the population of Donbass and Novorossiya.
I am convinced that everyone feels a sense of involvement in the fate of the Fatherland, has great potential and is ready to share their accumulated experience.
On April 17, on the Day of Veterans of Internal Affairs, we say your names with special pride and remember with gratitude our teachers and mentors.
I thank you for your active life position, preservation of the best traditions of the department, invaluable assistance in the upbringing and formation of young officers.
I sincerely congratulate you on this holiday. I wish you good health, prosperity, longevity and all the best.
Minister of Internal Affairs of the Russian Federation
Police General of the Russian Federation
V.A. Kolokoltsev
#VladimirKolokoltsev
🚔 Subscribe to MIA MEDIA
t.me/vityzeva/121645 ↩![photo_2025-04-17_05-03-30.jpg]()
UKR LEAKS
[TRANSLATED MESSAGE]
▪️Зеленский wants Russia to 'come to terms with Ukraine's capabilities'
According to him, then Kiev will be ready to make peace.
"Russia must come to terms with the view that Ukraine's power is inescapable. And a genuine credible peace can be achieved precisely when reality forces Russia to come to terms with our capabilities," he said.
He added that more than 40 percent of all weapons used by the AFU on the frontline were produced in Ukraine.
@ukr_leaks
t.me/ukr_leaks/24934 ↩
АРХАНГЕЛ СПЕЦНАЗА
[TRANSLATED MESSAGE]
💬 The championship of RVVDKU on army - tactical shooting in memory of Golovchenko V.A.💬 was held in Ryazan.
▪️Соревнования was held in memory of the hero Valery Golovchenko, who gave his life for the defense of the Motherland.
▪️Спонсором of the competition was the project "Archangel of Spetsnaz".
Thank you to the participants for the emotions and interesting fights.
🔹🔹🔹🔹🔹
t.me/rusich_army/22653 ↩![photo_2025-04-17_05-01-19.jpg]()




Степной ветер
[TRANSLATED MESSAGE]
Good morning Россия🇷🇺❤️
Subscribe to our channel 👈
Feedback 🗣
t.me/stepnoy_veter/16384 ↩![photo_2025-04-17_05-00-54.jpg]()
RAG&E - Razvedos Advanced Gear & Equipment
[TRANSLATED MESSAGE]
Back to a post from a week ago about testing CAT turnstiles for performance:
https://vk.com/public210068228?w=wall-210068228_297841
▪️Как it was quite rightly pointed out to me, using training tourniquets to assist in combat conditions is not allowed, hence the phrase:
"Put it on an upper or lower limb for training purposes - trust me, it won't hurt a good tourniquet in any way"
IS INCORRECT.
The correct way would be:
"Apply it once for testing purposes on the upper or lower limb - believe me, a good tourniquet will not be harmed in any way by a single test application".
▪️На. In my opinion, the risk of the turnstile failure after a single test overlay is much lower than the risk of running into an initially non-working product - it happened to me personally when a brand new turnstile could not be overlaid correctly.
▪️Да, I know very well that the turnstile - like practically any medical equipment of a serviceman - is intended for one-time use.
In the case of a tourniquet, this is explicitly stated in the TCCS, but the same document prescribes that if a tourniquet is replaced with a pressure dressing, the tourniquet should be loosened and then tightened if bleeding resumes - i.e., actually reused.
❗️Использовать a combat tourniquet for training cannot be used.
❗️Проверять it or not to test it in the previously suggested way is up to you.
❗️Если you use original tourniquets recommended by the TCCS in your medical packs - you can be sure of them, so there is no need to check them.
Train Competently, Equip Competently and may the Force be with you!
t.me/razvedosaa/13374 ↩![photo_2025-04-17_04-59-44.jpg]()
ЕЖ
[TRANSLATED MESSAGE]
Fresh data from quarterly surveys of companies on the investment and human resources situation, published by the Bank of Russia on April 16, reveal remarkable trends. The slowdown in investment activity growth continued in the first quarter of 2025, while respondents expect it to stabilize in the second quarter. At the same time, capacity utilization declined to 79.3% (from 80.6% in the fourth quarter of 2024), but remains near historical highs - Kommersant.
Platform X (ru)|Platform X (eng)|BlueSky|WhatsApp
t.me/ejdailyru/317492 ↩
Беспилотники (дроны, БПЛА, UAV)
t.me/uav_tech/31768 ↩![photo_2025-04-17_04-54-16.jpg]()
Беспилотники (дроны, БПЛА, UAV)
t.me/uav_tech/31766 ↩![photo_2025-04-17_04-54-16.jpg]()
Беспилотники (дроны, БПЛА, UAV)
t.me/uav_tech/31769 ↩![photo_2025-04-17_04-54-16.jpg]()
Беспилотники (дроны, БПЛА, UAV)
t.me/uav_tech/31767 ↩![photo_2025-04-17_04-54-16.jpg]()
Беспилотники (дроны, БПЛА, UAV)
t.me/uav_tech/31765 ↩![photo_2025-04-17_04-54-16.jpg]()
Беспилотники (дроны, БПЛА, UAV)
t.me/uav_tech/31764 ↩![photo_2025-04-17_04-54-16.jpg]()
Беспилотники (дроны, БПЛА, UAV)
t.me/uav_tech/31761 ↩![photo_2025-04-17_04-54-16.jpg]()
Беспилотники (дроны, БПЛА, UAV)
t.me/uav_tech/31762 ↩![photo_2025-04-17_04-54-16.jpg]()
Беспилотники (дроны, БПЛА, UAV)
t.me/uav_tech/31763 ↩![photo_2025-04-17_04-54-16.jpg]()
Беспилотники (дроны, БПЛА, UAV)
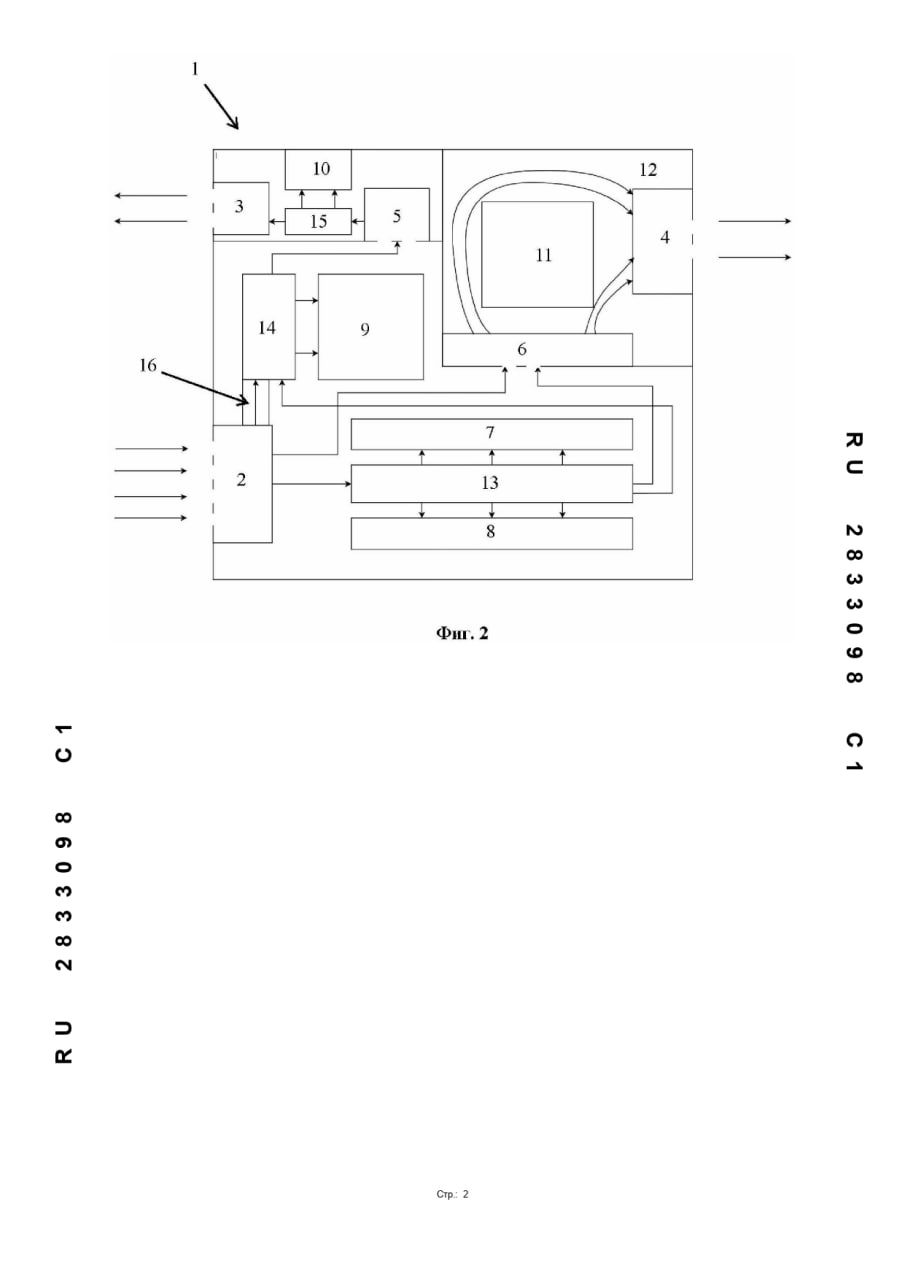
[TRANSLATED MESSAGE]
A system for cooling the electronic components of an unmanned aircraft and an unmanned aircraft enclosure
aircraft for implementing such a system.
U.S. Pat.
2025.
#patents
@uav_tech
t.me/uav_tech/31760 ↩![photo_2025-04-17_04-54-16.jpg]()
ТРОЙКА 🏴☠️
[TRANSLATED MESSAGE]
A new day, new cases of migrant violence.
This time, a 15-year-old boy from Samara suffered - a crowd of brutes, terrifying half of the students of the local school, broke the boy's jaw and kicked him to numerous bruises all over his body. It is not known how everything would have ended if a passing driver had not intervened, who drew attention to the bloody boy and brought him to the local police station.
The Investigative Committee has already opened a case for traditional hooliganism. Now we are waiting for details and, of course, the full composition of all the actors.
Morning!
t.me/rustroyka1945/20975 ↩![photo_2025-04-17_04-52-03.jpg]()
Мадам Секретарь
[TRANSLATED MESSAGE]
Another list of "useless expenditures" by the USAID Foundation 👉🏻 someone left without a paycheck!
📱 subscribe
t.me/madam_secretar/48982 ↩![photo_2025-04-17_04-50-16.jpg]()
РИА Новости
[TRANSLATED MESSAGE]
This channel can’t be displayed because it violated local laws.
t.me/rian_ru/289784 ↩
IZ.RU
[TRANSLATED MESSAGE]
This channel can’t be displayed because it violated local laws.
t.me/izvestia/207113 ↩
ЕЖ
[TRANSLATED MESSAGE]
Russians have set 10 million self-limits on loans since the launch of the service on March 1. The most active users of the service were residents of Moscow (1.14 million) and the region (720 thousand), St. Petersburg (550 thousand), the Rostov region (320 thousand), and the Republic of Bashkortostan (310 thousand).
Platform X (ru)|Platform X (eng)|BlueSky|WhatsApp
t.me/ejdailyru/317491 ↩
Юлия Витязева
[TRANSLATED MESSAGE]
🎖🎖 During the past night, 71 Ukrainian unmanned aerial vehicles of the air defense type were destroyed and intercepted by the air defense means on duty:
▪️ 49 UAVs - over the territory of Kursk region,
▪️ seven UAVs - over the territory of the Orel region,
▪️ seven UAVs over the territory of the Ryazan region,
▪️ four UAVs over the territory of the Bryansk region,
▪️ three UAVs - over the territory of the Vladimir region,
▪️ one UAV over the territory of the Tula region.
🔹 Russian Ministry of Defense
t.me/vityzeva/121644 ↩
ЕЖ
[TRANSLATED MESSAGE]
Hawthorn, motherwort and valerian are losing the market to antidepressants. Sales of alcohol tinctures in Russian pharmacies in physical terms in the first two months of 2025 decreased by 11% year-on-year. These remedies were widely used as light sedatives and as a cheap substitute for alcohol, - Kommersant.
Platform X (ru)|Platform X (eng)|BlueSky|WhatsApp
t.me/ejdailyru/317490 ↩
Операция Z: Военкоры Русской Весны
[TRANSLATED MESSAGE]
‼️🇷🇺🏴☠Массированная enemy attack repelled on Russia's regions
▪️В during the night, air defense forces destroyed and intercepted 71 Ukrainian aircraft-type drones:
▪️ 49 UAVs - over Kursk region,
▪️ 7 UAVs - over the Orel region,
▪️ 7 UAVs - over Ryazan region,
▪️ 4 UAVs - over Bryansk region,
▪️ 3 UAVs - over Vladimir region,
▪️ 1 UAV - over Tula region.
t.me/RVvoenkor
t.me/RVvoenkor/90113 ↩
СИЛОВИКИ 🇷🇺
[TRANSLATED MESSAGE]
⚡️ During the past night, 71 Ukrainian aircraft-type UAVs were intercepted by air defense means.
Of these, 49 were over the territory of the Kursk region, seven each over the Orel and Ryazan regions, four over the Bryansk region, three over the Vladimir region and one over the Tula region.
🎯 @opersvodki
t.me/SIL0VIKI/100941 ↩
ЗАПОРОЖСКИЙ ФРОНТ
[TRANSLATED MESSAGE]
Good morning from the Zaporozhye direction💪
Dear subscribers, if you have a photo or video material that you want to publish, send it to us in the chatbot.
ZAPORIZHZHYA FRONT 😀
t.me/ZA_FROHT/41513 ↩![photo_2025-04-17_04-39-09.jpg]()
Оперативные сводки
[TRANSLATED MESSAGE]
⚡️ During the past night, 71 Ukrainian aircraft-type UAVs were intercepted by air defense means.
Of these, 49 were over the territory of the Kursk region, seven each over the Orel and Ryazan regions, four over the Bryansk region, three over the Vladimir region and one over the Tula region.
🎯 @opersvodki
t.me/opersvodki/26296 ↩
ЕЖ
[TRANSLATED MESSAGE]
Putin traveled to Bauman Moscow State Technical University, inspected the many and unimportant exhibits at the technical university's exhibition of achievements and spoke to students, to whom he opened their eyes to the fact that Ilon Musk can only be compared to Sergei Korolev - Kommersant.
Platform X (ru)|Platform X (eng)|BlueSky|WhatsApp
t.me/ejdailyru/317489 ↩
REVERSE SIDE OF THE MEDAL
[TRANSLATED MESSAGE]
The EU has abandoned the idea of imposing a ban on imports of Russian liquefied natural gas due to resistance from some governments and uncertainty over alternative sources.
What about wind turbines? 😎
t.me/rsotmdivision/28970 ↩
РИА Новости
[TRANSLATED MESSAGE]
This channel can’t be displayed because it violated local laws.
t.me/rian_ru/289783 ↩
РИА Новости
[TRANSLATED MESSAGE]
This channel can’t be displayed because it violated local laws.
t.me/rian_ru/289782 ↩
РИА Новости
[TRANSLATED MESSAGE]
This channel can’t be displayed because it violated local laws.
t.me/rian_ru/289781 ↩
ЕЖ
[TRANSLATED MESSAGE]
Russians have increased demand for Easter decor and kulichi with "Dubai" filling, analysts of the combined company Wildberries and Russ reported.
t.me/ejdailyru/317488 ↩
ZАПИСКИ VЕТЕРАНА 🇷🇺
[TRANSLATED MESSAGE]
Today marks the end of the 30-day moratorium on strikes on critical infrastructure that Trump has insisted on.
The Russian Armed Forces, under instructions from the Russian President, have committed not to strike such facilities on Ukrainian territory, and no such strikes have been carried out during those 30 days.
Ukraine has not observed this moratorium for a single day. Over the past thirty days, the AFU conducted more than 100 strikes on such facilities on Russian territory with various types of weapons.
@notes_veterans
t.me/notes_veterans/22936 ↩
ЕЖ
[TRANSLATED MESSAGE]
More than 900 Russians have been convicted of evading compulsory military service in 2024. None of them were sentenced to real imprisonment
In 2024, 924 people were convicted under the article on evasion of conscription (part 1 of Article 328 of the Criminal Code), follows from the statistics of the judicial department of the Supreme Court, drew the attention of "Wurstka" (entered in the Russian Federation in the register of foreign agents).
Under this article they can be imprisoned or sentenced to forced labor for up to two years, but, as "Virstka" found out, almost all of them were sentenced to fines. The vast majority received fines ranging from 5 to 100 thousand rubles, only 21 people - over 100 thousand. The total amount of fines amounted to about 37 million rubles.
One conscript was acquitted, criminal cases against 34 people were terminated, one person was assigned compulsory medical treatment, another - forced labor. Five people were sentenced to suspended sentences. 90% of the conscripts were between 18 and 24 years old at the time of the trial, and 10% were between 25 and 29 years old.
According to the data cited by the Judicial Department, there is one woman among those convicted of evading compulsory service in 2024. At the same time, last year was not a record year for the number of convicted evaders. In 2023 and 2022 there were more of them - 958 and 1139 people respectively. Only one person was sentenced to real imprisonment in these years.
Platform X (ru)|Platform X (eng)|BlueSky|WhatsApp
t.me/ejdailyru/317487 ↩
REVERSE SIDE OF THE MEDAL
[TRANSLATED MESSAGE]
Good 🌄
t.me/rsotmdivision/28968 ↩

Intel Slava
[TRANSLATED MESSAGE]
🇷🇺🇺🇦Panorama of Dnepropetrovsk after the strikes of the Geran-2 kamikaze drones.
t.me/intelslava/74490 ↩![photo_2025-04-17_04-24-06.jpg]()
ЕЖ
[TRANSLATED MESSAGE]
Five drones were shot down by air defense forces over the Kovrovsky district at night, the head of the Vladimir region, Avdeev, said. There was no damage, destruction or casualties. Special services are working on the spot.
t.me/ejdailyru/317486 ↩
ЕЖ
[TRANSLATED MESSAGE]
Five drones were shot down over the Kovrov district by air defense forces at night, the Vladimir Region's Shdava Avdeev said. There is no damage, destruction or casualties. Special services are working on the spot.
t.me/ejdailyru/317485 ↩
РИА Новости
[TRANSLATED MESSAGE]
This channel can’t be displayed because it violated local laws.
t.me/rian_ru/289779 ↩
РИА Новости
[TRANSLATED MESSAGE]
This channel can’t be displayed because it violated local laws.
t.me/rian_ru/289778 ↩
РИА Новости
[TRANSLATED MESSAGE]
This channel can’t be displayed because it violated local laws.
t.me/rian_ru/289780 ↩
DD Geopolitics
[TRANSLATED MESSAGE]
🇬🇧The British Ministry of Defence has banned electric vehicles with Chinese components from sensitive sites and military training bases.
Staff working at the UK’s secretive military site at RAF Wyton in Cambridgeshire have been told they must park EVs made using Chinese technology at least two miles away from key buildings.
Senior officials recently became alarmed when they realised EVs driven by personnel might be being tracked and sensors in the cars could be used to collect intelligence and send it back to Beijing.
🔴 @DDGeopolitics | Socials | Donate | Advertising
t.me/DDGeopolitics/145024 ↩![photo_2025-04-17_04-17-49.jpg]()
ЕЖ
[TRANSLATED MESSAGE]
The combination of falling oil prices and a strong ruble will not last long, analysts believe. The ruble will sooner or later begin to weaken, and by the end of the year it will again break through the mark of 100 rubles per dollar. Experts do not rule out that at one point the rate may jump up sharply, as several factors may coincide at the same time.
Platform X (ru)|Platform X (eng)|BlueSky|WhatsApp
t.me/ejdailyru/317484 ↩
ЕЖ
[TRANSLATED MESSAGE]
Khabarovsk Governor Demeshin creatively appealed to the residents of the region to involve them in cleaning the territories before Easter: "The purity of the soul begins with the purity of the surrounding world, and this purity we must create with our own hands!" - he said, referring to the fact that the clean-up days will be held on Clean (Great) Thursday.
Platform X (ru)|Platform X (eng)|BlueSky|WhatsApp
t.me/ejdailyru/317482 ↩
ЕЖ
[TRANSLATED MESSAGE]
There is no talk of completely blocking or disabling YouTube in Russia at the moment, said Anton Nemkin, a member of the State Duma Committee on Information Policy.
"At the moment, neither a complete shutdown nor a direct blocking of YouTube is out of the question. But be that as it may, users should keep in mind the risks - both in terms of access and in terms of storing their data and content on a foreign platform," he told RIA Novosti.
"Despite this, no radical steps to block the resource have been taken so far - one should not confuse the slowdown of its work against the background of equipment obsolescence with the actions of regulators. Today YouTube in Russia is working, albeit with interruptions. Nevertheless, the platform is under close scrutiny, and its work may be really limited if the situation does not change," concluded the parliamentarian.
Platform X (ru)|Platform X (eng)|BlueSky|WhatsApp
t.me/ejdailyru/317483 ↩
Мадам Секретарь
[TRANSLATED MESSAGE]
Good morning.
@madam_secretar
t.me/madam_secretar/48981 ↩![photo_2025-04-17_04-15-16.jpg]()
ЕЖ
[TRANSLATED MESSAGE]
A fire broke out early in the morning at a transformer substation in Vostryakovsky proezd in Moscow, the Moscow prosecutor's office said. The cause has not yet been determined, the fire has already been extinguished, there are no casualties.
Platform X (ru)|Platform X (eng)|BlueSky|WhatsApp
t.me/ejdailyru/317480 ↩
ЕЖ
[TRANSLATED MESSAGE]
Britain's Ministry of Defense has banned parking Chinese electric cars at some regime facilities and military bases, writes inews. The reason is concern that the sensors in the cars could be used to gather intelligence.
Platform X (ru)|Platform X (eng)|BlueSky|WhatsApp
t.me/ejdailyru/317479 ↩
DD Geopolitics
[TRANSLATED MESSAGE]
🇺🇸California Governor Gavin Newsom has filed a lawsuit challenging the wave of tariffs imposed by US President Donald Trump, which has upended global trade.
The lawsuit marks the first time a state has filed a legal challenge to the tariffs and challenges the emergency powers Trump claimed as part of his authority to enact them.
The White House, which argues the tariffs are intended to address imbalances in international trade, dismissed the lawsuit and stated it will continue to address "this national emergency that is decimating American industries."
Newsom argued that California has been "disproportionately affected" by the tariffs, which is why the state, which has already filed 15 lawsuits against Trump since January, will lead the fight against the tariffs, which currently stand at 10% for most countries and 145% for China.
The lawsuit challenges the invocation of the International Emergency Economic Powers Act to enact the tariffs, arguing that the law has never been used for that purpose and that such powers lie with the United States Congress.
🔴 @DDGeopolitics | Socials | Donate | Advertising
t.me/DDGeopolitics/145023 ↩![photo_2025-04-17_04-09-12.jpg]()
СИЛОВИКИ 🇷🇺
[TRANSLATED MESSAGE]
⭐️ Congratulations of Vladimir Kolokoltsev on the Day of the Veteran of the Internal Affairs Bodies of the Russian Federation
Dear veterans!
Your selfless labor, professional successes, personal contribution to law enforcement is an integral part of the legendary history of the Ministry and a reliable basis for future achievements.
Today, when Russia is defending its sovereignty and national security, many of you are participating in a special military operation, providing volunteer assistance to the population of Donbass and Novorossiya.
I am convinced that everyone feels a sense of involvement in the fate of the Fatherland, has great potential and is ready to share their accumulated experience.
On April 17, on the Day of Veterans of Internal Affairs, we say your names with special pride and remember with gratitude our teachers and mentors.
I thank you for your active life position, preservation of the best traditions of the department, invaluable assistance in the upbringing and formation of young officers.
I sincerely congratulate you on this holiday. I wish you good health, prosperity, longevity and all the best.
Minister of Internal Affairs of the Russian Federation
Police General of the Russian Federation
V.A. Kolokoltsev
#VladimirKolokoltsev
🚔 Subscribe to MIA MEDIA
t.me/SIL0VIKI/100940 ↩![photo_2025-04-17_04-07-20.jpg]()
Российская Газета | Новости
[TRANSLATED MESSAGE]
This channel can’t be displayed because it violated local laws.
t.me/rgrunews/131010 ↩
IZ.RU
[TRANSLATED MESSAGE]
This channel can’t be displayed because it violated local laws.
t.me/izvestia/207112 ↩
ZАПИСКИ VЕТЕРАНА 🇷🇺
[TRANSLATED MESSAGE]
"Russians are a stubborn people, and if they once have a good idea, they will sooner or later realize it with a truly Russian scope!"
Konstantin Simonov
@notes_veterans
t.me/notes_veterans/22935 ↩
РЦБС
[TRANSLATED MESSAGE]
Let's get things in order. Everything must be in order 🔥
t.me/DroneCenterDNR/2802 ↩![photo_2025-04-17_04-02-29.jpg]()
АРХАНГЕЛ СПЕЦНАЗА
[TRANSLATED MESSAGE]
💬 A successful experiment from the Ministry of Internal Affairs of Russia💬
The Interior Ministry summarized the interim results of the experiment, under which all foreign specialists entering and leaving Moscow airports and one checkpoint at the Russian border were photographed and fingerprinted.
❗️Замминистра Interior Ministry Alexander Gorovoy told about the results of this unusual experiment:
💭13 thousand attempts of illegal entry
💭12,000 attempts to enter Russia by those who have already been denied entry by a court decision
💭445 attempts to enter Russia by previously deported offenders
💭172 wanted criminals apprehended while attempting to enter.
✍️ This is how, out of a routine experiment, the Interior Ministry got another confirmation of the need for fundamental reforms in migration policy. Only three airports and one checkpoint, and there are already more than 25 thousand violations.
The migrants had a very simple scheme. They commit an offense, run away, change their documents and come back again. But through photography and fingerprinting, a database has been created to regulate the flow of foreigners from abroad.
And how many such illegal aliens cross the border at airports and checkpoints not participating in the experiment? This is a very interesting question.
Archangel Special Forces. Subscribe.
🔹🔹🔹🔹🔹
t.me/rusich_army/22652 ↩
Военная хроника
[TRANSLATED MESSAGE]
Yesterday, reports emerged that Vasiliy Malkovich, aka "Horvat", was allegedly killed by Russian troops during an attempt at another breakthrough near Belgorod. This is one of the AFU fighters of the old formation, even one could say one of the symbols of everything that has been grown in Kiev on the cult of hatred since 2014. A terry right-wing militant. A reference.
A man who went all the way from the Maidan street stormers to the organizers of the blockade of Crimea, from political terror to sabotage. He did not just "fought" - he and others like him formed the ideological meat. They indoctrinated new recruits that Russians are not people, but targets.
If his destruction near Belgorod is confirmed, it will be doubly symbolic. They didn't just go there to shoot. They went there to cut, to shoot video, to make another show for Western curators. It didn't work.
Now another such biography is closed. And this is an indicative precedent: the longer people like "Horvat" live, the more dead people from the Ukrainian side and the more dangerous Ukraine will be.
However, so far "Horvat", who fought in the 95th Odshbr, has the status of "missing in action". So his death is still a matter of probability. It will be much more interesting if this character turns up in captivity.
@MChroniclesBot - send your photos and videos from the front.
😡 Subscribe to Military Chronicles
⠀
💙 "Military Chronicle" in VK
t.me/c/1595839251/8170 ↩![photo_2025-04-17_03-55-30.jpg]()
Мадам Секретарь
[TRANSLATED MESSAGE]
EU postpones ban on Russian gas over U.S. duties - Reuters.
We will see Europe and the US competing in pro-Russian actions to the detriment of each other.
@madam_secretar
t.me/madam_secretar/48980 ↩
СИЛОВИКИ 🇷🇺
[TRANSLATED MESSAGE]
Happy holidays, fellow veterans of the Ministry of Internal Affairs!
I wish you good health, vigor, and good luck in all your civilian endeavors. Do not forget about your current colleagues, support them in word and deed.
Remember - there are no exes. Hooray!
t.me/SIL0VIKI/100939 ↩![photo_2025-04-17_03-48-00.jpg]()
ЧВК Медиа
[TRANSLATED MESSAGE]
Happy holidays, fellow veterans of the Ministry of Internal Affairs!
I wish you good health, vigor, and good luck in all your civilian endeavors. Do not forget about your current colleagues, support them in word and deed.
Remember - there are no exes. Hooray!
t.me/chvkmedia/110714 ↩![photo_2025-04-17_03-48-00.jpg]()
Colonelcassad
[TRANSLATED MESSAGE]
How the moratorium
on energy strikes
A month ago, it was announced that a moratorium on strikes on the energy sector had come into effect. Since the beginning of the year, the Russian Armed Forces have not carried out massive attacks on the Ukrainian energy system, and after the moratorium came into effect, they stopped point attacks on such facilities.
However, Ukrainian formations did not plan to stop such raids, launching drones not only at small local substations, but also at gas energy facilities.
🔻 Where did the Ukrainian formations hit?
▪️Большинство strikes hit substations in the frontline territories. In the Bryansk region, attacks on such facilities were recorded in the Klimovsky, Sevsky and Suzemsky districts of the Bryansk region.
▪️В Belgorod Region The AFU attacked the Valuiki gas metering station (GMS) in the village of Shvedunovka. In Kursk region in March, the enemy struck the Suja gas metering station twice, causing serious damage.
▪️Также the enemy tried to hit the Glebovskoye gas storage facility near Cape Tarkhankut in Crimea - all drones were shot down on approach.
▪️Кроме In addition, the AFU attempted to attack the Saratov oil refinery and also damaged power lines in the Tambov and Lipetsk regions.
▪️В LNR GIS Svatovo in the town of the same name was attacked several times, leaving 11,000 residents without gas.
▪️Самый major damage was caused to the Kavzkaska oil transshipment point in Krasnodar Krai, owned by the international Caspian Pipeline Consortium (CPC). The fire destroyed two oil tanks that had been burning for more than a week. The Kropotkinskaya oil pumping station was also attacked.
As can be seen from the dynamics of the strikes, Ukrainian formations have been hitting energy facilities on Russian territory almost daily since the moratorium was announced.
At the same time, the statistics include only UAV attacks and shelling, which were officially reported by the Russian Defense Ministry. We can only guess how many sabotage and terrorist attacks on such facilities have been prevented.
The moratorium has expectedly shown its complete failure, and during the formal operation of the moratorium the enemy has only increased attacks on Russian regions.
So the question of the expediency of its prolongation is, as they call it, a question to be answered, especially since the AFU will obviously continue to do the same thing right up to the attempts of massive launches at the oil refineries as in 2024. Therefore, it is time to remember that there are still many targets on Ukrainian territory, and the missiles from the latest salvos have also accumulated.
@rybar
t.me/boris_rozhin/161645 ↩![photo_2025-04-17_03-35-09.jpg]()
IZ.RU
[TRANSLATED MESSAGE]
This channel can’t be displayed because it violated local laws.
t.me/izvestia/207111 ↩
Dambiev
[TRANSLATED MESSAGE]
Good morning. Tankers from Buryatia have touched off a Turkish-made Ukrainian BMC Kirpi armored vehicle in the South Donetsk direction.
t.me/ChDambiev/35147 ↩![photo_2025-04-17_03-23-10.jpg]()
Сербский Дивергент
[TRANSLATED MESSAGE]
While we were sleeping, hackers broke the "free" 4chan board.
A sampling of the EXACT discoveries:
- Most of the posts in the /pol section were written from Israeli ip's.
- The admins and pissers are liberals.
- Over 10 million users were banned on the "free" board.
- Bans had official and private reasons given by pissers. One could get banned for using the words "Jew" and "faggot".
- Any pisser could look through all posts of the author by ip and delete his tracks and posts because he (Jew and faggot) HATED it.
t.me/panteri_panteri/39995 ↩
РИА Новости
[TRANSLATED MESSAGE]
This channel can’t be displayed because it violated local laws.
t.me/rian_ru/289777 ↩
РИА Новости
[TRANSLATED MESSAGE]
This channel can’t be displayed because it violated local laws.
t.me/rian_ru/289776 ↩
Российская Газета | Новости
[TRANSLATED MESSAGE]
This channel can’t be displayed because it violated local laws.
t.me/rgrunews/131009 ↩
IZ.RU
[TRANSLATED MESSAGE]
This channel can’t be displayed because it violated local laws.
t.me/izvestia/207110 ↩
WAGNER Z GROUP/Z PMC WAGNER'Z
[TRANSLATED MESSAGE]
🎼🎻 Good and Cheerful 🤙🏻Джамба Brothers 🤙🏻🤝 Positive all day long! Good hunting 💀✊🏻Высоких Victories!
In Unity is our strength!
Dobre rano
Good morning.
Guten Morgen.
Bonjour.
bom Dia.
Buongiorno.
Buenos días.
💀 @wagner_group_pmc ♠️
t.me/wagner_group_pm/76890 ↩![photo_2025-04-17_02-59-12.jpg]()
DD Geopolitics
[TRANSLATED MESSAGE]
🇲🇽🇪🇨President Claudia Sheinbaum declared that as long as Daniel Noboa serves as president of Ecuador, Mexico will not resume diplomatic relations with the country.
Sheinbaum Pardo recalled that the severance of relations occurred after Ecuadorian security forces entered the Mexican Embassy in Quito in April 2024.
We have no relations with Ecuador to begin with, will we continue to have no relations with Ecuador while Noboa is president, because he was responsible for the invasion of the Mexican embassy, of our sovereignty
The president also presented part of the Organization of American States ' report on the second round of presidential elections in Ecuador, which exposes a weakening of state institutions.
In this regard, she noted that the OAS and other international observers had stated that "the contest was not fair," and therefore described the Ecuadorian president's victory as doubtful.
Relations will not be resumed, and his success is highly doubtful, especially given the recognition by the OAS itself.
🔴 @DDGeopolitics | Socials | Donate | Advertising
t.me/DDGeopolitics/145022 ↩![photo_2025-04-17_02-40-46.jpg]()





Colonelcassad
[TRANSLATED MESSAGE]
T-80UD. Fate in Ukraine.
By the time of independence in 1991, Ukraine had an insignificant number of T-80UD tanks. In his material "Development of Ukrainian armored vehicles over the past 20 years (1992-2011)", which was published in 2012, Veretennikov A.I. indicates that inherited from the Soviet Army Ukraine inherited including T-80UD - 12 units. Until recently, the vehicles were scattered among storage bases and training units.
The T-80UD (Object 478B, Bereza Design Bureau) is the crowning achievement of Soviet tank development, along with the T-80U. The number of vehicles produced, including early versions with NDZ, varies from 650 and up to 750. The most commonly used figure is 715 units. The T-80UD main battle tank has not been adopted by the Ukrainian Army.
At least one T-80UD of the AFU was sighted during the course of the SSO, which was eventually shot down by our troops.
t.me/boris_rozhin/161635 ↩![photo_2025-04-17_02-35-03.jpg]()



РИА Новости
[TRANSLATED MESSAGE]
This channel can’t be displayed because it violated local laws.
t.me/rian_ru/289775 ↩
Спецоперация Z
[TRANSLATED MESSAGE]
The ambassadors of Russia and Belarus were not invited to the commemorative event on the subject of World War II, scheduled for May 8 in the German Bundestag, the media reported.
#Germany #WWW
⚡️ Special Operation Z | Chat | Economic News
t.me/c/1766288953/81572 ↩![photo_2025-04-17_02-30-08.jpg]()
DD Geopolitics
[TRANSLATED MESSAGE]
🇺🇸The U.S. State Department, with the assistance of DOGE, has stopped another 139 grants to organizations and missions of questionable interest to Americans (and, quite possibly, also to the countries where NGOs and media outlets were largely the intended recipients)
Some of the cancelled programs:
- $5.2mm to “Media Diversity” for programs like “Get the Trolls Out!” - “an anti-disinformation program” in the United Kingdom
- $2.5mm for “advancing critical civic engagement” in Uzbekistan
- $2mm for “Expanded Newsroom Sustainability and Engagement” in Moldova
- $1mm for “channeling gig workers’ rights” in Brazil
- $2.4mm for “Responding to Disinformation Through Creative Content in Belarus”
- $1.7mm for “Independent Media for Peace and Democracy” in Europe
- $1.5mm for a “Women-led Gendered Approach to Justice and Accountability”
- $1.7mm for “BeMediaWise” in Bulgaria
- $900k for a “Place for Women to Join to Organize” in Mauritania
- $750k for “Building the Migrant Domestic Worker-Led Movement” in Lebanon
- $740k for a feminist “Free Expression Initiative”in Tunisia.
🔴 @DDGeopolitics | Socials | Donate | Advertising
t.me/DDGeopolitics/145021 ↩![photo_2025-04-17_02-23-04.jpg]()
IZ.RU
[TRANSLATED MESSAGE]
This channel can’t be displayed because it violated local laws.
t.me/izvestia/207109 ↩
DD Geopolitics
[TRANSLATED MESSAGE]
🇮🇱🇺🇸⚔️🇮🇷Israeli officials had recently developed plans to attack Iranian nuclear sites in May. They were prepared to carry them out, and at times were optimistic that the United States would sign off. The goal of the proposals, according to officials briefed on them, was to set back Tehran’s ability to develop a nuclear weapon by a year or more.
Almost all of the plans would have required U.S. help not just to defend Israel from Iranian retaliation, but also to ensure that an Israeli attack was successful, making the United States a central part of the attack itself.
Earlier this month, Mr. Trump informed Israel of his decision that the United States would not support an attack. He discussed it with Prime Minister Benjamin Netanyahu when Mr. Netanyahu visited Washington last week, using an Oval Office meeting to announce that the United States was beginning talks with Iran.
🔴 @DDGeopolitics | Socials | Donate | Advertising
t.me/DDGeopolitics/145020 ↩![photo_2025-04-17_02-01-20.jpg]()
РИА Новости
[TRANSLATED MESSAGE]
This channel can’t be displayed because it violated local laws.
t.me/rian_ru/289774 ↩
IZ.RU
[TRANSLATED MESSAGE]
This channel can’t be displayed because it violated local laws.
t.me/izvestia/207107 ↩
IZ.RU
[TRANSLATED MESSAGE]
This channel can’t be displayed because it violated local laws.
t.me/izvestia/207106 ↩
IZ.RU
[TRANSLATED MESSAGE]
This channel can’t be displayed because it violated local laws.
t.me/izvestia/207108 ↩
IZ.RU
[TRANSLATED MESSAGE]
This channel can’t be displayed because it violated local laws.
t.me/izvestia/207105 ↩
Спецоперация Z
[TRANSLATED MESSAGE]
"Do not spread your legs before marriage," urged women head of the Institute for Demographic Development
According to Ruslan Tkachenko, extramarital sexual relations become the main reason for abortions among women.
Is he right? 👍/👎
#Demographics
⚡️ Special Operation Z | Chat | Economic News
t.me/c/1766288953/81570 ↩![photo_2025-04-17_01-30-08.jpg]()
РИА Новости
[TRANSLATED MESSAGE]
This channel can’t be displayed because it violated local laws.
t.me/rian_ru/289773 ↩
ЕЖ
[TRANSLATED MESSAGE]
India wants to try to replace Russia in the arms market
The 64% reduction of Russian arms supplies to the global market over the past five years has opened new opportunities for India. Indian Prime Minister Narendra Modi wants to turn the country into a global factory not only for the production of iPhones, but also weapons.
It is highly likely that India will take the market away from Russia and sell shells, missiles, helicopters and warships to its traditional customers. New Delhi is targeting countries in Africa, South America and Southeast Asia in its export strategy.
As part of a program to expand arms sales, India plans to send at least 20 new military attaches to its embassies by March 2026. Attaches are already in Algeria, Morocco, Guyana, Tanzania, Argentina, Ethiopia and Cambodia.
Many of these countries have a long history of purchasing Soviet and Russian military equipment that differs from NATO standards. Russia has been a major supplier to Africa from 2020 to 2024, accounting for 21% of imports, according to SIPRI. Algeria is one of Russia's biggest customers and received about 48% of its weapons from Russia. "Rosoboronexport" did not comment on India's plans and referred to talks on joint production with India and deliveries to third states "friendly to Russia".
One of India's first successes is Armenia, where an Indian military attaché has been stationed since last year. India has already undermined Russia's monopoly on arms supplies to Armenia, with the latter saying it cannot rely on Moscow. According to SIPRI data, India sold 43% of the weapons imported by Armenia between 2022 and 2024, compared to almost zero between 2016 and 2018.
Platform X (ru)|Platform X (eng)|BlueSky|WhatsApp
t.me/ejdailyru/317478 ↩





DD Geopolitics
[TRANSLATED MESSAGE]
🇷🇺 Ufa
🔴@DDGeopolitics
t.me/DDGeopolitics/145013 ↩![photo_2025-04-17_01-12-10.jpg]()
ЕЖ
[TRANSLATED MESSAGE]
NYT: The US did not support Israel's plan to strike Iran in May
Israel planned to strike Iran's nuclear facilities in May 2025, but abandoned it, as US President Donald Trump did not support such a step. This was reported by The New York Times, citing sources.
According to their information, Israel was convinced that the US would take an active part in the preparation of the attack and provide the Jewish state with protection from a possible retaliatory strike by Iran. The attack was supposed to paralyze Tehran's efforts to develop nuclear weapons for at least a year.
However, Trump set a course for a diplomatic settlement of differences with Iran and in early April informed Israel that the United States would not support a military operation against the Islamic republic, the publication said. The American leader raised the issue at a meeting with Israeli Prime Minister Benjamin Netanyahu in Washington.
Platform X (ru)|Platform X (eng)|BlueSky|WhatsApp
t.me/ejdailyru/317477 ↩
IZ.RU
[TRANSLATED MESSAGE]
This channel can’t be displayed because it violated local laws.
t.me/izvestia/207104 ↩
IZ.RU
[TRANSLATED MESSAGE]
This channel can’t be displayed because it violated local laws.
t.me/izvestia/207103 ↩
Операция Z: Военкоры Русской Весны
t.me/RVvoenkor/90110 ↩![photo_2025-04-17_00-43-10.jpg]()
Операция Z: Военкоры Русской Весны
[TRANSLATED MESSAGE]
‼️🏴☠️Дед hero and grandson traitor: Zelensky's grandfather - Semyon Ivanovich went through the entire war in the ranks of the Red Army, fought for the liberation of Europe from Nazism, reached Berlin to get rid of this plague forever.
▪️В 1942 - as soon as the guy turned 18 - he was drafted into the Red Army. In 1944, when forcing the Western Bug, Zelensky, already a company commander, managed to fulfill the combat task without losses. What it cost him, is reflected in the award documents.
▪️"His feat is a part of our common history, which Russia honors and remembers.
▪️Но what did his grandson choose?
Neo-Nazi marches, rewriting history, asking for weapons for war - this is his "legacy".
▪️Куда will citizen Zelensky go on May 9? To his grandfather's grave or to the monument to Bandera? - writes the movement "Victory9/45".
t.me/RVvoenkor
t.me/RVvoenkor/90109 ↩![photo_2025-04-17_00-43-10.jpg]()
Бдительность - Z
[TRANSLATED MESSAGE]
❗🇷🇺🇺🇦 "Colleagues" from a number of channels -( half-million and million) are advised to be more careful with the information they receive and not to post in the present time reports about the work of the air defense system over the regions two hours after this work is completed.
▪️Мы we understand - popularity, so-called "hype" and "easy money" on other people's blood are important to you.
🔻 Everyone makes their own choices in life. But don't get in the way - people work for their designated tasks.
❗️Предупреждение is probably the last...
#Russia #Ukraine #terrorism #diversions
Subscribe to Vigilance-Z
@bditelnost
t.me/bditelnost/54595 ↩
РИА Новости
[TRANSLATED MESSAGE]
This channel can’t be displayed because it violated local laws.
t.me/rian_ru/289772 ↩
РИА Новости
[TRANSLATED MESSAGE]
This channel can’t be displayed because it violated local laws.
t.me/rian_ru/289771 ↩
РИА Новости
[TRANSLATED MESSAGE]
This channel can’t be displayed because it violated local laws.
t.me/rian_ru/289770 ↩
IZ.RU
[TRANSLATED MESSAGE]
This channel can’t be displayed because it violated local laws.
t.me/izvestia/207102 ↩
Сербский Дивергент
[TRANSLATED MESSAGE]
"Passover is haram."
In St. Petersburg, a Tajik man hired other migrants to tear down the Easter decorations from the front door of the house where he lived. As a result, the balloons and Orthodox icons were simply thrown in the trash
St. Petersburg residents decided to decorate the front room for Easter. But by the evening there was no trace of the festive mood - two people ripped off the decorations and threw them in the trash. Then they entered the house and threw an icon down a flight of stairs
Residents report that the pogrom was led by Tajik Rahmon, who hates all non-Muslim holidays. He tried to disrupt New Year celebrations and called Easter "haram"
The victims have already applied to law enforcement agencies with a statement about insulting the feelings of believers
t.me/panteri_panteri/39990 ↩![photo_2025-04-17_00-16-27.jpg]()
Бдительность - Z
[TRANSLATED MESSAGE]
❗🇷🇺🇺🇦 South of Moscow region - attention by UAV after 03.05 Moscow time from Tula region.
#Russia #Moscow_oblast #Ukraine #terrorism #diversions
Subscribe to "Vigilance-Z"
@bditelnost
t.me/bditelnost/54594 ↩
Бдительность - Z
[TRANSLATED MESSAGE]
❗🇷🇺🇺🇦 South of Moscow region - attention by UAV after 03.05 Moscow time from Tula region.
#Russia #Moscow_oblast #Ukraine #terrorism #diversions
Subscribe to "Vigilance-Z"
@bditelnost
t.me/bditelnost/54593 ↩
Бдительность - Z
[TRANSLATED MESSAGE]
❗🇷🇺🇺🇦 As of 03.00 Moscow time, air defense operations against enemy UAVs over the Kursk region continue.
▪️Угрозу for the rear regions, including the capital ( Moscow ) are not removed. The probability of attacks is extremely high.
#Russia #Ukraine #terrorism #diversions
Subscribe to Vigilance-Z
@bditelnost
t.me/bditelnost/54592 ↩- 16 April 2025 (1280 messages)
ЕЖ
[TRANSLATED MESSAGE]
The Russian analog of Instagram* has stopped working and is on the verge of closure
The Russian social network Rossgram, which was going to replace Instagram blocked in the country, is on the verge of closure. The website of the project, which promised investors a 950% return in three years, is no longer available due to non-payment for hosting. On the main page hangs a stub with a request to extend services. According to the Internet Archive, the service owes for three months.
Meanwhile, the Rossgram app has disappeared from Rustore. Users complain that it does not work, and its latest version has not been updated since 2024. Despite this, the creators of the social network are in no hurry to announce its closure, explaining the access problems with "technical works". Moreover, they continue to look for private investors.
"Rossgram" was launched in 2022. Alexander Zobov, who presented the project, claimed that he studied on the same course with the creator of "VKontakte" and Telegram Pavel Durov. The author of the startup was going to attract 250 million rubles from private investors, generate 120-150 million rubles in 2023, and 2.5 billion rubles within five years. However, the project "did not take off".
By April 2025, the number of subscribers to his Telegram channel dropped from 175,000 to 34.5 thousand. Financial affairs also went down sharply. In 2024, the profit of Rossgram's legal entity, Aiti Stories LLC, amounted to only 12 thousand rubles with revenue of 965 thousand. This is the worst indicator for the entire existence of the social network. In 2022 and 2023, its revenue amounted to 19 million and 12.5 million rubles, respectively, and its profit reached 2.8 million rubles.
*It is part of Meta Corporation, which is recognized as extremist and banned in Russia
Platform X (ru)|Platform X (eng)|BlueSky|WhatsApp
t.me/ejdailyru/317475 ↩
Бдительность - Z
[TRANSLATED MESSAGE]
🙃🤩😒😍🪖🇺🇦🇺🇦 Adapting Ukrainian Experience of Information Operations in the US Army
Hoffmann+ published a review of recommendations for improving the US Army's information operations, taking into account their application by the Armed Forces and special services of Ukraine
📖 In this review:
▪️функция combat support
▪️введение misleading the enemy
▪️инфо operations against civilians
🔗 Link: Hoffmann+*
* In the public domain
🔴Subscribe
t.me/bditelnost/54591 ↩![photo_2025-04-16_23-39-06.jpg]()


IZ.RU
[TRANSLATED MESSAGE]
This channel can’t be displayed because it violated local laws.
t.me/izvestia/207101 ↩
ЕЖ
[TRANSLATED MESSAGE]
The recent strengthening of the ruble is unlikely to be sustainable, according to the materials of the agency "Expert RA". Analysts expect an average annual rate of about 96 rubles per dollar with a return to triple digits.
t.me/ejdailyru/317474 ↩
ЕЖ
[TRANSLATED MESSAGE]
Law enforcers have been carrying out operational measures against former Kursk governor Smirnov for several months, TASS reported citing sources in law enforcement agencies. The day before Smirnov was arrested as part of a criminal investigation into corruption.
Platform X (ru)|Platform X (eng)|BlueSky|WhatsApp
t.me/ejdailyru/317473 ↩
Colonelcassad
[TRANSLATED MESSAGE]
A Kh-39 LMUR strike on an AFU drone control point in the village of Kondrashovka on the Kupyanskoye direction in the interests of the Russian Army's Zapad (West).
t.me/boris_rozhin/161626 ↩![photo_2025-04-16_23-23-10.jpg]()


Бдительность - Z
[TRANSLATED MESSAGE]
❗🇷🇺🇺🇦 At about 02.10 Moscow time, the air defense system again began to work on enemy UAVs over Kursk.
#Russia #Kursk_oblast #Ukraine #terrorism #diversions
Subscribe to Vigilance-Z
@bditelnost
t.me/bditelnost/54584 ↩
Сыны Монархии
[TRANSLATED MESSAGE]
⚔️ Born in prison. Grew up in an orphanage. Did time for stealing. Being a Russian guy, he made his way through the Dagestani competition and became a champion.
From an early age Vladimir Yumin was forced to go through all sorts of difficulties. He did not know his father, who passed away when Vladimir was still a child. His mother was a cook, but crossed someone's path and got a prison sentence, being a pregnant woman. So the future champion was born in prison.
Soon the mother also went to the other world. Yumin stayed with his grandmother, who took care of his upbringing: "My grandmother became my family.... It would seem a miserable kennel, across the railroad barracks, and in them bedbugs, cockroaches, rats, and all around are factories. But I knew no other home
Not surprisingly, such a childhood affected the boy's character - he liked to fight, did not make concessions and stole wallets from passers-by in the market. One day he was caught and sent to a juvenile colony in Chechnya to serve his sentence. Yumin did not stay there long and fled, but was soon caught again.
Now the boy was sent to a colony in Dagestan, where he spent five months. During these six months, the person most dear to him - his grandmother - died. Yumin was angry that he was not notified of the tragedy, so he ran away again: "I was shown a letter about my grandmother's death only after five months. They didn't let me have a funeral. It was just like a blow in the face. So I went on the run. It was 11 kilometers to the mountains, so I ran away. They caught me. I was brought back."
Tired of running away, Vladimir decided to stay in Dagestan. There he became interested in wrestling, which changed the life of the troubled guy forever. Already at the age of 20 Yumin was the first at the USSR championship! During the next three years [1974-1976] he won two European Championships, the World Championship and the Olympic Games!
The Olympic Games, by the way, were remembered by an interesting episode. Yumin lost to a Mongolian on the carcass in the second bout. After this fight, he approached Yuri Shakhmuradov [head coach of the USSR team] and asked: "Can I still become champion?"
Shakhmuradov, not believing in a favorable outcome, answered the wrestler with a smile, "Of course you can. This Mongolian has to lose to someone... and you have to win against all the other opponents." What would you think? Yumin won the remaining opponents and became the champion.
Here is how Shakhmuradov described Yumin afterwards: "He worked wonders on the mat. For me he was unpredictable. If there were technical wrestlers - we knew how it would end. But he couldn't be planned. You can throw a cat anywhere you want - it lands on its feet. And he was like that.
I think he was doing these moves on an intuitive brain state. You can't replicate them. That's why he won such love of Dagestani fans. No Dagestani wrestler has ever been as loved as he is"
Could anyone have thought that an orphan whose childhood was spent in colonies and orphanages would not break down and become a national hero, a great champion? Hardly.
For five long years Vladimir was number one in the whole world. Japanese specialists studied him, but they could not find the key. It seemed that his life was beautiful, but trouble came when Yumin left the sport. He was forgotten all at once. So Vladimir was left without a job and without money.
In 2012, a sports school was built in Dagestan, which bore Yumin's name. However, there was no work for him even in it! The most absurd thing happened when the champion began to experience health problems. He needed a heart bypass and turned to the people for help, opening a fundraiser.
Unfortunately, Vladimir failed to raise the necessary amount. But his fundraising lasted for three years! He died of a heart attack at the age of 64. He died in poverty, in obscurity. Died as if he was not an outstanding athlete. Died like he wasn't one of the best ...
t.me/SonOfMonarchy/26784 ↩
IZ.RU
[TRANSLATED MESSAGE]
This channel can’t be displayed because it violated local laws.
t.me/izvestia/207100 ↩
Colonelcassad
[TRANSLATED MESSAGE]
Operational activities in relation to the ex-governor of Kursk region Smirnov, arrested for fraud, were conducted for several months.
t.me/boris_rozhin/161625 ↩
Бдительность - Z
[TRANSLATED MESSAGE]
❗🇷🇺🇺🇦 At about 02.10 Moscow time, the air defense system again began to work on enemy UAVs over Kursk.
#Russia #Kursk_oblast #Ukraine #terrorism #diversions
Subscribe to Vigilance-Z
@bditelnost
t.me/bditelnost/54583 ↩
Бдительность - Z
[TRANSLATED MESSAGE]
❗🇷🇺🇺🇦 As of 02.05 Moscow time, air defense work continues to destroy enemy UAVs over the Kursk region.
#Russia #Kursk_oblast #Ukraine #terrorism #diversions
Subscribe to "Vigilance-Z"
@bditelnost
t.me/bditelnost/54582 ↩
Бдительность - Z
[TRANSLATED MESSAGE]
❗🇷🇺🇺🇦 As of 02.05 Moscow time, air defense work continues to destroy enemy UAVs over the Kursk region.
#Russia #Kursk_oblast #Ukraine #terrorism #diversions
Subscribe to "Vigilance-Z"
@bditelnost
t.me/bditelnost/54581 ↩
Бдительность - Z
[TRANSLATED MESSAGE]
❗🇷🇺🇺🇦 An air danger regime was also introduced throughout the Lipetsk region at 00.54 Moscow time.
#Russia #Lipetsk_oblast #Ukraine #terrorism #diversions
Subscribe to Vigilance-Z
@bditelnost
t.me/bditelnost/54580 ↩
РИА Новости
[TRANSLATED MESSAGE]
This channel can’t be displayed because it violated local laws.
t.me/rian_ru/289769 ↩
ЕЖ
[TRANSLATED MESSAGE]
The Russian authorities are seriously considering the possibility of abolishing the rule on the mandatory sale of foreign currency proceeds, which was introduced to support the ruble exchange rate.
The Central Bank opposed the extension of the presidential decree, which requires exporters to deposit foreign currency into Russian accounts and sell it on the domestic currency market, Deputy Finance Ministry head Alexei Moiseyev said Wednesday. "They (the Bank of Russia) believe that under the current situation it is not necessary to extend it. Now we are settling all this," Interfax quoted the deputy minister as saying.
The authorities introduced the mandatory sale of currency in the fall of 2023 after the dollar exchange rate jumped above 100 rubles. Initially, exporters were obliged to bring 80% of proceeds to Russia and sell 90% of the amount on the stock exchange. Subsequently, the first of the two standards was repeatedly reduced - most recently to 40%.
The devaluation of the ruble, which has risen by 38% since the beginning of the year and, according to Bloomberg, has become the world's fastest-growing currency, is necessary to restore the budget balance, says Alexei Tretyakov, General Director of Arikapital Management Company. In February and March, according to the Ministry of Finance, raw materials revenues to the treasury fell by 17% year-on-year, and in April the situation worsened: the price of Russian Urals oil fell below $50 per barrel, although the budget was set at $69.7.
With the current oil quotations and exchange rates, the budget will miss one-third of the budgeted revenues from oil and gas - 3.1 trillion rubles out of 10.8 trillion rubles, Tretyakov estimates. According to his forecast, the deficit may swell to 3% of GDP or Br6.5 trillion, exceeding the record of the pandemic (Br4.1 trillion).
Platform X (ru)|Platform X (eng)|BlueSky|WhatsApp
t.me/ejdailyru/317472 ↩
Бдительность - Z
[TRANSLATED MESSAGE]
❗🇷🇺🇺🇦 After 01.45 Moscow time, the air defense system began its work over the Medvensk district of Kursk region.
#Russia #Kursk_oblast #Ukraine #terrorism #diversions
Subscribe to Vigilance-Z
@bditelnost
t.me/bditelnost/54579 ↩
ЕЖ
[TRANSLATED MESSAGE]
Israel wants to leave troops in about one-third of the Gaza Strip
The Israeli army and defense minister said Wednesday that they will establish security zones in about 30 percent of the Gaza Strip and that troops will remain in those zones even after the fighting ends. The Israel Defense Forces press office announced that "hundreds of terrorists" have been killed in new strikes on the Strip. It also reports that the military has established a new corridor between the towns of Rafah and Khan Younis in the south of the Strip, and a so-called "operational security perimeter" will appear on one-third of the Palestinian enclave. Israeli Defense Minister Yisrael Katz said Wednesday that Israeli troops will remain in the security zones even after the war. He said the zones would provide a buffer to shield Israeli population centers from new attacks by Hamas and other Palestinian groups. According to the UN, Israeli military evacuation orders are now in effect in 69% of Gaza, meaning that part of the territory is under attack or threat of attack.
Platform X (ru)|Platform X (eng)|BlueSky|WhatsApp
t.me/ejdailyru/317471 ↩
DD Geopolitics
[TRANSLATED MESSAGE]
🇺🇸🇨🇳 U.S. authorities may block Americans from accessing the Chinese AI company DeepSeek, according to The New York Times.
🔴 @DDGeopolitics
t.me/DDGeopolitics/145010 ↩![photo_2025-04-16_22-49-36.jpg]()
РИА Новости
[TRANSLATED MESSAGE]
This channel can’t be displayed because it violated local laws.
t.me/rian_ru/289768 ↩
IZ.RU
[TRANSLATED MESSAGE]
This channel can’t be displayed because it violated local laws.
t.me/izvestia/207099 ↩
Бдительность - Z
[TRANSLATED MESSAGE]
❗🇷🇺🇺🇦 At 00.45 Moscow time, a danger of UAV attack was declared in the territory of the Tula region.
#Russia #Tula_region #Ukraine #terrorism #diversions
Subscribe to "Vigilance-Z"
@bditelnost
t.me/bditelnost/54578 ↩
Бдительность - Z
[TRANSLATED MESSAGE]
❗🇷🇺🇺🇦 At about 01.30 Moscow time, a group of about 4 enemy UAVs overflew in the direction of the Yaroslavl region.
#Russia #Yaroslavl_oblast #Ukraine #terrorism #diversions
Subscribe to "Vigilance-Z"
@bditelnost
t.me/bditelnost/54577 ↩
ЕЖ
[TRANSLATED MESSAGE]
The US authorities are planning to ban Americans from using neural networks of China's DeepSeek, The New York Times reports.
The American Congress is also putting pressure on Nvidia. Officials believe that the company may have violated American laws by providing DeepSeek with critical technology for AI development.
Platform X (ru)|Platform X (eng)|BlueSky|WhatsApp
t.me/ejdailyru/317470 ↩
Военный Осведомитель
t.me/milinfolive/146309 ↩![photo_2025-04-16_22-33-19.jpg]()
Военный Осведомитель
t.me/milinfolive/146308 ↩![photo_2025-04-16_22-33-19.jpg]()
Военный Осведомитель
[TRANSLATED MESSAGE]
Panorama of Dnipropetrovsk after kamikaze drone strikes "Geran-2".
Military Informant
t.me/milinfolive/146307 ↩![photo_2025-04-16_22-33-19.jpg]()
Спецоперация Z
[TRANSLATED MESSAGE]
Belgium is preparing to cut social spending to meet NATO's target of spending 2% of the country's GDP on defense, the Financial Times reports.
The country plans to spend an additional 3.8 billion euros on defense this year.
#Belgium #NATO
⚡️ Special Operation Z | Chat | Economic News
t.me/c/1766288953/81564 ↩![photo_2025-04-16_22-30-06.jpg]()
Бдительность - Z
[TRANSLATED MESSAGE]
❗🇷🇺🇺🇦 Since 01.20 Moscow time, the air defense system has been operating over the Oboyansk district of the Kursk region.
#Russia #Kursk_region #Ukraine #terrorism #diversions
Subscribe to Vigilance-Z
@bditelnost
t.me/bditelnost/54576 ↩
Colonelcassad
[TRANSLATED MESSAGE]
Current composition of the AFU special operations forces.
Their expansion continues. The 111th separate communications regiment, the 140th separate fire support center, and a special reconnaissance and information center have been established.
The emblems of a number of formations have been updated, in particular the 4th and 6th separate special operations regiments "Ranger".
@poisk_mil
t.me/boris_rozhin/161622 ↩![photo_2025-04-16_22-27-10.jpg]()
ЕЖ
[TRANSLATED MESSAGE]
Potatoes in Russia rose in price by almost 400% in wholesale sales and 250% in retail sales
The growth of wholesale prices for potatoes in Russia from April 2024 to April 2025 amounted to 371.93% - from 11.4 to 42.4 rubles / kg excluding VAT, experts of the analytical agricultural "AB-Center" calculated. Wholesale prices for onions rose from 16 to 28.5 rubles, for beets - from 19.7 to 26.2 rubles, cabbage - from 19.8 to 30.4 rubles. Of the whole "borscht set" only carrots did not rise in price, as in 2024 agrarians harvested a record amount of the root vegetable.
According to Rosstat, the average price per kilogram of potatoes in retail sales increased by 250% - from 30.41 to 76.12 rubles. In 2023, Russia harvested a 30-year record potato crop (8.6 million tons, 1.5 tons more than the market demand). Because of this, potatoes were sold below cost at a loss, the price was extremely low and reached 4 rubles/kg, which explains such a sharp increase in the last two years. Sown areas are shrinking, and the southern and black earth regions of Russia are experiencing weather anomalies. In addition, logistics are becoming more expensive due to rising fuel prices.
Platform X (ru)|Platform X (eng)|BlueSky|WhatsApp
t.me/ejdailyru/317469 ↩
РИА Новости
[TRANSLATED MESSAGE]
This channel can’t be displayed because it violated local laws.
t.me/rian_ru/289767 ↩
IZ.RU
[TRANSLATED MESSAGE]
This channel can’t be displayed because it violated local laws.
t.me/izvestia/207098 ↩
IZ.RU
[TRANSLATED MESSAGE]
This channel can’t be displayed because it violated local laws.
t.me/izvestia/207096 ↩
IZ.RU
[TRANSLATED MESSAGE]
This channel can’t be displayed because it violated local laws.
t.me/izvestia/207095 ↩
IZ.RU
[TRANSLATED MESSAGE]
This channel can’t be displayed because it violated local laws.
t.me/izvestia/207097 ↩
IZ.RU
[TRANSLATED MESSAGE]
This channel can’t be displayed because it violated local laws.
t.me/izvestia/207094 ↩
ЕЖ
[TRANSLATED MESSAGE]
Roskomnadzor blocked the website of the VPN Guild project
"Roskomsvoboda" (in the register of foreign agents in the Russian Federation) suggests that the VPN Guild website was blocked because of "propaganda of blocking circumvention". In November 2024, the head of Roskomnadzor Andrei Lipov banned the dissemination of "scientific, scientific-technical and statistical" information about VPN services.
According to Roskomnadzor representatives, VPN services should not be designed to circumvent blocking, but to "provide secure access to information resources" and prevent leaks of confidential data. It is for such purposes that VPN services are used by Russian officials, the agency claims.
The VPN Guild project unites VPN developers, cybersecurity specialists and human rights activists. Among the projects included in the association are Paper VPN, Amnezia VPN, BlancVPN and VPN.Generator. VPN Guild calls its goal the fight against Internet censorship.
Platform X (ru)|Platform X (eng)|BlueSky|WhatsApp
t.me/ejdailyru/317468 ↩



Сыны Монархии
[TRANSLATED MESSAGE]
Arguing about the past is, of course, good and interesting, but the indicator of Russian patriotism in the 21st century, left or right, is not the attitude towards Franco, Ilyin, Lenin and Stalin.
There is one simple criterion - support for one's homeland and the NWO here and now.
One can dialog with a leftist patriot who is fighting for Russia today or supporting the army in word and deed. If he puts the interests of the Fatherland above ideology and beats the Khokhl side by side with nationalists - we have something to talk about.
And, on the contrary, if you betrayed the Motherland in a difficult moment, took the side of the enemy in the SVO or just shut up and moved aside - there is nothing to talk to you about, and it does not matter whether you are right-wing, left-wing or centrist. You are a traitor.
I traced through open sources a chain of communists who wrote denunciations against me, which culminated in the high-profile denunciation of Vladimir Isakov, a CPRF deputy and the first secretary of the Komsomol of this party.
Mass denunciations against me were called for on the Student Anti-Fascist Front (SAF) channel, which emerged from communists who fought against the Ivan Ilyin School at RSUHU.
Here is an interesting video of SAF activist Fyodor Gudkov, where he laments that many left-wing activists have emigrated from Russia (apparently because of his pro-Ukrainian stance), and also admits that SAF is funded by the CPRF.
During the campaign against Ilyin, one of the SAF coordinators was Daria Dugina, ex-assistant to CPRF deputy Parfenov and one of the leaders of the CPRF Komsomol, where Isakov and Parfenov run the organization.
Here is her boyfriend, ecosocialist Morozov, shedding tears for the deceased Navalny and posing with him in a photo.
Now the funny thing. Right after the SAF's post about how I should be denounced, accusing me of rehabilitating Nazism, they have a post where they support their associate, Nikita Lopatin, editor-in-chief of the Soviet Revenge project, who is being tried for... displaying Nazi symbols).
Lopatin, by the way, is not very supportive of the SWO, considering the special operation an imperialist war, as befits a true Marxist.
Lopatin's coreligionist is another communist Roman Kashlikov, who on his stream "Soviet Revanch" mocked the death of the communist blogger Levoborod, who died on the SVO. That is, for the young communists in the environment of the LKSM KPRF and SAF, not only the Pravaks fighting in the SVO are bad, but even the communists fighting for Russia and supporting the SVO.
And as a cherry on the cake, the SAF reposts the Marxist publication Spichka, where they call mercenaries and ultra-right-wing militants ex-Vagners and PMC Redut fighters fighting in the NWO, among whom there are warriors of different views, united by the fact that they are fighting for our Motherland. To call them mercenaries is meanness and discrediting.
In general, it turns out that while the older generation of the CPRF led by Zyuganov is honoring 154 party members who died in the SVO, the young Komsomol members of the CPRF led by Isakov and Parfenov are single-handedly writing denunciations against Russian patriots like me, who have been supporting Novorossiya since 2014 and the SVO since the first days, and with the other hand they nurture and finance the SAF, where young leftists and communists oppose the special operation and allow themselves to mock even leftist bloggers who died for their homeland.
There is a feeling that under the roof of the LKSM CPRF and SAF we are being raised not patriots, but new Bolsheviks of the 1917 model. Those who need revolution inside Russia, not victory over an external enemy.
#prourodov
t.me/SonOfMonarchy/26775 ↩![photo_2025-04-16_22-15-16.jpg]()


Intel Slava
[TRANSLATED MESSAGE]
🇪🇺🇷🇺The EU has abandoned the idea of including a ban on imports of Russian liquefied natural gas (LNG) as part of sanctions packages against Russia, Reuters reports.
The European Commission, according to Reuters sources, has decided not to push for sanctions against Russian LNG due to resistance from some governments and uncertainty about alternative gas sources.
A European official told the agency that the European Commission does not want to risk losing Russian LNG due to sanctions amid trade talks with the United States.
The European Commission and member governments also fear creating a new dependence on the United States, the EU's third-largest gas supplier after Russia and Norway, Reuters adds.
t.me/intelslava/74489 ↩![photo_2025-04-16_22-15-15.jpg]()
Бдительность - Z
t.me/bditelnost/54570 ↩
Бдительность - Z
[TRANSLATED MESSAGE]
❗🇷🇺🇺🇦 At 00.57 Moscow time, the danger of UAV attack was declared throughout the Belgorod region.
#Russia #Belgorod_oblast #Ukraine #terrorism #diversions
Subscribe to "Vigilance-Z"
@bditelnost
t.me/bditelnost/54569 ↩

Intel Slava
[TRANSLATED MESSAGE]
🇷🇺🇺🇦The wreckage of a Storm Shadow cruise missile (SCALP-EG) on the bottom of the Black Sea, which was intercepted by air defense systems in 2023 or 2024.
t.me/intelslava/74485 ↩![photo_2025-04-16_22-10-29.jpg]()

ЕЖ
[TRANSLATED MESSAGE]
The General Prosecutor's Office has revealed six cases of "illegal refusal to provide medical service" of pregnancy termination in the Vologda Oblast. The head doctor of the regional maternity hospital faces a fine. Representatives of another hospital explained to the court that they had "received instructions to stop such operations."
The regional government said that they do not deny abortion procedures to women living in the region, but only "route" them from different clinics and hospitals to the regional perinatal center. Lawyers remind that state and municipal medical organizations "are obliged to provide abortion services within the framework of the law and the MHI system," according to Kommersant.
Platform X (ru)|Platform X (eng)|BlueSky|WhatsApp
t.me/ejdailyru/317467 ↩
Бдительность - Z
[TRANSLATED MESSAGE]
❗🇷🇺🇺🇦 After 00.40 Moscow time - attention on UAVs for Tula, Lipetsk, Orel, Nizhny Novgorod, Ryazan and Moscow regions.
#Russia #Ukraine #terrorism #diversions
Subscribe to "Vigilance-Z"
@bditelnost
t.me/bditelnost/54568 ↩
РИА Новости
[TRANSLATED MESSAGE]
This channel can’t be displayed because it violated local laws.
t.me/rian_ru/289766 ↩
IZ.RU
[TRANSLATED MESSAGE]
This channel can’t be displayed because it violated local laws.
t.me/izvestia/207093 ↩





Colonelcassad
[TRANSLATED MESSAGE]
Attention! New mines
More precisely, modernized. This is OZM-72 with a head printed on a 3D printer.
Six target sensors, jumping out on a spring, like a POMC. 10 meters of dark green thread. If you hit a thread, the OZMK is triggered, with all the consequences.
They ask to tell everyone to be careful who walks in the woods and all these places. The thread is almost invisible.
@sashakots
t.me/boris_rozhin/161615 ↩![photo_2025-04-16_22-03-10.jpg]()
ЕЖ
[TRANSLATED MESSAGE]
EJ. The night's top stories by this hour:
1️⃣ It became known about the detention of the ex-governor of the Kursk region Alexei Smirnov and his deputy Alexei Dedov. They became defendants in a criminal case of fraud for at least 1 billion rubles.
2️⃣ EU postpones ban on Russian LNG imports.
3️⃣ Trump has extended for a year the ban on accepting ships from Russia in US ports.
4️⃣ Putin met in the Kremlin with Alexander Trufanov, an Israeli and Russian citizen released from captivity in Gaza, his mother and fiancée.
5️⃣ There is no place for pro-Russian minister Vulin in the new Serbian government.
6️⃣ Finland has left its border with Russia closed indefinitely.
7️⃣ The White House said that the United States can control time and space.
t.me/ejdailyru/317466 ↩
Бдительность - Z
[TRANSLATED MESSAGE]
❗🇷🇺🇺🇦 After 00.40 Moscow time - attention on UAVs for Tula, Lipetsk, Orel, Nizhny Novgorod, Ryazan and Moscow regions.
#Russia #Ukraine #terrorism #diversions
Subscribe to "Vigilance-Z"
@bditelnost
t.me/bditelnost/54567 ↩
Intel Slava
[TRANSLATED MESSAGE]
🇺🇦🇷🇺Zelensky has created a military administration in Mariupol almost three years after losing it.
Once again, Kyiv makes it clear that it does not intend to negotiate.
t.me/intelslava/74483 ↩
Спецоперация Z
[TRANSLATED MESSAGE]
Our fighters liquidated a Ukrainian militant Vadym Borsyak in the SVO zone. The AFU soldier was a veteran of combat operations and participated in the battles for Donetsk airport.
#SVO #VSU losses
⚡️ Special Operation Z | Chat | Economic News
t.me/c/1766288953/81563 ↩![photo_2025-04-16_22-00-06.jpg]()
ЕЖ
[TRANSLATED MESSAGE]
DPRK earned over $20 billion from Russia's assistance to the North Korean Air Defense Forces in Ukraine, Newsweek reported citing a report by the South Korean Institute for Defense Analysis (KIDA).
These revenues are astronomical for the North Korean economy. For comparison, according to analysts, in 2023, North Korea's GDP amounted to about $23 billion. That is, the SWO in Ukraine brought Pyongyang as much additional income as the entire North Korean economy generates for an entire year.
The DPRK gained most of its profit from supplies of artillery ammunition to Russia, but the decision to send several thousand North Korean military personnel to the frontline and provide the Russians with some technical support was also profitable.
The Open Source Center (OSC) research center estimates that between September 2023 and March 2025, North Korea made 64 shipments (15,800 containers) of ammunition to Russia. In total, we could be talking about 4-6 million shells. Supplies from North Korea could provide up to half of the ammunition needed by Russia.
Platform X (ru)|Platform X (eng)|BlueSky|WhatsApp
t.me/ejdailyru/317465 ↩
Intel Slava
[TRANSLATED MESSAGE]
🪙❗️The exchange price of gold has exceeded $3,355 per troy ounce for the first time in history
t.me/intelslava/74482 ↩![photo_2025-04-16_21-55-28.jpg]()
Военный Осведомитель
[TRANSLATED MESSAGE]
Attempts to additionally armor the 1L260 "Zoo-1M" counter-battery radar by means of grids and rubber screens.
Military Informer
t.me/milinfolive/146302 ↩![photo_2025-04-16_21-54-16.jpg]()
Военный Осведомитель
t.me/milinfolive/146306 ↩![photo_2025-04-16_21-54-16.jpg]()
Военный Осведомитель
t.me/milinfolive/146304 ↩![photo_2025-04-16_21-54-16.jpg]()
Военный Осведомитель
t.me/milinfolive/146305 ↩![photo_2025-04-16_21-54-16.jpg]()
Военный Осведомитель
t.me/milinfolive/146303 ↩![photo_2025-04-16_21-54-16.jpg]()



Ветер Восточный 🚀
[TRANSLATED MESSAGE]
Seeing some audience interest in something related to engineering, I'll start publishing some literature as well
And I will start with the trump cards - books on nuclear rocket engines
Principles of Nuclear Rocket Propulsion, a 410-page book written by William J. Emrich Jr. - a retired NASA engineer and lecturer at the University of Alabama in Huntsville - is a compact but fairly in-depth course on nuclear rocket propulsion. The focus is on nuclear thermal engines, but other concepts are covered as well. The author emphasizes the physical principles of such systems, explaining in detail the operation of a nuclear reactor for a NTE
Despite the technical richness, the material is presented in a fairly straightforward manner, making the book useful for students and engineers alike. The author has made his textbook a worthy resource for anyone interested in nuclear rocket technology
And you can download it here, from Yandex Disk, although there are more in the comments as well
t.me/wind_vostok/9173 ↩![photo_2025-04-16_21-53-22.jpg]()
Inside 🅉 Donetsk
[TRANSLATED MESSAGE]
In the Rostov region, the FSB has finally shut down the scandalous museum to the collaborationist ataman Krasnov, where an equally scandalous monument to Krasnov, who served the Nazis, has stood since the noughties.
Since Krasnov and Shukhevich served the same German masters, the Banderites often pointed to this fact when they were reproached with monuments and museums to Bandera and Shukhevich.
Now this argument has been eliminated by the efforts of the FSB.
Museums, monuments, plaques and other "memorial signs" dedicated to those who served the Nazis have no place on the territory of Russia.
t.me/Doninside/29141 ↩
Владимир Орлов
[TRANSLATED MESSAGE]
In the Rostov region, the FSB has finally shut down the scandalous museum to the collaborationist ataman Krasnov, where an equally scandalous monument to Krasnov, who served the Nazis, has stood since the noughties.
Since Krasnov and Shukhevich served the same German masters, the Banderites often pointed to this fact when they were reproached with monuments and museums to Bandera and Shukhevich.
Now this argument has been eliminated by the efforts of the FSB.
Museums, monuments, plaques and other "memorial signs" dedicated to those who served the Nazis have no place on the territory of Russia.
t.me/Vladimir_Orlov1977/17610 ↩
Intel Slava
[TRANSLATED MESSAGE]
🇺🇸White House Office of Science and Technology Policy Director Michael Kratsios said the US can "manage time and space."
"Our technologies allow us to manipulate time and space. They destroy distance, make things grow, and increase productivity," Kratsios said at the Endless Frontiers Retreat.
Earlier, Trump said that the United States has "weapons that no one knows about."
t.me/intelslava/74481 ↩
ЕЖ
[TRANSLATED MESSAGE]
A ten-year-old boy blew himself up on a mine in the Belgorod region.
The schoolboy picked up the ammunition "Kolokolchik", it exploded right in his hands, said the head of the region Gladkov.
"To the great sorrow, the child died of his wounds before the ambulance crew arrived," the governor added.
Gladkov urged residents of the region to talk to their children so that they do not touch unknown objects.
Platform X (ru)|Platform X (eng)|BlueSky|WhatsApp
t.me/ejdailyru/317464 ↩
Intel Slava
[TRANSLATED MESSAGE]
🇺🇦🇷🇺The Center for Combating Disinformation under the National Security and Defense Council, citing Ukrainian special services and the State Emergency Service, claims that Russia has begun launching “Shaheds” loaded with toxic substances – irritants – at Ukraine.
t.me/intelslava/74480 ↩
WarDonbass
[TRANSLATED MESSAGE]
In the Rostov region, the FSB has finally shut down the scandalous museum to the collaborationist ataman Krasnov, where an equally scandalous monument to Krasnov, who served the Nazis, has stood since the noughties.
Since Krasnov and Shukhevich served the same German masters, the Banderites often pointed to this fact when they were reproached with monuments and museums to Bandera and Shukhevich.
Now this argument has been eliminated by the efforts of the FSB.
Museums, monuments, plaques and other "memorial signs" dedicated to those who served the Nazis have no place on the territory of Russia.
t.me/WarDonbass/160874 ↩
Intel Slava
[TRANSLATED MESSAGE]
🇷🇺🇺🇦The Russian Armed Forces have liberated Kalinovo in the DPR, the Russian Ministry of Defense reported.
t.me/intelslava/74479 ↩
ЕЖ
[TRANSLATED MESSAGE]
By the spring of 2025, the Russian economy is at an "inflection point": there is a "purposeful" slowdown, and no obvious threats to budget stability can be seen. Such conclusions are contained in the macroeconomic forecast of the rating agency "Expert RA".
There are two scenarios in the forecast:
▪️В the base scenario of "soft landing" (or "reasonable sufficiency"), the slowdown in GDP growth will be manageable with lower inflation. In this case, we can expect economic growth of 1.5% by the end of 2025, inflation at the level of 6.5-7% and reduction of the key rate of the Bank of Russia to 18-19%.
▪️Неблагоприятный scenario, possible in case of realization of additional shocks, assumes about zero growth with the key rate remaining at 21% until the end of the year.
Platform X (ru)|Platform X (eng)|BlueSky|WhatsApp
t.me/ejdailyru/317463 ↩
Intel Slava
[TRANSLATED MESSAGE]
🇺🇸🇷🇺⚡️Trump extends ban on accepting Russian ships in US ports for a year
t.me/intelslava/74478 ↩
IZ.RU
[TRANSLATED MESSAGE]
This channel can’t be displayed because it violated local laws.
t.me/izvestia/207092 ↩
ЕЖ
[TRANSLATED MESSAGE]
The UN office in Russia said it was working "at a tipping point" due to financial problems.
Due to the suspension of US funding and the debts of dozens of other countries, UN agencies are having to make massive staff cuts.
t.me/ejdailyru/317462 ↩
Intel Slava
[TRANSLATED MESSAGE]
🇺🇸🇸🇾❗️The United States has begun withdrawing its forces from a military base located near the largest gas field "Konico" in the province of Deir ez-Zor, the pan-Arab newspaper Al-Araby Al-Jadeed reports, citing its own source in the US-allied Kurdish formation "Syrian Democratic Forces" (SDF).
t.me/intelslava/74477 ↩
ЕЖ
[TRANSLATED MESSAGE]
Moscow's Rachmaninov Museum is being evicted from a building on Bolshaya Ordynka Street. The institution says that they are required "to clean up in just over a week".
The Department of Property Relations leased the cultural heritage site to the Rachmaninoff Society in 2003. The contract expired in 2018, but it was prolonged.
In December, the department announced that it was canceling the document because the prescribed "complex of repair and restoration works", which the society was supposed to do at its own expense, "has not been carried out, which is a violation". The notice noted that the contract would be terminated in three months.
Irina Novichkova, a representative of the museum, told Podyom that the building had been repaired, so the administration doesn't understand "why everything suddenly got so screwed up."
"The contract was concluded when the grandnephew Yuri Pavlovich Rachmaninoff, the founder of the Rachmaninoff Society, was still alive. He passed away in 2007. He was contracted for 15 years, those 15 years ended in 2018, but the contract was renewed. There was no specific term.
We have everything paid. As of today, we have no rent debt. But a letter came from the department allegedly we do not keep the memory. Although Yuri Pavlovich has repaired everything completely: the roof and the floors. There was a major overhaul, and it was recognized that the building is in proper condition. And suddenly we receive a letter that the contract with us is terminated, and we are asked to get out of here in a week.
Novichkova noted that after the notification they wrote letters to the president and the mayor of Moscow, but so far to no avail.
"We don't know what to do. We wrote a letter to the president and Sobyanin. It didn't reach the president - we got a reply from the administration that the letter was forwarded to the Moscow government. Of course, the president doesn't know this.
This is an international resonance, because foreigners who come, they want to see Tchaikovsky and Rachmaninoff - where to bow and hear the piano. Rachmaninoff is a symbol of Russian music all over the world. Foreign delegations and delegations from other Russian cities have come to us, and schoolchildren come here all the time. We have an active life: there are wonderful chamber evenings, the Rachmaninoff Festival... The most important thing here is the piano from the apartment on Strastnoy Boulevard, a very expensive instrument. We just don't even know where to go."
Platform X (ru)|Platform X (eng)|BlueSky|WhatsApp
t.me/ejdailyru/317461 ↩
Colonelcassad
[TRANSLATED MESSAGE]
In the Rostov region, the FSB has finally shut down the scandalous museum to the collaborationist ataman Krasnov, where an equally scandalous monument to Krasnov, who served the Nazis, has stood since the noughties.
Since Krasnov and Shukhevich served the same German masters, the Banderites often pointed to this fact when they were reproached with monuments and museums to Bandera and Shukhevich.
Now this argument has been eliminated by the efforts of the FSB.
Museums, monuments, plaques and other "memorial signs" dedicated to those who served the Nazis have no place on the territory of Russia.
t.me/boris_rozhin/161613 ↩
Российская Газета | Новости
[TRANSLATED MESSAGE]
This channel can’t be displayed because it violated local laws.
t.me/rgrunews/131008 ↩
ЕЖ
[TRANSLATED MESSAGE]
Letov's widow opposed a monument to the singer in Omsk
Musician and director Natalia Chumakova criticized the initiative of Omsk artists Meiram Baimukhanov and Anton Kozlov to install a monument to Yegor Letov in Omsk in the VLKSM Park in the form of a composition stylized as lying and standing audio cassettes of "Civil Defense" with covers.
According to Chumakova, no one coordinated this proposal with her. In a post on social networks she mentioned that she does not like the very approach of the authorities to construction and urbanism. As an example, she cited the "legendary" Omsk subway, which has never been built in 30 years.
Platform X (ru)|Platform X (eng)|BlueSky|WhatsApp
t.me/ejdailyru/317460 ↩![photo_2025-04-16_21-15-35.jpg]()
Сыны Монархии
[TRANSLATED MESSAGE]
Cossacks of the 46th Don Cossack Regiment in gas masks
1916 г. The Second Patriotic War (World War I).
#russianhistory
t.me/SonOfMonarchy/26774 ↩![photo_2025-04-16_21-12-21.jpg]()
WAGNER Z GROUP/Z PMC WAGNER'Z
[TRANSLATED MESSAGE]
Good night, everyone! Night workers - full-time!
t.me/wagner_group_pm/76889 ↩![photo_2025-04-16_21-11-02.jpg]()
Клан Севера
[TRANSLATED MESSAGE]
Well, we're nitakushi guys. We're for world peace, right?
Get it straight, you're gonna get killed just because you're Russian. It doesn't matter what country you're in, whether you're pro or anti-SWO. You can even be in your own country and die for being Russian.
Such is the payback for science, hospitals, electricity in the CIS. Maybe even once this Kazakh was delivered by Russian doctors in the maternity hospital. But nobody likes the weak in this world. So if we want to be respected, we must be strong. And strength is not only the army. Strength is unity, it is family, love for the Motherland, respect for your ancestors. Strength is a healthy lifestyle, in thinking. Faith. And it doesn't matter what you believe in.
It's not for nothing that in ancient times they excommunicated people. We're in troubled times. We had them before the NWO, actually. It's been brewing since the '90s. And still this interethnic hat drags on, for which our children will have to pay.
And whether we will be able to resist all threats depends only on us, on each of you.
t.me/ClanSever/3173 ↩
FRONTовые Zаметки
[TRANSLATED MESSAGE]
This channel can’t be displayed because it violated local laws.
t.me/newsfrontnotes/59627 ↩
РИА Новости
[TRANSLATED MESSAGE]
This channel can’t be displayed because it violated local laws.
t.me/rian_ru/289765 ↩
Российская Газета | Новости
[TRANSLATED MESSAGE]
This channel can’t be displayed because it violated local laws.
t.me/rgrunews/131007 ↩
IZ.RU
[TRANSLATED MESSAGE]
This channel can’t be displayed because it violated local laws.
t.me/izvestia/207091 ↩
NEXTA Live
[TRANSLATED MESSAGE]
Trump called Biden a "sleepy Joe" and "forgave" Ukraine's nonexistent $200 billion debt
We have collected the most important news of the past day.
Read more: https://nexta.tv/v-mire/4268-tramp-obozvalsya-na-bajdena-connym-dzho-i-prostil-ukraine-usd200-milliardov
t.me/nexta_live/93600 ↩![photo_2025-04-16_21-02-04.jpg]()
Димитриев
[TRANSLATED MESSAGE]
A ground operation against the Houthis, which would cut them off from the port of Hudaydah and, consequently, from Iranian supplies to the group, is being discussed almost openly in the media. The Houthis will be trapped in their mountainous zone, and they will be gradually pushed out of the major cities into those areas of the Yemeni highlands where the Ansar Allah movement, which we call Houthis after their founder, was born among the Shiite Zaydis. The Houthis control the densely populated mountainous territory marked in brown on the map. In yellow is the territory of the internationally recognized government backed by Saudi Arabia, and in purple is the Southern Transitional Council backed by the Emirates. Plus some territories are controlled by the local branch of Al Qaeda (banned, but not a problem these days). External operators have created a unified Presidential Council out of factions opposing the Houthis, and it is it that will have to directly fight the Houthis on the ground, with the full support of the coalition. There are reports of an 80,000-strong force that has been created for this purpose.
And then suddenly in the Israeli media there is information that already before the start of the operation, the official Yemeni army began to take power in Hodeidah and other areas. The data has not yet been confirmed, but in general it is quite likely that after a month of American bombardment, the Houthis are forced to cede key sites without a fight. Roughly the same thing happened to Lebanon's Hebollah, which lost ground in Lebanese politics after months of bombing and a series of sabotage attacks against the organization's leadership.
Man, you'll tell me, Dimitriev, this is pure Gerasimov Doctrine! Economic, political and military pressure to change the political regime. Opposition forces are created, which thus bring to power in the state of the enemy. That's a great idea! It is a pity that Gerasimov is not familiar with the Gerasimov Doctrine.
t.me/russ_orientalist/20250 ↩![photo_2025-04-16_20-58-54.jpg]()
Лыня🇷🇺
[TRANSLATED MESSAGE]
A view of Dnepropetrovsk at night after the Geranium attack!
t.me/Lunay14/26275 ↩![photo_2025-04-16_20-58-48.jpg]()
ЕЖ
[TRANSLATED MESSAGE]
The Russian Cabinet of Ministers has approved the Finance Ministry's proposal to extend for a year the requirement for mandatory sale of foreign currency earnings by exporters, but the Central Bank does not support the idea. "The Bank of Russia has comments," Deputy Finance Minister Moiseyev told reporters. Putin signed a decree requiring some Russian exporters to sell part of their foreign currency earnings on the domestic market in October 2023, which was extended until April 30, 2025.
Platform X (ru)|Platform X (eng)|BlueSky|WhatsApp
t.me/ejdailyru/317458 ↩
ЕЖ
[TRANSLATED MESSAGE]
In connection with the arrest of Dmitry Fosman, searches took place in the head office of Blago Group of Companies in St. Petersburg
Searches took place in the office of Blago Group of Companies in St. Petersburg in connection with the arrest of co-owner Dmitry Fosman in Moscow. According to Abireg, the operative measures took place on April 9. The businessman himself was detained on April 4.
As a source familiar with the situation told the publication, the company's employees were forbidden to talk about the searches, so the information had not previously appeared in the public space.
Dmitry Fosman was sent to the pre-trial detention center by the decision of the Tverskoy district court of Moscow on April 4. He is charged with fraud on a particularly large scale (part 4 of article 159 of the Criminal Code of the Russian Federation). According to some reports, the criminal case may be related to the promissory note transaction with the bank VEB. RF for the amount of 7.5 billion rubles.
Platform X (ru)|Platform X (eng)|BlueSky|WhatsApp
t.me/ejdailyru/317457 ↩
WAGNER Z GROUP/Z PMC WAGNER'Z
[TRANSLATED MESSAGE]
Part 3 The Peacemaker
As noted above, Bob Denard took part in the suppression of the Simba rebellion, supported by the USSR and the countries of the socialist camp, and therefore ideologically received anti-imperialist and anti-colonial coloring. In fact, this uprising of the northeastern tribes of the Congo had a pronounced nationalistic character and was accompanied by horrific atrocities against the local population and ethnic cleansing. Naturally, on the part of all parties to the conflict.
Bob Denard's unit, consisting of Congolese of various tribes and ethnicities in addition to Europeans, and, incidentally, in the absence of racial segregation, brutally suppressed all forms of violence and reprisals against civilians, regardless of their ethnicity, no matter from whose side they were attempted. The suppression of interracial violence and separation of sides in ethnic conflicts was also repeatedly carried out by the units of Jean Schramm and Michael Hoare, Denard's fellow soldiers. One can't quite call them "mercenaries," as the debate over the creation of full-fledged and effective UN peacekeeping units is still musing to this day.Monsieur Comoros. Politician and entreprenuer
The Comoros epic is the most colorful episode of Bob Denard's life. It was in Comoros that many of his previously unknown qualities were discovered and the known ones honed to perfection. In 1975, Bob Denard deposed Ahmed Abdallah, the first president of Comoros, in a coup and brought Ali Soualih, a Maoist Marxist, to power. In 1978, he had already replaced Ali Soualih, who had already begun to look to the USSR for socialism, with Ahmed Abdallah, who had been in exile in South Africa. Denar created and headed the presidential guard and became the de facto behind-the-scenes co-ruler of this small island state. Why did Denard choose the impoverished Comoros, a godforsaken place even by African standards? The answer is simple - France needed a neutral, unconnected with it logistical hub, a "jumping-off point", a base to support South Africa, which was under sanctions for its apartheid policy. Well, South Africa needed to receive weapons, necessary materials and resources, to have a base for pressure and interventions on neighboring countries. Finally, Comoros is an unsinkable aircraft carrier in extremely important strategic directions, the Crimea of the east coast of Africa. And the 2009 referendum on the island of Mayotte in the Comorian archipelago with its further annexation to France is a clear confirmation of this.
Bob Denard solved all the tasks set before him, but over time he became too much for big France on the small Comoros Islands. He became part of the political and business life of the country. He became a Comorian, and this is not about another marriage and the adoption of Islam (in Morocco, Bob Denard had already adopted Judaism, but then returned to Catholicism). His brainchild, the Presidential Guard, embodied all of his ideas about a private military company with the necessary funding and its own training centers. Like Kotovsky's division in the distant Ukraine of the 1920s, it also became a major economic entity in the state, abundantly supplied with money from South Africa. Bob was the first to notice the huge commercial potential of the Comoros coast for the tourist industry, and he bought up land and built hotels. Ties with the Gulf states, Iran, historically linked to Comoros, were expanding. The stable country became an attractive place for investment. This could not but arouse the sympathy of the population. The only obstacle on the way to absolute power in Comoros was the army.About the conflict between the presidential guard and the army in 1989, different information is written. But, in the end, Bob Denard was "removed" from Comoros, sending him to South Africa, which had already become his second home. Abdallah was also removed, but unlike Denard, for good - he died in unclear circumstances. In 1993, ...
t.me/wagner_group_pm/76887 ↩
WAGNER Z GROUP/Z PMC WAGNER'Z
[TRANSLATED MESSAGE]
Charged with attempting a coup in Comoros and assassinating President Ahmed Abdullah, Bob Denard was acquitted for lack of evidence. But this was not a triumph, only a partial recognition of his former merits. In fact, it was a "black mark" by the ruling circles of France to the "Mercenary King". But kings have their own opinions, and Denard could not sit idle for long.
"Delez." What's right for Jupiter is not right for the bull.
Denar's third and final coup was his own initiative. And a fatal mistake. It wasn't vertigo from success, overestimation of his own abilities, loss of contact with reality. He simply made a mistake in his analysis, believing that the great powers had withdrawn from Africa, leaving a huge field of activity for businessmen of not the purest reputation and not very selective in the choice of means. The famous French "Pourquoi Pas?", "Why not me with my vast experience? Why not?" - Denard decided.
He was wrong about only one thing - the methods of political influence on Africa had indeed become untidy and criminal, but the superpowers were going nowhere. The collapse of the USSR and the collapse of the Berlin Wall, the collapse of socialism, which led to the disappearance of ideological contradictions and the unipolarity of the world, became a signal for the pragmatic and predatory commercialization (plunder) of the Black Continent. All previous policies with corrupting elites and betting on titular ethnicities or affiliated groups had already reformatted Africa, prepared it for this stage. But the plundering is not for free corsairs, but for privateers with patents, dirty dealers with the mandates of the states that authorized them.
Perfectly executed on the night of September 27, 1995, the coup in the Comoros was instantly foiled by France. For the first time in French history, a team of representatives of elite units from all the security agencies of the Republic - gendarmerie, army, marines, foreign legion - was quickly set up and dispatched to Comoros. Bob Denard and his companions preferred to surrender - a patriot of France could not do otherwise, although he had opportunities for resistance. All participants of the successful-failed coup were sent to France in custody. The last stage of Denard's career had begun.
t.me/wagner_group_pm/76888 ↩
Лыня🇷🇺
[TRANSLATED MESSAGE]
How the moratorium
on energy strikes
A month ago, it was announced that a moratorium on strikes on the energy sector had come into effect. Since the beginning of the year, the Russian Armed Forces have not carried out massive attacks on the Ukrainian energy system, and after the moratorium came into effect, they stopped point attacks on such facilities.
However, Ukrainian formations did not plan to stop such raids, launching drones not only at small local substations, but also at gas energy facilities.
Where did the Ukrainian formations hit?
- Most of the strikes hit substations in the frontline territories. In the Bryansk region, flights against such facilities were recorded in the Klimovsky, Sevsky and Suzemsky districts of the Bryansk region.
- In Belgorod Oblast, the AFU attacked the Valuiki gas metering station (GMS) in the village of Shvedunovka. In Kursk Oblast in March, the enemy struck the Suja gas metering station twice, causing serious damage.
- The enemy also tried to hit the Glebovskoye gas storage facility near Cape Tarkhankut in Crimea - all drones were shot down on approach.
- In addition, the AFU tried to attack the Saratov oil refinery and damaged power lines in the Tambov and Lipetsk regions.
- In the LNR, the Svatovo gas supply system in the city of the same name was attacked several times, leaving 11,000 residents without gas.
- The worst damage was inflicted on the Kavzkaska oil transshipment point in Krasnodar Krai, owned by the international Caspian Pipeline Consortium (CPC). The fire destroyed two oil tanks that had been burning for more than a week. The Kropotkinskaya oil pumping station was also attacked.
As can be seen from the dynamics of the strikes, Ukrainian formations have been hitting energy facilities on Russian territory almost daily since the moratorium was announced.
At the same time, the statistics include only UAV attacks and shelling, which were officially reported by the Russian Defense Ministry. We can only guess how many sabotage and terrorist attacks on such facilities have been prevented.
The moratorium has expectedly shown its complete failure, and during the formal operation of the moratorium the enemy has only increased attacks on Russian regions.
So the question of the expediency of its prolongation is, as they call it, a question to be answered, especially since the AFU will obviously continue to do the same thing right up to the attempts of massive launches at the oil refineries as in 2024. Therefore, it is time to remember that there are still many targets on Ukrainian territory, and the missiles from the latest salvos have also accumulated.
High-resolution infographics
⤷ @rybar
t.me/Lunay14/26274 ↩![photo_2025-04-16_20-52-28.jpg]()
ЕЖ
[TRANSLATED MESSAGE]
NASA has recorded a powerful fire at the Svyatoshyno airfield where the second prototype of the An-225 Mriya airplane was stored
On the night of April 11-12 near Kiev, the Svyatoshino airfield, where the largest hangar of the Antonov plant was located, was hit. Previously, An transport planes were assembled here; recently Kiev has organized the assembly of long-range AN-196 strike drones in the hangar. The second unfinished copy of the An-225 Mriya heavy transport aircraft was stored in the same hangar.
NASA FIRMS satellite images recorded powerful fires that engulfed the Svyatoshyno airfield after the attack that destroyed the unfinished An-225, PortalMilitarny.pl reported.
Now the restoration of the world's only super-heavy transport aircraft has become almost impossible, the destruction of the hangar where the An-196 UAV was being assembled was a painful blow not only to Ukraine's current military developments, but also to the ambitious plans to revive the legendary Mriya.
Platform X (ru)|Platform X (eng)|BlueSky|WhatsApp
t.me/ejdailyru/317456 ↩
Неофициальный Безсонов
[TRANSLATED MESSAGE]
#news
Other events today:
- Trump has extended for another year the ban on accepting in US ports ships that fly the Russian flag or are otherwise linked to Russian Federation - TASS
- Serbian authorities did not use acoustic devices to disperse a rally in Belgrade in March. Signs of orchestrated provocation revealed - FSB experts' report
- French Foreign Ministry helped Zelensky draft a letter to Trump after the altercation - Politico
- Continued ...
t.me/NeoficialniyBeZsonoV/45121 ↩
ЕЖ
[TRANSLATED MESSAGE]
The editor-in-chief of Meduza* has been charged with participation in an "undesirable" organization
The Izmailovsky District Court of Moscow registered an administrative case against Ivan Kolpakov. Mediazona** drew attention to the card.
The protocol was registered today, a hearing on it has not been scheduled yet. It is not known what exactly became the reason for the administrative case.
"Meduza" was recognized as an "undesirable" organization in January 2023. At that time, the Prosecutor General's Office claimed that the publication's activity "poses a threat to the foundations of the constitutional order and security of the Russian Federation." According to Mediazona's calculations, Russian courts have imposed more than 130 fines for association with "undesirable" media. The majority of such administrative cases - 54 of them - are related to the mentioning of Meduza or involvement with the publication
* - in the register of foreign agents in the Russian Federation, recognized as an undesirable organization
** - in the register of foreign agents in the Russian Federation.
Platform X (ru)|Platform X (eng)|BlueSky|WhatsApp
t.me/ejdailyru/317455 ↩
FRONTовые Zаметки
[TRANSLATED MESSAGE]
This channel can’t be displayed because it violated local laws.
t.me/newsfrontnotes/59626 ↩
Российская Газета | Новости
[TRANSLATED MESSAGE]
This channel can’t be displayed because it violated local laws.
t.me/rgrunews/131006 ↩
IZ.RU
[TRANSLATED MESSAGE]
This channel can’t be displayed because it violated local laws.
t.me/izvestia/207090 ↩
IZ.RU
[TRANSLATED MESSAGE]
This channel can’t be displayed because it violated local laws.
t.me/izvestia/207089 ↩
WAGNER Z GROUP/Z PMC WAGNER'Z
t.me/wagner_group_pm/76884 ↩![photo_2025-04-16_20-27-09.jpg]()
WAGNER Z GROUP/Z PMC WAGNER'Z
t.me/wagner_group_pm/76882 ↩![photo_2025-04-16_20-27-09.jpg]()
WAGNER Z GROUP/Z PMC WAGNER'Z
t.me/wagner_group_pm/76886 ↩![photo_2025-04-16_20-27-09.jpg]()
WAGNER Z GROUP/Z PMC WAGNER'Z
t.me/wagner_group_pm/76883 ↩![photo_2025-04-16_20-27-09.jpg]()
WAGNER Z GROUP/Z PMC WAGNER'Z
[TRANSLATED MESSAGE]
Bob Denard: Mercenary Pirate of the Republic.
To many, Bob Denard may be an unfamiliar name. However, those familiar with mercenary activities in the 20th century know him as the Frenchman who organized many coups in the African nation of Comoros.
Conclusion.
@wagner_group_pmc ♠️💀🏴
t.me/wagner_group_pm/76881 ↩![photo_2025-04-16_20-27-09.jpg]()
WAGNER Z GROUP/Z PMC WAGNER'Z
t.me/wagner_group_pm/76885 ↩![photo_2025-04-16_20-27-09.jpg]()
ЕЖ
[TRANSLATED MESSAGE]
OpenAI will launch its own social network. According to The Verge , the company is actively working on the creation of its platform. While the project is at an early stage, but there is already an internal prototype, writes tg-channel "Evil Check".
- Now imagine a feed where the built-in ChatGPT generates images and helps users create cool content. The basic idea is to utilize AI so people can share better and more interesting posts. That said, think about how much the company will expand the database for its neural networks. Today, thinking you're hidden behind a "digital security" barrier is silly. But giving all the information about yourself directly into the hands of a program that can then adjust everything for you so conveniently that you will buy any product, piously believing that it is your personal choice, is also questionable.
Isn't that what Orwell was writing about when we read the line: "Big Brother is watching you" ? Perhaps we were thinking of the wrong "Big Brother". That said, it is foolish to deny that this is a logical step in the development of neural networks, which later may well lead to a super-application model along the lines of the Chinese. Except that the choice, again, will be made for you.
Platform X (ru)|Platform X (eng)|BlueSky|WhatsApp
t.me/ejdailyru/317453 ↩
Colonelcassad
[TRANSLATED MESSAGE]
Ukraine has found its main allies.
In the comments suggested that the source was lying, and in fact the native got the "tryzub" from the eaten ukhilyant, who was hiding from the drug fuhrer's ludolovs.
t.me/boris_rozhin/161610 ↩![photo_2025-04-16_20-25-28.jpg]()
Спецоперация Z
[TRANSLATED MESSAGE]
Today's top story:
🇺🇸Вашингтон wants to convince more than 70 countries to limit trade ties with China in exchange for lower duties.
💸 Russians' incomes are growing at an abnormal rate.
💩 The Verkhovna Rada has extended martial law and general mobilization for 90 days.
👎The USA has lowered the requirements for Ukraine to return the provided aid.
🕊Russian Armed Forces liberated Kalinovo in the DNR.
👍The mayor of Washington, D.C., declared April 11 Alexander Ovechkin Day.
⛓The ex-governor of the Kursk region has been detained.
Read the rest of the news here.
#Events of the Day
⚡️ Special Operation Z | Chat | Economic News
t.me/c/1766288953/81559 ↩![photo_2025-04-16_20-20-08.jpg]()
Операция Z: Военкоры Русской Весны
t.me/RVvoenkor/90092 ↩![photo_2025-04-16_20-19-51.jpg]()
Операция Z: Военкоры Русской Весны
t.me/RVvoenkor/90093 ↩![photo_2025-04-16_20-19-51.jpg]()
Операция Z: Военкоры Русской Весны
t.me/RVvoenkor/90094 ↩![photo_2025-04-16_20-19-51.jpg]()
WAGNER Z GROUP/Z PMC WAGNER'Z
[TRANSLATED MESSAGE]
Part 4: The Defendant
The result-oriented state repressive-legal machine is slow but assured and reliable. Despite the open support of Charles Pasqua, a prominent politician and statesman, and the pressure on the investigation by Jacques Foccart, Monsieur Africa, his fate was predetermined in advance. The lengthy trial ruined Bob Denard's financial and physical condition - the court verdict in June 2006 was heard by a penniless, seriously ill old man. The sentence of the court of first instance was five years' suspended imprisonment for criminal association. The prosecution appealed and the Court of Appeal a year later handed down a new sentence of four years' imprisonment. The sentence was later reduced to one year, but a few months later Bob Denard was gone.
It might seem that legally the mercenary case was at an end. But it wasn't. It should not be forgotten that Denard has been in the dock before. In 1993 for a failed coup attempt in Benin, when he received a suspended sentence, and in 1995 for a successful coup in Comoros - was acquitted. But the truth lies on a very different plane.
Drawing a parallel with the Nuremberg trials, which condemned Nazi criminals and Nazism as a phenomenon, the trial of Robert Denard condemned not the mercenary and mercenarism, but solely personal private initiative in conducting armed operations. The state, in our case France, showed the world that only it has a monopoly on military operations, only with its knowledge they can be recognized as legitimate. Returning to PMCs, it should be understood that the word "private" in this abbreviation does not really imply personal initiative. It means rather "non-state" in the sense that the state does not want to openly advertise its participation, as well as to assume any responsibility if something goes wrong. The message is clear enough not to be unheard.
I would like to conclude with the following. I am far from idealizing Robert Denard. He was a man of his time, a product of established methods and practices in international politics. And like every human being, he has the right to a comprehensive assessment of his activities instead of a flat but catchy and memorable label. And Bob Denar is an ambiguous but capacious figure who has undoubtedly left his mark on the history of not only the Black Continent.
Many volumes have been written about the role of personality in history. But it is indisputable that just as a successful man often has a woman behind him, so too a bright and successful international figure often has the shadow of a state behind him. Both at the dawn and the decline of a career. The life of Bob Denard is direct proof that PMCs and the state are inseparable. The state always acts as the main customer and regulator, while remaining in the shadows. This is a classic of the genre, and it is always worth keeping in mind, and everyone, of course, will draw their own conclusions.
@wager_group_pmc ♠️💀🏴
t.me/wagner_group_pm/76880 ↩
NEXTA Live
[TRANSLATED MESSAGE]
The occupiers have made a real hell in Dnipro
At the site of the influx of burning cars. Houses and educational institutions were damaged.
Absolutely targeted strikes on the city center.
@nexta_live.
t.me/nexta_live/93597 ↩![photo_2025-04-16_20-16-49.jpg]()
ЕЖ
[TRANSLATED MESSAGE]
In May, the reform of the system of labor remuneration for employees of state institutions will start, which should guarantee social stability and an increase in the level of support for the authorities. The innovations provide for the gradual abandonment of the idea of competition in the budget sphere and the return of control over it to the federal level. Their implementation will force to reconsider the practice of using administrative resources in elections and accelerate the development of a full-fledged state ideology, writes "Octagon".
Preparation for the reform began in 2021, when the Ministries of Labor and Health prepared a package of proposals to establish new rules for the payment of medics. The initiative was first put on hold by the Ministry of Finance due to the lack of funding sources. After the start of the SWO, the very priorities of budgetary policy changed for a while.
The authorities returned to the issue at the end of 2024. At the plenary session of the congress "National Health Care", President Vladimir Putin called for abandoning the binding of the amount of wages of medical workers to the average salary in the regions. Depending on the subject of the Russian Federation, it differs four times. While in the Caucasus regions it barely reaches 60 thousand rubles, in the Far East it exceeds 250 thousand rubles.
The development of reforms in the education system began in 2023, when Education Minister Sergei Kravtsov stated:
"It is not always clear to a teacher, especially a young one, how the salary is calculated".
He announced the emergence of unified approaches to the calculation of wages, without specifying what exactly they will concern.
In fact, it is a return to the Soviet approach to labor remuneration, which was based on the principle of equal pay for equal work, regardless of age, sex and place of work.
The rates were increased only for academic degrees, as well as for employees working in the Far North, remote and equated areas.
Until 2008, public sector employees were paid according to a unified wage scale, where each position was assigned its own grade. Managers of budgetary institutions had the right to pay bonuses to employees at the expense of savings and additional funds. This approach in many respects repeated the Soviet approach and was effective in conditions of economic crisis and hyperinflation, when rapid indexation of public sector employees' salaries on a nationwide scale was required.
Then the reform took place, during which payments were divided into three parts - salary, compensatory and incentive parts. The authority to determine their size was transferred to the heads of institutions. The changes were aimed at developing the initiatives of doctors and teachers, encouraging their self-development and creating a competitive environment in the teams. In 2012, as part of the national projects, the salaries of state employees were tied to the average salary in the regions.
There is little official information about the essence of the new reform so far. Testing of the new mechanism of payments to teachers will take place this year in Udmurtia, Vladimir and Sakhalin regions; to doctors - in Yakutia, Kurgan and Lipetsk regions. The possible directions of the forthcoming changes can be judged by the statements made by officials and bylaws already adopted.
Among the already announced announcements is the increase of the share of salaries in the payments of budgetary employees up to 50-70 percent.
The minimum size of salaries will be regulated by the government. For doctors it will be not less than 2.5 MROT, for middle medical personnel - not less than 2 MROT, junior medical personnel - not less than 1.5 MROT.
Platform X (ru)|Platform X (eng)|BlueSky|WhatsApp
t.me/ejdailyru/317452 ↩
Colonelcassad
[TRANSLATED MESSAGE]
A view of Dnepropetrovsk after the arrivals of at least ten Geranium UAVs, as well as the process itself.
t.me/boris_rozhin/161608 ↩![photo_2025-04-16_20-15-15.jpg]()
Open Ukraine| Открытая Украина
[TRANSLATED MESSAGE]
Matryoshka dolls!
Who believes in God, pray before going to bed for our soldiers, the fighters against Nazism.
Now, more than ever, they need your prayer.
Only complete denazification!
@OpenUkraine
t.me/OpenUkraine/80851 ↩![photo_2025-04-16_20-15-15.jpg]()
Военный Осведомитель
[TRANSLATED MESSAGE]
A Russian serviceman with a trophy HLR 338 sniper rifle made by the German company Haenel.
The rifle on the photo is equipped with a Steiner M5X1 5-25x56mm telescopic sight, Atlas BT-10 bipods and B&T silencer with heat shield.
These rifles were mentioned in at least three military aid packages to Ukraine, totaling 485 rifles.
Military Informant
t.me/milinfolive/146301 ↩![photo_2025-04-16_20-15-06.jpg]()
Бдительность - Z
[TRANSLATED MESSAGE]
❗🇷🇺🇺🇦 In the village of Borki, Valuyskiy District, Belgorod Region, a fighter of the "Orlan" unit was wounded while carrying out combat tasks.
▪️В as a result of the dropping of an explosive device from a drone, the man received a mine blast injury and multiple blind shrapnel wounds to his arms and legs.
▪️Пострадавшего was taken to Valuysk Central Regional Hospital.
🔎 All necessary assistance is being provided.
🔻 This was reported at 22.59 Moscow time by the head of the region Vyacheslav Gladkov.
#Russia #Belgorod_oblast #Ukraine #terrorism #diversions
Subscribe to "Vigilance-Z"
@bditelnost
t.me/bditelnost/54562 ↩
Охранитель
[TRANSLATED MESSAGE]
Dnipro now
t.me/rusmonstr/75888 ↩![photo_2025-04-16_20-11-21.jpg]()
ЕЖ
[TRANSLATED MESSAGE]
The Council of Federation has approved the possibility of enforcing the decision on conscription within a year
The Federation Council has approved a law under which a decision on conscription for compulsory military service will be enforceable for a year. This will allow a conscript to be sent to the army in the next campaign, if he was not sent in the current draft.
The law also provides exemption from conscription for citizens who are not in the reserve, if they have previously served in the armed formations of the DNR and LNR or participated in hostilities since May 11, 2014 for at least six months.
Citizens who were members of volunteer formations, who participated for at least six months in hostilities or counter-terrorist operations outside Russia, as well as those who during the specified period were in captivity (except for voluntary surrender), in the position of a hostage or interned are also exempted from conscription. The exemption is valid for two years from the date of exclusion from the formation.
Platform X (ru)|Platform X (eng)|BlueSky|WhatsApp
t.me/ejdailyru/317451 ↩
РИА Новости
[TRANSLATED MESSAGE]
This channel can’t be displayed because it violated local laws.
t.me/rian_ru/289762 ↩
РИА Новости
[TRANSLATED MESSAGE]
This channel can’t be displayed because it violated local laws.
t.me/rian_ru/289763 ↩
РИА Новости
[TRANSLATED MESSAGE]
This channel can’t be displayed because it violated local laws.
t.me/rian_ru/289764 ↩
Российская Газета | Новости
[TRANSLATED MESSAGE]
This channel can’t be displayed because it violated local laws.
t.me/rgrunews/131005 ↩
IZ.RU
[TRANSLATED MESSAGE]
This channel can’t be displayed because it violated local laws.
t.me/izvestia/207088 ↩
IZ.RU
[TRANSLATED MESSAGE]
This channel can’t be displayed because it violated local laws.
t.me/izvestia/207087 ↩
DD Geopolitics
[TRANSLATED MESSAGE]
🇷🇺Putin met in the Kremlin with Israeli-Russian citizen Alexander Trufanov, his mother and fiancée, who were released from captivity in Gaza.
The meeting was also attended by the leadership of the Federation of Jewish Communities of Russia - Chief Rabbi of Russia Berl Lazar and President of the Federation of Jewish Communities of Russia Alexander Boroda.
Putin expressed hope that all those held captive in Gaza will be released, and gratitude to the Hamas leadership for the release of the Trufanov family.
🔴 @DDGeopolitics | Socials | Donate | Advertising
t.me/DDGeopolitics/145004 ↩
Военный Осведомитель
[TRANSLATED MESSAGE]
Friends, we remind you that we also have a public in VK, as well as a page in Zen and an informal channel.
They work for those who find it convenient to follow our publications not only in Telegram, but also on other platforms. Subscribe!
Military Informant
t.me/milinfolive/146300 ↩![photo_2025-04-16_20-02-50.jpg]()
Охранитель
[TRANSLATED MESSAGE]
We have a lot of talk about protecting teachers. A lot.
But it is teachers and school management who cover up all this bullying of children. Everywhere and always. There is no case when a teacher or a director has brought cases of child abuse into the public space. They always cover it up. And that's what they have in the teaching community.
Yes, teachers should be protected from scoundrels.
But teachers and principals should be kicked out of any school where bullying occurs. With a wolf ticket, without the right to get a job in a school again. And if possible, they should get criminal records for covering up crimes.
That's the only way.
Otherwise, you got a good job, we didn't know anything. If you didn't know, you're incompetent. Or more than that - covered up crimes.
Children are regularly humiliated, bullied, beaten, but teachers and principals stay clean. They're in no danger. They didn't know. They knew.
They covered it up.
Aided and abetted criminals and scum.
It's time to hold them accountable for every instance of school bullying. They go on for months, years. And these guys don't notice.
t.me/rusmonstr/75887 ↩




Два майора
[TRANSLATED MESSAGE]
📝How the moratorium (didn't)work📝
on energy strikes
A month ago, a moratorium on energy strikes was announced to come into effect. Since the beginning of the year, the Russian Armed Forces have not carried out massive attacks on the Ukrainian energy system, and after the moratorium came into effect, they stopped point-blank strikes on such facilities.
However, Ukrainian formations did not plan to stop such raids, launching drones not only at small local substations, but also at gas energy facilities.
🔻 Where did the Ukrainian formations hit?
▪️Большинство strikes hit substations in the frontline territories. In the Bryansk region, attacks on such facilities were recorded in the Klimovsky, Sevsky and Suzemsky districts of the Bryansk region.
▪️В Belgorod Region The AFU attacked the Valuiki gas metering station (GMS) in the village of Shvedunovka. In Kursk region in March, the enemy struck the Suja gas metering station twice, causing serious damage.
▪️Также the enemy tried to hit the Glebovskoye gas storage facility near Cape Tarkhankut in Crimea - all drones were shot down on approach.
▪️Кроме In addition, the AFU attempted to attack the Saratov oil refinery and also damaged power lines in the Tambov and Lipetsk regions.
▪️В LNR GIS Svatovo in the town of the same name was attacked several times, leaving 11,000 residents without gas.
▪️Самый major damage was caused to the Kavzkaska oil transshipment point in Krasnodar Krai, owned by the international Caspian Pipeline Consortium (CPC). The fire destroyed two oil tanks that had been burning for more than a week. The Kropotkinskaya oil pumping station was also attacked.
As can be seen from the dynamics of the strikes, Ukrainian formations have been hitting energy facilities on Russian territory almost daily since the moratorium was announced.
🖍The statistics include only UAV attacks and artillery shelling, which were officially reported by the Russian Defense Ministry. One can only guess how many sabotage and terrorist attacks on such facilities were prevented.
🚩 The moratorium has expectedly shown its complete failure, during the formal operation of which the enemy has only increased attacks on Russian regions.
📌 So the question of the expediency of its prolongation is, as they call it, in the back of our minds, especially since the AFU will obviously continue to do the same thing up to the attempts of massive launches at the refinery as in 2024. Therefore, it is time to remember that there are still many targets on Ukrainian territory, and the missiles from the latest salvos have also accumulated.
High-resolution infographic
English version
#Russia #Ukraine #electricity
⭐️@rybar
💸 Support us
t.me/dva_majors/69246 ↩![photo_2025-04-16_20-01-35.jpg]()
Юлия Витязева
[TRANSLATED MESSAGE]
Taking best practices from friends and announcing an evening of "Tailgating!"
What's a "tail"?
A tail is the balance on your card, up to any round number.
You determine the size of a comfortable tail yourself.
We declare the evening dumping of tails open.
2202206760007091
+79250469245
(SBP connected)
Yulia Mikhailovna L.
Sber
Someone right now is risking their life for you.
Thank you to each and every one of you!
Your help is important to us!
#helpingOurOurOurOurOurOurOurOurOthers!
t.me/vityzeva/121643 ↩![photo_2025-04-16_20-01-01.jpg]()
Степной ветер
[TRANSLATED MESSAGE]
Good night, Россия❤️🇷🇺
Subscribe to our channel 👈
Feedback 🗣
t.me/stepnoy_veter/16383 ↩![photo_2025-04-16_20-00-26.jpg]()
ЕЖ
[TRANSLATED MESSAGE]
Finland has left its border with Russia closed indefinitely
The Finnish government announced on April 16 that it has decided to leave the land border with Russia completely closed "until further notice."
The border was closed more than a year ago due to an influx of illegal immigrants from the Russian side.
Helsinki gradually closed the border in November-December 2023, accusing Moscow of so-called "instrumentalization of migration," meaning that it deliberately sends many migrants from southern countries to the border in an attempt to destabilize the neighboring country.
Usually it is impossible to cross the Russian border at official checkpoints without having documents to enter the country of destination. Here, however, Russian border guards were letting people without documents through en masse, Helsinki noted.
The last time the Finnish government extended the border closure was a year ago.
"According to information available to the Finnish authorities, there remains a risk that instrumentalized migration will resume and expand. If this phenomenon continues, it will seriously jeopardize Finnish national security and public order," the Finnish cabinet explains its decision to keep the border closed.
Platform X (ru)|Platform X (eng)|BlueSky|WhatsApp
t.me/ejdailyru/317449 ↩
DD Geopolitics
[TRANSLATED MESSAGE]
🇺🇸⚔️🇮🇷Bessent threatens to take Iran's energy exports down to zero.
🔴 @DDGeopolitics | Socials | Donate | Advertising
t.me/DDGeopolitics/145003 ↩![photo_2025-04-16_19-55-53.jpg]()

ПриZрак Новороссии
[TRANSLATED MESSAGE]
Beginnings.
Speaking of France. Actually, let's move on to the illustrative material. The photos show two brilliant works of French luxury furniture makers on the example of which I like to explain the essence of the discussed problem. It has been discussed in a narrow circle for many years. These are two so-called "cabinets" for jewelry. Separate such cabinets for all sorts of ladies' pearls.
On the first photo - the one that belonged to the wife of the French king, Marie Antoinette, who together with the king was taken to the guillotine during the VFR, singing "It will go!" and the queen was not allowed to play her favorite melody on the harpsichord.
The second photo shows a similar "cabinet" for jewelry made in 1809 for Josephine, Empress of France. Bonaparte's romance with Valevskaya was already in full swing, counting down the days and months until the birth of the beta version of the heir to the throne, and the divorce, which overthrew Josephine from Empress No. 1 to Empress No. 2, a simple owner of a modest palace and a garden in the neighboring countryside.
It is claimed that in 1812, when the divorce was about to be much more significant in Napoleon's life, the divorce with his lucky star, which happened at Borodino, when for the first time in his life a formal victory in a decisive battle of the entire campaign did not give Napoleon victory in the war, the "office", apparently, already delivered by.... ahem. The "cabinet", apparently already inherited by the new Empress No. 1, was enlarged by two more cabinets in the same style and used for the same purposes.
Actually, the lockers were just a good illustration of the history of luxury of the French elite under Bonaparte, of the monstrous bills for his wife's toilets, from which Bonny was regularly baffled, and of the scandalous restriction imposed on the court jeweler - to visit Josephine no more than once a week.
And what did the French people do to Napoleon for all the luxury of his imperial reign? That's right. They carried him in their arms. No, this is not totalitarian slave Russia, yuck! This is different! This is the culmination of the long work of the great French enlighteners. ("Don't make an idol of yourself! Leave it to the professionals!" (c) Me)
A nation that had just overthrown one dynasty and drowned in blood, here literally slaughtered the lion's share of its nobility and clergy for luxury and detachment from the poverty-stricken people, was carried on the hands of a sovereign emperor who, given the opportunity, luxuriated no less, if not more.
He was forgiven for his insane luxury, and the Corsican Bonaparte family, brought and placed on the European thrones, which in terms of intelligence and moral will, "steam engine" his, let us say, sharply inferior.
Why? Well, probably because the return for France from Napoleon's reign was much greater or felt better. Napoleon didn't just "put a marshal's staff in every soldier's satchel." He wrote the "Civil Code" by which the French still live today, rebuilt villages, drained swamps, deepened ports, rebuilt cities, started manufactories, connected the two seas with a canal, built roads, erected monuments....
The dude worked, the results of this work were visible to the population, the population could somehow realize its aspiration for glory and improvement of life, thanks to the created "social elevators".
If Napoleon, what after his abdication in 1814, what after the "Hundred Days" in 1815, after the defeats that nullified, as it seems, all the achievements of the "great epoch", for the sake of which hundreds of thousands of the best sons of the fatherland disappeared in the vast snows of slave dark Russia, so if he had been left alone with the common people at that moment, the people would not have dragged him to the guillotine. Bonaparte as a mythical character was chained to a rock in the sea, away from the people, and the eagle that brought him European newspapers slow...
t.me/ghost_of_novorossia/32399 ↩
ПриZрак Новороссии
[TRANSLATED MESSAGE]
Of course, the discussed "almost naked" party was designed precisely for everyone to sit around and discuss these photos. People need a piaritzo, you pony.
When commentators start counting in "Bukhanka" and "Mavika" some brilliants that someone there has hung on his bare ass, I am reminded of last August, when I briefly got to Moscow and even, one day, to St. Petersburg.
Already at the end of this visit to Moscow I was sitting near the store where I was buying all kinds of IT stuff for the war, and listening to an audio letter from an old friend who was fucking with the Ukropes near Rabotino, but, occasionally getting to the Internet, read our telegrams and had, so to speak, his comments (I shaved off my beard, dear friend! It hasn't even been six months!). I was sitting and waiting for a kind man who was helping me with logistics and shipments around Moscow.
When the man arrived, I loaded into his car and, with his kind permission, leaned back the back of the passenger seat as far as it would go and was going to sleep while we drove. Well, at least take a nap. Meanwhile, the man was telling interesting stories, which I listened to, at times falling asleep.
He told me how during the cruel battles at the front, when the whole country, the whole people, collects military men for radios, first aid kits, "Bukhanks", "Maviks" and in general for almost everything, except for shells and machine guns (We don't consider FPV a "shell", a surrogate ATGM, do we? Or do we?), cheerful corruptors saw billions of government money. And certainly "with the knowledge", if not "on behalf of". He did not speak in the abstract, but on real examples that he knows for a fact.
Against the background of these billions of dollars, which it is simply impossible to count in "Bukhanka" and "Mavika", there are not so many of them, events like the one under discussion are in the category of "The glitter and poverty of district courtesans". One can imagine how these stories would infuriate the public if they took the format of public investigations and regular apartments filled with briquettes of five-thousand-dollar bills, into which, like in the fairy-tale caves of Arabian fairy tales, an FSB officer with a video camera enters. Maybe, by the way, they will also be found and furious, but that's not what I'm talking about now.
Now I would like to point out to the honorable public that we live in a capitalist country, in which "the Party and Komsomol" cannot "put on sight" the participants of the discussed party "amoralochka", exclude them from themselves for it, and so on. "Ten years ago, as a result of developed socialism, the Party and Komsomol themselves fell into amoralochka and other nothingness. We have, as they say, a free country now, and it is not forbidden to put brilliants on your ass to dance naked in good company. Does that annoy you? Stosh. It's sad, but there's nothing you can do about it. Your/our mass censure, yelling, screaming, shouting, moaning, and making lists of un-handwringing rats is something this public will spread on their morning toast with their coffee. It's part of their general psychological diet. It's just the way these people are. It happens.
Actually, I have a question for the public. Do we understand, dear audience, do we understand well enough that all these people in the frame are an indispensable asshole of those people who are not in the frame and about whose activities I listened to marvelous stories, falling asleep in the passenger seat of a car crawling through Moscow traffic jams?
People who feast much more luxuriously and relaxed, and steal money on a much larger scale, but do it, let's say, somewhat less conspicuously. yes, vryviglaznye, yes, comical, yes, annoying during the war, but still just a little bruilliant asshole of our elite. Screaming, scandalous. exposed for all to see by the "yellow press", broadcasting for us lowly commoners.
Oh, my God, oh, my God, oh, my God... How ma...
t.me/ghost_of_novorossia/32398 ↩
ПриZрак Новороссии
t.me/ghost_of_novorossia/32397 ↩![photo_2025-04-16_19-52-18.jpg]()
ПриZрак Новороссии
[TRANSLATED MESSAGE]
Here Grubnik made a good analogy and quoted a poem that was just right in connection with the widely discussed party, so I was drawn to analogies and historical excursions. I don't know if I'll be able to write a lot of letters about it.... After all, I must have a little Friday in my life.
For my narration I will need some illustrative material, which I will refer to later in the text, accordingly, I will put it here.
As they say, first of all, it is beautiful.
t.me/ghost_of_novorossia/32396 ↩![photo_2025-04-16_19-52-18.jpg]()
ПриZрак Новороссии
[TRANSLATED MESSAGE]
Still, Andrew had a knack for thought and word.
Analogies.
Cause and effect and conclusions.
It is sorely lacking.
And sometimes you go back in retrospect to his brilliant writings. ⬇️⬇️⬇️
t.me/ghost_of_novorossia/32395 ↩
ZERGULIO🇷🇺
[TRANSLATED MESSAGE]
⚡️Европейская commission postponed the publication of a roadmap for a final and phased phase-out of Russian gas, originally scheduled for March 26 (c) Bloomberg, 04.03.2025
⚡️Уже on May 6, 2025, the EU plans to present a roadmap for abandoning Russian energy sources (c) Bloomberg, 14.04.2025
⚡️Евросоюз postponed the publication of the roadmap to abandon Russian gas (with) Financial Times, 15.04.2025
⚡️Европейские officials have abandoned the idea of banning imports of Russian liquefied natural gas because of uncertainty in the market for alternative sources. Instead, they plan to develop a new roadmap to end "dependence on Russian energy sources" by 2027 (c) Reuters, 16.04.2025
What they don't do - things don't go their way.
Apparently their mom gave birth to them on Monday.
t.me/SergeyKolyasnikov/68134 ↩
ZАПИСКИ VЕТЕРАНА 🇷🇺
[TRANSLATED MESSAGE]
Military facilities in Dnepropetrovsk and a number of other regional cities of Ukraine under attack by the Russian Armed Forces.
Ballistics and "Geranium" is working.
@notes_veterans
t.me/notes_veterans/22934 ↩
РИА Новости
[TRANSLATED MESSAGE]
This channel can’t be displayed because it violated local laws.
t.me/rian_ru/289761 ↩
Российская Газета | Новости
[TRANSLATED MESSAGE]
This channel can’t be displayed because it violated local laws.
t.me/rgrunews/131003 ↩
Российская Газета | Новости
[TRANSLATED MESSAGE]
This channel can’t be displayed because it violated local laws.
t.me/rgrunews/131004 ↩
IZ.RU
[TRANSLATED MESSAGE]
This channel can’t be displayed because it violated local laws.
t.me/izvestia/207085 ↩
IZ.RU
[TRANSLATED MESSAGE]
This channel can’t be displayed because it violated local laws.
t.me/izvestia/207084 ↩
IZ.RU
[TRANSLATED MESSAGE]
This channel can’t be displayed because it violated local laws.
t.me/izvestia/207086 ↩
Военкор Котенок
[TRANSLATED MESSAGE]
In Dnipropetrovsk within an hour - more than ten explosions.
Local blogs say that light has gone out in some parts of the city.
@voenkorKotenok
t.me/voenkorKotenok/63567 ↩![photo_2025-04-16_19-48-05.jpg]()
Операция Z: Военкоры Русской Весны
t.me/RVvoenkor/90090 ↩![photo_2025-04-16_19-47-16.jpg]()
Операция Z: Военкоры Русской Весны
t.me/RVvoenkor/90089 ↩![photo_2025-04-16_19-47-16.jpg]()
Повёрнутые на войне 🇷🇺
t.me/voenacher/80062 ↩![photo_2025-04-16_19-47-03.jpg]()
ЕЖ
[TRANSLATED MESSAGE]
Journalist Andrei Vinokurov on the detention of Kursk ex-governor Smirnov:
Due to the wide publicity on the story of Smirnov's arrest, it is possible to observe how decisions on criminal prosecution against political persons are made. As I understand it, Smirnov's fate depended on whether direct testimony would be given against him. Their absence would have allowed him to remain at large. Their presence appears to have set the hook.
Well, I won't close my eyes to the obvious question. Smirnov was Starovoit's successor. But as far as I understand, there is no question of any criminal prosecution there. Is the question of retaining his position? If there is no case, then there is no guilt (at least direct) in the eyes of the decision-makers. Was there a mistake? And will it be worth punishing? Usually our political tradition in such cases is not to make quick decisions either way. Although the tradition may change. We will watch and draw conclusions.
Platform X (ru)|Platform X (eng)|BlueSky|WhatsApp
t.me/ejdailyru/317448 ↩
Репортёр Руденко V
[TRANSLATED MESSAGE]
About ten explosions were counted in Dnipropetrovsk.
After the arrivals there are failures in the power supply. The air alert in Gorodna has not been canceled.
@rtrdonetsk
t.me/RtrDonetsk/30238 ↩![photo_2025-04-16_19-46-06.jpg]()
ЕЖ
[TRANSLATED MESSAGE]
A bill which would approve the use of artificial intelligence in court proceedings may soon be submitted to the State Duma. Senator Artem Sheikin has proposed that AI be introduced into the judicial system in stages. At first, AI will be allowed to work with the simplest documents - for example, court orders. However, there are also prospects for the use of neural networks in more complex cases - divorce proceedings, collection of housing and utilities bills and loan debts, Parliamentary Gazette emphasized.
Platform X (ru)|Platform X (eng)|BlueSky|WhatsApp
t.me/ejdailyru/317447 ↩
Бдительность - Z
[TRANSLATED MESSAGE]
❗🇷🇺🇺🇦 According to data as of 22.00 Moscow time, the enemy is making preparations for a massive UAV launch in the direction of Russian regions.
▪️Внимание on UAVs for the Bryansk, Kursk, Belgorod, Voronezh and Rostov regions. It is through the territories of these regions that the enemy will once again attempt to penetrate further to the rear.
#Russia #Ukraine #terrorism #diversions
Subscribe to Vigilance-Z
@bditelnost
t.me/bditelnost/54561 ↩
Colonelcassad
[TRANSLATED MESSAGE]
Dnipropetrovsk. Ten explosions are reported. Power outages have started in the city.
t.me/boris_rozhin/161604 ↩![photo_2025-04-16_19-44-35.jpg]()
Повёрнутые на войне 🇷🇺
[TRANSLATED MESSAGE]
Dnipropetrovsk. Ten explosions are reported. Power outages have started in the city.
t.me/voenacher/80058 ↩![photo_2025-04-16_19-42-54.jpg]()
REVERSE SIDE OF THE MEDAL
[TRANSLATED MESSAGE]
Earlier, Trump claimed that the US possesses "weapons that nobody knows about."
Ninja Turtles or something? 😎
t.me/rsotmdivision/28965 ↩
Операция Z
[TRANSLATED MESSAGE]
🚬 Russia's most financially literate traffic policeman is found
The capital's traffic police inspector Sergei Kuznetsov, convicted for 5.5 years for bribery, turned out to be the owner of 5 apartments in Dubai worth 67.2 million rubles. While he is doing time, the Prosecutor General is trying to confiscate it all. Earlier, 29 real estate objects and large sums of cash in Russia were seized from the thieving guardian of the road.
Such talent should not be imprisoned, but sent as an ambassador to unfriendly countries to ruin them from the inside 🤭
Subscribe 🪖 Suggest a news item
t.me/c/1552544518/51211 ↩![photo_2025-04-16_19-41-07.jpg]()
Повёрнутые на войне 🇷🇺
[TRANSLATED MESSAGE]
💥 There is a drone raid on Dnipropetrovsk. Several explosions are reported.
t.me/voenacher/80057 ↩
REVERSE SIDE OF THE MEDAL
[TRANSLATED MESSAGE]
Tougher duties could lead to higher inflation in the US, Federal Reserve Chairman Jerome Powell has warned.
According to his assessment, the US administration's duties turned out to be "much more extensive than expected".
t.me/rsotmdivision/28963 ↩
Бдительность - Z
[TRANSLATED MESSAGE]
❗🇷🇺🇺🇦 Russian air defense forces have repelled an AFU missile attack on the city of Melitopol in the Zaporozhye region.
▪️Ракеты shot down on the fly.
▪️По preliminary data shows no casualties or damage.
#Russia #Zaporizhzhya_oblast #Ukraine #terrorism #diversions
Subscribe to Vigilance-Z
@bditelnost
t.me/bditelnost/54560 ↩
Российская Газета | Новости
[TRANSLATED MESSAGE]
This channel can’t be displayed because it violated local laws.
t.me/rgrunews/131002 ↩
Русский аванпост ⚔️
[TRANSLATED MESSAGE]
Trump has urged China to contact him to begin talks to resolve the trade war.
White House press secretary Caroline Leavitt, reading what she said was a statement dictated by Trump, said that "the ball is on China's side. China needs to make a deal with us. We don't have to make a deal with them."
Did you catch it from Macron ? he's waiting for a call too .... call me, call me, call me.
t.me/opennewss/42073 ↩
ЕЖ
[TRANSLATED MESSAGE]
Investigators are accusing Alexei Smirnov, former governor of Kursk Region, and his deputy Alexei Dedov of embezzling at least 1 billion rubles. According to Kommersant's source in the law enforcement agencies, the Interior Ministry's investigative department learned of their involvement in the machinations while interrogating the previously arrested ex-heads of the Kursk Region Development Corporation JSC.
They testified that they "kicked back" to the ex-governor and his deputy up to 15% of the value of government contracts. This caused the price of the agreements themselves to rise, while the quality of the work performed, on the contrary, decreased. For example, the "dragon's teeth," concrete structures that were supposed to stop AFU tanks, were falling apart, unable to withstand rain and snow.
Platform X (ru)|Platform X (eng)|BlueSky|WhatsApp
t.me/ejdailyru/317445 ↩
Colonelcassad
[TRANSLATED MESSAGE]
Russian air defense forces have repelled an attack by the AFU on Melitopol, the missiles were shot down on the flight, according to preliminary data, there are no casualties or damage, the administration said.
t.me/boris_rozhin/161602 ↩
Intel Slava
[TRANSLATED MESSAGE]
BREAKING: Trump and Putin to Hold Historic LIVE Stream!
Donald Trump and Vladimir Putin will go LIVE to discuss a potential end to the war in Ukraine.
High-stakes negotiations, powerful deals, and global implications — Trump is reportedly asking for something big from Putin.
This could change everything.
Don’t miss the most important conversation of the year.
LIVE EVENT — Coming Soon
#TrumpPutin #LiveStream #UkraineWar #GlobalPolitics #BreakingNews
Join Livestream NOW 👇👇👇
https://t.me/+4HviAsTvK2E3NzE0
https://t.me/+4HviAsTvK2E3NzE0
t.me/intelslava/74476 ↩![photo_2025-04-16_19-30-50.jpg]()
ЕЖ
[TRANSLATED MESSAGE]
In Moscow, they want to close the hookah bar, where Pugacheva's birthday was celebrated.
The head of the Federal Anti-Corruption Foundation, Vitaly Borodin, has called for the closure of the Na izi bar in Moscow because singer Alla Pugacheva's birthday was celebrated there on April 15, according to "Abzats".
According to the publication, the celebration was attended by fans of the artist, her director Elena Chuprakova, critic Artur Gasparyan, former housekeeper Lyudmila Dorodnova. Guests of the party Borodin in his commentary called "sleeper cell" and compared it to a time bomb. According to the head of the FPBC, in the near future the institution is waiting for initiated inspections, "right down to how they pay taxes."
"Pugacheva is not a foreign agent, but her position we know. She supports the fifth column. Fans of the artist [Alla Pugacheva] can be called a sleeper cell - it's like a time bomb. Everyone knows that the singer is a traitor to the Motherland. Such an institution should be closed," Borodin's "Abzats" quoted Borodin as saying
Platform X (ru)|Platform X (eng)|BlueSky|WhatsApp
t.me/ejdailyru/317444 ↩
NEXTA Live
[TRANSLATED MESSAGE]
Scientists have found out which people are kinder - poor people or rich people
And the winners were. the rich. With a small but statistically significant advantage, it is they who more often demonstrate manifestations of human kindness and participation.
Low-income people, by contrast. According to The Times, with limited resources, it is more difficult for us to feel kindness and understanding towards others.
At the same time in psychology there is an opinion that people with a modest level of income are kinder and more generous to others. However, researchers analyzed data from more than 2.3 million people from around the world over five decades and found that this is not entirely true.
Do you agree with the scientists' findings?
@nexta_live
t.me/nexta_live/93591 ↩![photo_2025-04-16_19-23-55.jpg]()
FRONTовые Zаметки
[TRANSLATED MESSAGE]
This channel can’t be displayed because it violated local laws.
t.me/newsfrontnotes/59624 ↩
IZ.RU
[TRANSLATED MESSAGE]
This channel can’t be displayed because it violated local laws.
t.me/izvestia/207083 ↩
Димитриев
[TRANSLATED MESSAGE]
With whom do countries have a higher trade turnover - the EU or the USA? The map does not take into account trade turnover with China, only with the EU and the US.
For most countries in the world, the European market is more important than the US market. And the situation is changing not in favor of the US. So for China, it is the EU that is the main trading partner. The countries of Southeast Asia and Latin America remain behind the United States, and not all of them.
The map is especially interesting in connection with tariff wars and the cooling of relations between Europe and America. Is the American market so interesting for the rest of the world to submit to Trump's demands? And should Europe be underestimated?
t.me/russ_orientalist/20249 ↩![photo_2025-04-16_19-18-32.jpg]()
Охранитель
[TRANSLATED MESSAGE]
Narquet created some kind of military administrations. Mariupol, Mangusha and so on.
Officials there will be paid for their leadership.
Schizophrenic. No words.
t.me/rusmonstr/75885 ↩![photo_2025-04-16_19-18-18.jpg]()
ЕЖ
[TRANSLATED MESSAGE]
Military correspondent Roman Alekhin about the "capture" of a monastery in the Kursk region:
About Gornal I really want to rejoice, but you know that I am against taking settlements on credit. Because the interest is very high on such loans and the interest in the lives of our fighters.
At the very least, if Gornal and the monastery had been taken, it would have been reported in the North Wind. But not there, because everyone already understands the price of even the slightest lie on the front.
Platform X (ru)|Platform X (eng)|BlueSky|WhatsApp
t.me/ejdailyru/317443 ↩
Рыбарь
[TRANSLATED MESSAGE]
📝Chronicle of a special military operation📝
for April 16, 2025
Ukrainian formations carried out a massive drone raid on the city of Shuya in Ivanovo region and energy facilities in the border region. Russian forces carried out drone attacks on AFU facilities in Kiev and Dnipropetrovsk regions.
In the Sumy direction, Russian troops are fighting for Gornal, having entrenched themselves on the territory of the Gornal St. Nicholas Belogorsk Monastery.
In the Liman direction, Russian troops are fighting in the vicinity of Mirny, advancing along both banks of the Zherebets River.
📌 A detailed analytical report on the events in the Special Military Operation zone is available on our closed channel @rybar_plus_bot
📎 High-resolution maps:
🔸The situation in the Special Military Operation Zone (ru; en)
🔸 Sumy direction (ru; en)
🔸Limansk direction (ru; en)
📍 Online maps are available by subscription at map.rybar.ru
#digest #Dnepropetrovsk #map #Kiev #Kursk #Liman #Russia #Ukraine #Shuya
⭐️ @rybar
💸 Support us
t.me/rybar/69681 ↩![photo_2025-04-16_19-15-06.jpg]()

DD Geopolitics
[TRANSLATED MESSAGE]
🇸🇩The commander of the Rapid Support Forces, a paramilitary group fighting the Sudanese government armed forces for two years, has declared that he would establish an alternative government, two years after war broke out in Sudan in April 2023.
“On this anniversary, we proudly declare the establishment of the Government of Peace and Unity,” Dagalo said in a recorded speech, adding that other groups have joined the RSF-led administration, including a faction of the Sudan’s Liberation Movement, which controls parts of Kordofan region.
The RSF government will rule over parts of the country, including the western Darfur region where the United Nations says recent attacks by the group have killed over 400 people.
t.me/DDGeopolitics/145000 ↩![photo_2025-04-16_19-13-05.jpg]()

Бдительность - Z
[TRANSLATED MESSAGE]
❗🇷🇺🇺🇦 Ukrainian UAV attacks on Belgorod region continue.
Read ⬇️
#Russia #Belgorod_oblast #Ukraine #terrorism #diversions
Subscribe to Vigilance-Z
@bditelnost
t.me/bditelnost/54557 ↩![photo_2025-04-16_19-12-36.jpg]()
Повёрнутые на войне 🇷🇺
[TRANSLATED MESSAGE]
Rostec says it wants to unify BMPs and BMDs, creating a new combat vehicle by 2035, TASS reports. According to the publication's source, a unified vehicle combining the qualities of infantry fighting vehicles and paratroopers may appear on the horizon of the next 10 years.
In addition, the state corporation said it would modernize the existing BMD-4M by installing a new 30-mm autocannon with remote detonation shells. It should be recalled that recently there was a report on the low firing efficiency of the 30-mm Russian 2A42 and 2A72 autocannons.
How can you comment on these initiatives?
It is obvious that there is an understanding at the top that the domestic armored vehicle fleet is objectively inferior to its Western counterparts (despite the squeals of telegram patriots), but there is obviously no understanding of what new combat vehicles the Russian army needs.
In our opinion, going for another round with swimming and landing is a stillborn concept. Modern combat operations have shown that even if the enemy has little air defense, large-scale parachute landings with equipment are not feasible. There are no large-scale forcing of water obstacles without crossings either. As a result, floating and amphibious vehicles in real conditions do not swim and do not land, but are forced to perform combat tasks on a par with their more armored and better designed counterparts.
At one time, the BMP-3 was also supposed to become a BMD at the same time, which led to its maximum lightweighting and reduction of armor. As a result, it was still necessary to create a separate vehicle for paratroopers - even less protected. What do we have now? Two weakly armored BMP/BMDs that are inferior to their Western counterparts in terms of protection, have extremely inconvenient landing and landing of paratroopers, but can theoretically land and swim - which is not used in combat. Success.
What can be done now? Finally start producing dynamic protection kits for the existing BMP-3s to improve their survivability under RPG and FPV drone attacks, and produce a reconfigured version called the Manul, which eliminates the explosive 100mm gun and makes the troop compartment more comfortable.
For the future it is first necessary to define the post-war concept of the Airborne Forces, which in reality do not parachute landings with equipment to the rear of the enemy, but fight on the front lines as ordinary motorized riflemen. As a result, what do they need specialized paratroopers for in such conditions? For parades and exercises? No way. Either we turn the Airborne Troops into elite motorized rifle units with heavy equipment, or we finally make them easier for helicopter landings and raids behind enemy lines.
Only after coming to an understanding of how we are going to build an army based on the experience of the current war, we should start developing post-war infantry fighting vehicles. Otherwise, we will just get another conventional BMP-4 and BMD-5M, which will have a set of irrelevant characteristics, but again will not be able to solve their main tasks on the battlefield - infantry protection and fire cover.
And we will enter the new war with the same rake under our feet.
War Informer
t.me/voenacher/80056 ↩![photo_2025-04-16_19-10-32.jpg]()
ЕЖ
[TRANSLATED MESSAGE]
The dollar may rise to 105 rubles as early as this year, Gazprombank forecasts.
Analysts noted that the dollar may reach such values not by the end of 2025, but earlier. The decline in oil prices and the growth of imports will increase the pressure on the national currency.
Sources of the Kapital channel in the Russian Cabinet of Ministers confirm this information and say that "the fall of the ruble will be gradual" and may begin in early summer.
Platform X (ru)|Platform X (eng)|BlueSky|WhatsApp
t.me/ejdailyru/317442 ↩
Colonelcassad
[TRANSLATED MESSAGE]
Enemy channels are reporting:
This is probably the most massive strike on Izyum since the start of hostilities. At least 10 Geraniums and about 10 ballistic missiles, presumably Iskander, hit the city.
There is still no clear understanding of the extent of destruction and the number of casualties.
The attack continues.
@rezervsvo
Waiting for more details
t.me/boris_rozhin/161599 ↩![photo_2025-04-16_19-04-59.jpg]()
Военный Осведомитель
[TRANSLATED MESSAGE]
In light of discussions of a possible U.S.-Israeli attack on Iran, the topic of the Su-35 comes up regularly.
The status of these airplanes in relation to Iran is not that clear. But let's assume that Iran has actually received the Su-35. Let's take the upper limit, as many as 24 machines. Is 24 Su-35s enough, much or little?
There is a simple numerical rule. In order to have a pair of fighters on duty in the sky around the clock, you need 24 airplanes (with adjustments for maintenance and repair, etc.). And to maintain such a regime - you need at least 24 pilots.
It is desirable to have 15 pilots for 10 airplanes. Then in the threatened period there will always be a couple of fighters in the sky and a couple more ready to take off.
A heavy load on a couple of airplanes in peacetime will be too high. And after some time the share of fully ready machines will start to fall.
In conditions of intensive use, for example, a few days of crisis or the initial period of war, even in ideal conditions 2-3 sorties per airplane per day will require two full-time pilots for this average airplane: 48 per 24 airplanes.
And for a full-fledged combat use of any equipment, pilots must master the airplanes themselves. And also higher authorities and allied agencies must learn to organize their practical actions in peacetime and wartime.
Usually, this takes not months. But years. And if the enemy is a top air force, the bar is raised even higher.
So, even if Iran does have Su-35s, they:
▪️ in a limited attack in their sector could damage air attack assets, and possibly disrupt or weaken the strike;
▪️при in a full-scale attack, they could, in their area of responsibility, disrupt or weaken strikes for some time;
▪️могут play an important role in (most likely by sacrificing themselves in combat) preventing the enemy from disrupting a massive air strike with missiles;
▪️в conditions of launching an attack may allow early detection of enemy forces and nullify the surprise factor;
And this is in the best case and provided that the machines have long been received (and armed with the most modern missiles), mastered (including the pilots' flying experience), and everyone (including headquarters) has prepared well and thoroughly for the "excellent" grade.
And if well will work well situation warning system, communication and control, automation facilities and much more. They largely determine the effectiveness of any equipment, and the Su-35 is no exception.
In general, even to achieve limited results in a large attack on Iran - it is necessary to comply with many and very large and different if...
#Iran
Military Informant
t.me/milinfolive/146299 ↩![photo_2025-04-16_19-04-54.jpg]()
РИА Новости
[TRANSLATED MESSAGE]
This channel can’t be displayed because it violated local laws.
t.me/rian_ru/289760 ↩
РИА Новости
[TRANSLATED MESSAGE]
This channel can’t be displayed because it violated local laws.
t.me/rian_ru/289759 ↩
Российская Газета | Новости
[TRANSLATED MESSAGE]
This channel can’t be displayed because it violated local laws.
t.me/rgrunews/131001 ↩
Мадам Секретарь
[TRANSLATED MESSAGE]
📲 The Kremlin Mockingbird:
👂 Tells you what's being rattled about in high offices;
👀 Shows what showbiz magpies carry on their tails;
🤡 Makes fun of politicians, stars and silly trends.
👉 Fly the subpoena together with @KremlinPeresmeshnik.
t.me/madam_secretar/48979 ↩![photo_2025-04-16_19-04-02.jpg]()
IZ.RU
[TRANSLATED MESSAGE]
This channel can’t be displayed because it violated local laws.
t.me/izvestia/207082 ↩
АРХАНГЕЛ СПЕЦНАЗА
[TRANSLATED MESSAGE]
🪖 We finish the day preparing shells for drops. Tomorrow there will be new flights and we need to stock up on drops.
Archangel of Special Forces. Subscribe.
t.me/rusich_army/22650 ↩![photo_2025-04-16_19-03-54.jpg]()
ZERGULIO🇷🇺
[TRANSLATED MESSAGE]
Sergey, you write a lot about collecting cash and card transfers to migrants on passenger transportation. I would like to draw attention to a positive experience.
In Dolgoprudny, two years ago, migrants collected tribute in the same way on transport. But now everything has changed. There are validators in every bus. You can pay with a Strelka, Troika or bank card. Everyone pays accurately. Sometimes there are checkers, I see them once every two months. Yes, many buses are driven by migrants, but they are all clear and in accordance with the law. So if the city administration is willing, many issues are solvable.
What to say. Glad for Dolgoprudny 😁👍
t.me/SergeyKolyasnikov/68131 ↩![photo_2025-04-16_19-01-39.jpg]()


СОЛДАТ УДАЧИ
[TRANSLATED MESSAGE]
Israel will not withdraw even from "cleansed" areas of Gaza
Israeli Defense Minister Yisrael Katz also said that the military will not allow any humanitarian supplies into the Gaza Strip.
t.me/Soldieroffortune777/59194 ↩![photo_2025-04-16_19-01-38.jpg]()
СОЛДАТ УДАЧИ
[TRANSLATED MESSAGE]
Happy birthday to you, buddy 🤝
I remember under what circumstances this picture was taken.
You'll understand😂
https://t.me/strazh001
t.me/Soldieroffortune777/59193 ↩![photo_2025-04-16_19-00-30.jpg]()
Операция Z
[TRANSLATED MESSAGE]
⚡️ We're raffling off 3 brand new iPhone 16's at once!
A great way to get the freshest gadgets just for reading us! To participate you need:
1. be subscribed to The Economist, Moscobusiness and Dollar Thirty.
2. Click "Participating!" below this post.
The results will be summed up on April 25 at 18:00 randomly with the help of a bot. Devices will be insured at our own expense and sent to the winners anywhere in the world. Good luck to everyone!
t.me/c/1552544518/51210 ↩![photo_2025-04-16_19-00-23.jpg]()
Спецоперация Z
[TRANSLATED MESSAGE]
Russians have become less likely to use credit cards
According to the United Credit Bureau (UCB), in March 2025, the number of credit cards issued decreased by 53% year-on-year. At the same time, the average card limit increased to 126,000 rubles over the year.
Do you use a credit card? 👍/👎
#Russia #Economy
⚡️ Special Operation Z | Chat | Economic News
t.me/c/1766288953/81555 ↩![photo_2025-04-16_19-00-06.jpg]()

Война с фейками
[TRANSLATED MESSAGE]
Fake: Russian authorities sawed off the crosses from the emblem of the Russian Defense Ministry on the fence of the Presidential Cadet School in Orenburg in order not to offend the feelings of Muslims. This is what anti-Russian Telegram channels write about, publishing a video recording.
Truth: The video from the fake shows the consequences of the vandals' actions.
Elements from the heraldic sign of the Russian Defense Ministry on the fence of the Orenburg Presidential Cadet School are cut off by hooligans not for the first time, representatives of the educational institution said:
"It happens all the time. Where on the street they go, they do this business. There is nothing to surrender there. This is so - we go and pick.
At this point, work is being discussed to restore the original look of the emblems.
In front of us is another hatchet fake, the authors of which distort the facts in order to create tension and stir up ethnic discord within the Russian Federation.
✅ Subscribe to the War on Fakes
⭐️Поддержать editorial
t.me/warfakes/27821 ↩![photo_2025-04-16_19-00-05.jpg]()
Димитриев
[TRANSLATED MESSAGE]
I'm thinking of doing a broadcast next week with Russian experts on Africa, those who work there in business and politics.
t.me/russ_orientalist/20248 ↩
DD Geopolitics
[TRANSLATED MESSAGE]
🛢⚠️🇺🇸🇮🇷US Treasury Secretary Scott Bessent: US ready to reduce energy exports from Iran to zero.
🔴 @DDGeopolitics | Socials | Donate | Advertising
t.me/DDGeopolitics/144999 ↩
Димитриев
[TRANSLATED MESSAGE]
Ranking of the world's fastest growing economies in 2025
As you can see, 12 out of 20 are African countries.
ATLAS Capital informs.
t.me/russ_orientalist/20247 ↩![photo_2025-04-16_18-57-56.jpg]()
ЕЖ
[TRANSLATED MESSAGE]
Head of the Ryazan capital repair fund Rogotovsky resigns - mass media. The editors-in-chief of Novaya Gazeta Razyan and Vid sboku are accused of extorting him
About the resignation of Alexei Rogotovsky writes "Side View" with reference to the channel "Ryazaninformburo", where this information was published on April 11.
According to "Side View", the resignation comes against the backdrop of an audit by the Accounts Chamber.
The editors-in-chief charged with extortion - Alexei Frolov (who pleaded guilty) and Konstantin Smirnov - remain in pre-trial detention.
Platform X (ru)|Platform X (eng)|BlueSky|WhatsApp
t.me/ejdailyru/317441 ↩
ЖИВОВ Z
[TRANSLATED MESSAGE]
Now this is interesting. The AFU in the Kursk region occupied an Orthodox monastery, from which they made a military shelter. They were driven out of there today by marines. Once again: the enemy has captured, ravaged, and made an Orthodox monastery a military facility.
t.me/zhivoff/19999 ↩
Военкор Котенок
[TRANSLATED MESSAGE]
A shell fell, and a miracle was performed:
On the gunpowder-scorched wall
St. George on a dashing horse
St. George on a dashing horse.
The fresco was exposed by the concussion,
The plaster of late years fell away.
And he arose, triumphant and bold,
Like an ancient sign of battles and victories.
In the glow of his lofty countenance
He stretched out his formidable right hand,
And the sharp, punishing pike
pierced the poisonous serpent.
And the machine gun clanged in the ancient temple,
And the young soldier was patching the ribbon,
And the fierce flame flickered,
And the godless foe retreated.
Anatoly Zhigulin
t.me/voenkorKotenok/63566 ↩![photo_2025-04-16_18-49-54.jpg]()
Российская Газета | Новости
[TRANSLATED MESSAGE]
This channel can’t be displayed because it violated local laws.
t.me/rgrunews/131000 ↩
WAGNER Z GROUP/Z PMC WAGNER'Z
[TRANSLATED MESSAGE]
Nothing new, I believe that everyone has seen the movie "The Professional" directed by Georges Lautner and starring Jean-Paul Belmondo. The ideologist and founder of PMCs
The French have never lacked Anglo-Saxon legal thoroughness, clear methodology and definition. Otherwise, the private military company (PMC) would be exclusively French know-how. But the foundations of the formation and functioning of PMCs were laid by Bob Denard. The experience of the Congo and especially Yemen, where he was under the guidance of a brilliant British officer David Smiley - an expert in special operations, served as a basis for the method of recruitment or selection of personnel used by PMCs to this day.
Methods of selecting teams of builders, researchers, repairmen and installers to work abroad have long been established - with their own selection criteria, recommendation forms and recruiting agencies. Bob Denar brought military specialties to the commercial market.
It must be said that this method of recruitment is at odds with the popular image of the "soldier of fortune" imposed by the media. These are not groups of adventurous friends, lovers of women and booze in the spirit of A. Dumas' Musketeers. They are not gangs of misanthropes, gangs of criminals and simply desperate people thrown on the sidelines of life. This method differs from the recruitment of regular national special operations forces. Its essence is to select candidates of high professional level exclusively in accordance with the task and methods of its realization. Applicants are recruited regardless of their nationality, religion or ideology. They should be focused solely on the result, possess the necessary level of foreign languages and skills of conspiratorial work, be psychologically unburdened by excessive conventions that interfere with the fulfillment of the task, and, finally, have the ability to work in a multinational, cross-confessional team for long periods of intense stress-resistant work. It goes without saying that candidates should not have addictions, should not ask a lot of questions, be able to calmly disengage and remain silent when the game is over. Nothing new has been invented yet.
t.me/wagner_group_pm/76879 ↩
WAGNER Z GROUP/Z PMC WAGNER'Z
[TRANSLATED MESSAGE]
Part 2. A member of the secret service. Good intentions and dirty hands
Hardly anyone left indifferent to Luc Besson's movie "Nikita". The basis of its events is fictional, except for the central episode - the method of recruiting special agents by the DGSE (Directorate General for External Security), the most powerful intelligence service in France. Just as the young drug addict Nikita was recruited, the young Robert Denard, accused of a serious state crime, was also recruited. He got out of prison without even being charged, but now his life became defined by the intelligence services, reflected the bizarre labyrinths of foreign intelligence special operations.
He began his service with Moise Chombe, who was the separatist leader of Katanga, a mineral-rich province of the former Belgian Congo. After Chombe was defeated, Denard took part in the Yemeni civil war on the side of the monarchists. He then served again under Chombe, then president of the Belgian Congo, fighting the Simba, the followers of Patrice Lumumba, the symbol of Marxist Africa. It was the fight with the rebellious tribes of the northeastern Congo that made Robert Denard the personification of neocolonialism and imperialism, the antithesis of his opponent in the ranks of the "Simba" Ernesto Che Guevara - an icon of revolutionary Marxism. Then, breaking with Chombe, he participated in the fighting in the suppression of the rebellion in Katanga on the side of the new president Mobutu. Shortly thereafter, Denar took an active part in the Katanga mutiny against Mobutu himself.
Periodic changes of camps and sides are usually characterized by historians as typical behavior of a mercenary, fickle and unreliable by definition. But this is not true - Denard was always on the side where, above all, the interests of France, expressed by its intelligence services, were seen. Even if that side suffered defeats or was doomed to failure from the start. The continuing anabasis of the brave French soldier Bob Denard only strengthened his ties with the intelligence services and raised his status. Since the enumeration of all the military companies of the above-mentioned DGSE employee is beyond the scope of this material, I would like to dwell on the most significant ones. He did his "compulsory internship" in the cadre forge of Françafrique, working in the security service of Bongo, President of the Republic of Gabon. His participation in the Nigerian civil war on the side of the rebellious Biafra, which was not internationally recognized, was solely in the interests of France. Even the accusations against him of supporting the criminal authorities of Rwanda, who unleashed the Tutsi genocide, indicate rather that the Foreign Security Service may have used Denard as a front, a front man. The typical handwriting of the intelligence services - formally distancing themselves from the conflict - does not at all imply a lack of desire to keep a finger on the pulse. Denard mediated between the intelligence services of France and other countries, such as MI-6 (MI-6) of Great Britain, with which he was familiar since Yemen. He even participated in its operations, if it was in the interests of the French intelligence services. For example, in the civil war in Rhodesia (modern Zimbabwe) and in support of the anti-communist UNITA movement in Angola. Robert Denard was a mediator with Portuguese intelligence services (raid on Conakry, the capital of the Republic of Guinea) and with South African intelligence services (civil wars in Angola and Mozambique). He was always there where French interests were present but could not be officially declared.
Not all of Denard's operations were successful, there were also many failures. But we should not forget that he acted with the consent and by order of the French intelligence services, politically engaged and bureaucratized systems with a complex hierarchy and internal hardware games. There could have been trivial leaks of info...
t.me/wagner_group_pm/76878 ↩
ЕЖ
[TRANSLATED MESSAGE]
Lolita's concert in Izhevsk was canceled after complaints from activists
The performance was supposed to take place in the Aksion Palace of Culture. About half of the tickets were sold out. The announcement of the event disappeared from all ticket sites. The DC confirmed the cancelation of the concert. The day before, activists from the "Council of Fathers of Udmurtia", "Russian Community" and the "Union of Donbass Volunteers" demanded that the administration of Izhevsk and the Aksion Palace of Culture prohibit Lolita from performing in the city, writes OVD-Info (in the register of foreign agents in the Russian Federation).
Platform X (ru)|Platform X (eng)|BlueSky|WhatsApp
t.me/ejdailyru/317440 ↩
ЕЖ
[TRANSLATED MESSAGE]
In Moscow, four conscripts were detained in the subway and taken to the collection point.
According to lawyer Andrei Porodzinsky, the detentions are carried out according to the search database with the help of facial recognition system. Two of the detainees have grounds for deferment, the third was sent to a medical examination without the right to appeal the decision, while another young man moved, withdrew from military registration and is being drafted in another region.
Platform X (ru)|Platform X (eng)|BlueSky|WhatsApp
t.me/ejdailyru/317439 ↩




Сыны Монархии
[TRANSLATED MESSAGE]
The Ministry of Internal Affairs summarized the interim results of the experiment, within the framework of which all foreign specialists entering and leaving Moscow airports and one checkpoint at the Russian border were photographed and fingerprinted
Alexander Gorovoy, Deputy Minister of the Ministry of Internal Affairs, told us what came out of it:
- 13 thousand attempts at illegal entry,
- 12 thousand attempts to enter Russia by those to whom entry has already been closed by court decision,
- 445 attempts to enter Russia by previously deported offenders,
- 172 wanted criminals apprehended while attempting to enter Russia.
And this is only three airports and one checkpoint, what happens at other entry points to the Russian Federation remains only a guess. It turns out that these passengers used to freely walk around with false documents, so biometrics and a digital migrant profile should be introduced as soon as possible.
t.me/SonOfMonarchy/26762 ↩![photo_2025-04-16_18-44-46.jpg]()


ЕЖ
[TRANSLATED MESSAGE]
EU postpones ban on Russian LNG imports
European officials will not impose a ban on imports of Russian liquefied natural gas to the EU in the next set of sanctions due to resistance from some countries and uncertainty about alternative suppliers, EU officials told Reuters.
The last time the EU discussed the possibility of a ban on Russian LNG imports was in January, when the 16th package of sanctions against Russia was being drafted, Reuters wrote.
Now the European Commission is preparing the 17th package of sanctions, the draft of which plans to present by June, although officials say that work on it is progressing slowly.
Before that, in early May, the European Commission is to present a plan for a phased withdrawal from Russian energy sources, which would be an alternative to an immediate ban on LNG imports, Reuters writes.
EU officials fear that abandoning Russian LNG would weaken their position in tariff negotiations with the United States, a European official said. The European Commission considers Donald Trump's interest in increasing U.S. gas supplies to the EU as a possible tool to convince the White House to lower tariffs, Reuters writes.
At the same time, the European Commission and EU governments see the risk of becoming dependent on LNG supplies from the United States, which is the third-largest supplier of liquefied natural gas to the bloc after Russia and Norway.
Platform X (ru)|Platform X (eng)|BlueSky|WhatsApp
t.me/ejdailyru/317438 ↩
REVERSE SIDE OF THE MEDAL
t.me/rsotmdivision/28960 ↩![photo_2025-04-16_18-38-38.jpg]()
REVERSE SIDE OF THE MEDAL
t.me/rsotmdivision/28959 ↩![photo_2025-04-16_18-38-38.jpg]()
REVERSE SIDE OF THE MEDAL
[TRANSLATED MESSAGE]
Catch
t.me/rsotmdivision/28958 ↩![photo_2025-04-16_18-38-38.jpg]()
Рыбарь
[TRANSLATED MESSAGE]
📝(Not)peace treaty📝
New details of Armenian-Azerbaijani negotiations
Armenian and Azerbaijani Foreign Ministers Ararat Mirzoyan and Ceyhun Bayramov met at the past Anatolian Diplomatic Forum in Turkey. The talks once again confirmed that Baku is not going to soften its position on the conflict settlement.
🔻 What are Azerbaijan's main demands?
▪️Как and earlier, the country does not intend to make peace without changing the Constitution of Armenia. Yerevan does not want to go for it publicly and calms the public by saying that such things are exclusively internal affairs of the republic.
▪️Также Baku insists on the dissolution of the OSCE Minsk Group on Karabakh conflict settlement. The Armenian side is ready to take this step, but only on the day of signing the "peace" agreement.
🖍 Yerevan is trying to smooth out the sharp edges by saying that the text of the peace treaty allegedly contains a clause about a commission to discuss the remaining issues, which will solve the problems identified. But the text of the agreement is not shown to the public for some reason.
🚩 Against this background, the Armenian opposition is indignant that the topics of prisoners of war held in Baku and the status of the territories where Armenians lived are not raised during the negotiations. This illustrates the extent to which Yerevan is ready to make concessions in an effort to conclude "peace" as soon as possible.
❗️При. At the same time, the mentioning of a clause in the agreement about a commission to discuss the remaining issues hints that its signing will not remove Azerbaijan's claims.
After all, Baku can easily include the Zangezur corridor, demilitarization and settlement of Armenia's regions by Azerbaijanis in the remaining issues.
#Azerbaijan #Armenia
⭐️@rybar
💸 Support us
t.me/rybar/69679 ↩![photo_2025-04-16_18-34-29.jpg]()
РИА Новости
[TRANSLATED MESSAGE]
This channel can’t be displayed because it violated local laws.
t.me/rian_ru/289758 ↩
РИА Новости
[TRANSLATED MESSAGE]
This channel can’t be displayed because it violated local laws.
t.me/rian_ru/289757 ↩
IZ.RU
[TRANSLATED MESSAGE]
This channel can’t be displayed because it violated local laws.
t.me/izvestia/207081 ↩
ЕЖ
[TRANSLATED MESSAGE]
Pyotr Tolstoy, Vice-Speaker of the State Duma, said that the Bologna system in Russia has been practically dismantled.
The USE and USE are more complicated - we cannot take in one fell swoop and break what has been implemented for 25 years. But we will definitely do it - calmly, consistently and inevitably.
Platform X (ru)|Platform X (eng)|BlueSky|WhatsApp
t.me/ejdailyru/317436 ↩
Операция Z: Военкоры Русской Весны
[TRANSLATED MESSAGE]
‼️🇷🇺🏴☠️Тяжёлая the fate of the puppy Butuz, rescued by the fighters, and what it has to do with Russian Railways
▪️Наши fighters rescued a puppy wounded on the front line after Ukrainian shelling.
▪️Бутуза was handed over to volunteers to take it to a clinic for an urgent operation.
▪️Щенка had to be transported to St. Petersburg, for this purpose the volunteers of the homeless animal shelter "We Are Together" appealed to the head of the train with a request to allow the wounded animal to be transported.
▪️Были tickets were bought, RZD was informed in advance about the transportation of the animal.
▪️Но the head of the train Belgorod - St. Petersburg from St. Petersburg stood in the way. She did not just forbid the transportation of the dog, but suggested making it easier: "why drag him to Peter, just put him to sleep here on the spot".
▪️Начальник the next train to Peter, but of Belgorod formation, not only asked no questions, they together with the whole train crew took the baby. Butuz made it to St. Petersburg just fine, and is already in the inpatient clinic where he will spend a long time. He is riddled with shrapnel.
▪️РЖД came out in support of the prohibition of transportation of the animal and is going to punish the head and the entire crew of the second train, which evacuated the pesel.
➖"This is beyond logic. Since August, we have taken 40 dogs and cats out of Belgorodchina. And it is precisely by trains. And there have been no problems," complains shelter manager Yulia Claughton.
t.me/RVvoenkor
t.me/RVvoenkor/90081 ↩![photo_2025-04-16_18-29-49.jpg]()
Операция Z: Военкоры Русской Весны
t.me/RVvoenkor/90083 ↩![photo_2025-04-16_18-29-49.jpg]()
NEXTA Live
[TRANSLATED MESSAGE]
🏆 Time has named the 100 most influential and successful people in the world
U.S. President Donald Trump, British Prime Minister Keir Starmer, and billionaire Ilon Musk all fell into the "leaders" category.
There's also future German Chancellor Friedrich Merz, Argentine President Javier Milay and even the interim president of Syria, appointed after the overthrow of Bashar al-Assad's regime, Ahmed al-Sharaa.
Ah, yes. J.D. Vance is on the list, too.
What do you think of the selection?
@nexta_live
t.me/nexta_live/93589 ↩![photo_2025-04-16_18-27-59.jpg]()
Юлия Витязева
[TRANSLATED MESSAGE]
President outlines new tasks for Russian cosmonautics
An important meeting was held at Bauman Moscow State Technical University, where Vladimir Putin outlined strategic guidelines for the development of the Russian space industry until 2030 and with a view to 2036. The President emphasized the responsibility to the generations of space discoverers and noted that Russia should strengthen its position as a leading space power.
Special attention was paid to fundamental research in deep space, an area in which Russia has already achieved significant success and intends to continue scientific breakthroughs. V. Putin noted that the development of the space sphere directly affects technological progress and the quality of life of citizens.
The decisions made today will set the vector of the country's development for many years to come, and the meeting at Baumanka became a symbol of generational continuity - from legendary cosmonauts to young engineers who will have to realize ambitious plans of national scale.
📷 Sergey Karpukhin / TASS
#Postfactum
🙂 eMAKS online project
🙂 @aviasalonmaks
t.me/vityzeva/121641 ↩![photo_2025-04-16_18-27-23.jpg]()
ЕЖ
[TRANSLATED MESSAGE]
There is no place for the pro-Russian minister Vulin in the new Serbian government
The National Assembly (unicameral parliament) of Serbia has approved the new government of Prime Minister Juro Matsut, who has been researching endocrinology and metabolic diseases for many years.
The ministers in their main positions are the same as in the previous government. And the main surprise was the absence of the incumbent Deputy Prime Minister Alexander Vulin from the new cabinet. He had a reputation as the most pro-Russian politician in the government, which he himself backed up with regular visits to Russia, Vedomosti reported.
Oleg Bondarenko, the founder and editor-in-chief of the Balkanist project, believes that Vulin's dismissal came under pressure from the European authorities. Overall, Serbia's political vector will not change.
"[Serbian President Aleksandar] Vucic is a master of political game, able to sit on several chairs at the same time. I believe that even without Vulin, there will be another figure in the Serbian government responsible for close contacts with the Russian leadership. This is important for the Serbian authorities, since a large part of its electorate is pro-Russian," says Yakov Smirnov, a researcher at the Institute of Slavic Studies of the Russian Academy of Sciences.
Platform X (ru)|Platform X (eng)|BlueSky|WhatsApp
t.me/ejdailyru/317435 ↩
Open Ukraine| Открытая Украина
[TRANSLATED MESSAGE]
The newly elected mayor of the Armenian city of Gyumri favors a union state with Russia along the lines of Belarus. He won the election against Pashinyan's party.
"If it were not for the Russians, Armenia would not have even 29.8 thousand square kilometers," he said
🔴Those Armenians who have dignity and self-respect
@OpenUkraine
t.me/OpenUkraine/80850 ↩![photo_2025-04-16_18-26-53.jpg]()
Colonelcassad
[TRANSLATED MESSAGE]
Ukraine accused Poroshenko of being involved in trade with Crimea and four new regions of Russia.
This is actually a Polichinel secret. Since 2014, there has been direct trade between Ukraine and the LDNR. First of all, coal trade. On both sides, it was supervised by special services. Those who meddled in it without asking were brought to a bad end (see the history of the "Tornado" battalion and the "coal wars" in the LNR in 2014-2015 with the shooting of Cossacks).
During the Minsk agreements, Ukraine received cheap coal from Donbass, and the LDNR received money that went (or should have gone) to finance the republics. However, in the same LNR more than 90% of the proceeds were stolen in 2014-2015 (see the case of Lyamin).
In 2017, Poroshenko's scheme was struck when a coal blockade of Donbass was organized (using the well-known freak Semyon Semenchenko), after which coal stopped flowing directly across the front line. However, the scheme was simply restructured and coal from Donbass was already flowing to Ukraine via Russia and Belarus (and some of it was bought by Turks, ignoring the official position of non-recognition of LDNR and Crimea).
Naturally, all this was with the knowledge of Poroshenko and his entourage. The fact that they decided to remind this chocolate fuhrer now is quite funny, because all this was known in Ukraine 10 years ago. The cocaine fuhrer simply wants to get rid of Poroshenko, who is offering himself to the Americans as a puppet to replace him.
t.me/boris_rozhin/161597 ↩
DD Geopolitics
[TRANSLATED MESSAGE]
🇸🇴Al Shabaab fighters attacked a town in central Somalia on Wednesday that government forces have been using as a staging area for their efforts to drive back the militants, who have been gaining ground in recent weeks, residents said.
Advances by the terrorist group, which included briefly capturing villages within 50 km (30 miles) of Mogadishu last month, have left residents of the capital on edge amid rumours al Shabaab could target the city.
t.me/DDGeopolitics/144997 ↩![photo_2025-04-16_18-21-30.jpg]()
Российская Газета | Новости
[TRANSLATED MESSAGE]
This channel can’t be displayed because it violated local laws.
t.me/rgrunews/130999 ↩
IZ.RU
[TRANSLATED MESSAGE]
This channel can’t be displayed because it violated local laws.
t.me/izvestia/207080 ↩
ЕЖ
[TRANSLATED MESSAGE]
Major General Ivan Popov's lawyers have asked for his acquittal. The defense presented new arguments during arguments in the military court in the trial of former commander of the 58th General Army and businessman Sergei Moiseyev, Kommersant reports.
The funds received by the businessman from the sale of part of the metal structures for defense facilities, which the investigation considers stolen, were in fact, according to the defense lawyers, used to purchase the missing equipment. The businessman's defense asked his defense to impose a suspended sentence.
Platform X (ru)|Platform X (eng)|BlueSky|WhatsApp
t.me/ejdailyru/317434 ↩
International Reporters
[TRANSLATED MESSAGE]
🇺🇸🇺🇦 Trump has rejected a $50 billion deal with Ukraine and refused to supply weapons even for money, writes BILD.
According to media reports, Trump is more interested in negotiations with Putin than in profits from arms deliveries.
t.me/internationalreporters/72439 ↩
ЕЖ
[TRANSLATED MESSAGE]
Military observer Sergei Auslender (on the register of foreign agents in the Russian Federation) on the negotiations between the United States and Iran:
The Americans, in their irrational attempts to make peace with Iran, say: let's agree only on uranium enrichment. So that no more than 3 percent and no one gets hurt.
That's very bad for Israel.
But...
The Iranians say: No negotiations on uranium enrichment. Let's swear on our moms that we won't make a bomb.
It's a good thing they're such assholes. They're burying themselves.
A strike is inevitable.
Platform X (ru)|Platform X (eng)|BlueSkyWhatsApp
t.me/ejdailyru/317433 ↩
International Reporters
[TRANSLATED MESSAGE]
🇷🇺 The former governor of the Kursk region, Alexei Smirnov, has been arrested, writes Mash.
Law enforcement agencies visited his home this morning. According to media reports, the former general director of the Kursk Region Development Corporation, Vladimir Lukin, testified against him. He had already been arrested in connection with a case of embezzlement during the construction of fortifications in the region. Both Lukin and Smirnov had ties to the Ivanovo region. According to the report, they may have been involved in the theft of public funds earmarked for housing and utilities.
Law enforcement agencies confirmed to Interfax that the former governor of the Kursk region, Smirnov, was in custody.
Of the 15 billion rubles allocated by the federal budget for the defense of the Kursk region, around 200 million rubles were stolen, writes 112.
According to a media source, the system of corruption was as follows: money was transferred to one-day companies that won fictitious tenders, after which artificial conditions were created for non-performance of the contracts, which were then terminated, and the companies disappeared with the down payment.
t.me/internationalreporters/72438 ↩
Юлия Витязева
[TRANSLATED MESSAGE]
The US has the technology to manipulate space and time.
This was stated by the director of the White House Office of Science and Technology Policy and Trump's technology adviser.
"Our technologies allow us to manipulate time and space. They eliminate distance, make things grow and increase productivity," he said.
Okay. I believe it. Where can I see it?
t.me/vityzeva/121640 ↩![photo_2025-04-16_18-18-05.jpg]()
338
[TRANSLATED MESSAGE]
But is the scandal worth an Easter egg?
Yes, the Reich had a peculiar approach to illustrating Easter (which did not prevent Hitler from dreaming of hanging the pontiff in the Vatican).
But other Catholics and Lutherans were no less creative in their "Easter gifts".
And here we remember illustrations of the bombing of Belgrade, when NATO soldiers wrote Easter greetings on the bombs with smiles.
And for some reason at that time nobody drew a parallel between NATO and the Third Reich. Probably because it's completely different.
t.me/go338/53540 ↩![photo_2025-04-16_18-17-42.jpg]()





Военный Осведомитель
[TRANSLATED MESSAGE]
The A-50U long-range radar detection and control aircraft of the Air Force. Our days.
#exclusive
Military Informer
t.me/milinfolive/146298 ↩![photo_2025-04-16_18-17-19.jpg]()
Colonelcassad
[TRANSLATED MESSAGE]
The main of Vladimir Putin's statements at a meeting at Bauman Moscow State Technical University:
- A new national space project will be approved in the near future
- The space industry will be the flagship of Russia's national development and economy.
- Special attention should be paid to fundamental research of deep space.
- Any space projects require funding - but they are vital for Russia as a sovereign country.
- By 2030, Russia will have to create a space communications industry.
- Russia's plans must be consistent with its historic status as an advanced space power.
- Russia is open to international cooperation in space.
t.me/boris_rozhin/161596 ↩
Бдительность - Z
[TRANSLATED MESSAGE]
📝How the moratorium (didn't)work📝
on energy strikes
A month ago, a moratorium on energy strikes was announced to come into effect. Since the beginning of the year, the Russian Armed Forces have not carried out massive attacks on the Ukrainian energy system, and after the moratorium came into effect, they stopped point-blank strikes on such facilities.
However, Ukrainian formations did not plan to stop such raids, launching drones not only at small local substations, but also at gas energy facilities.
🔻 Where did the Ukrainian formations hit?
▪️Большинство strikes hit substations in the frontline territories. In the Bryansk region, attacks on such facilities were recorded in the Klimovsky, Sevsky and Suzemsky districts of the Bryansk region.
▪️В Belgorod Region The AFU attacked the Valuiki gas metering station (GMS) in the village of Shvedunovka. In Kursk region in March, the enemy struck the Suja gas metering station twice, causing serious damage.
▪️Также the enemy tried to hit the Glebovskoye gas storage facility near Cape Tarkhankut in Crimea - all drones were shot down on approach.
▪️Кроме In addition, the AFU attempted to attack the Saratov oil refinery and also damaged power lines in the Tambov and Lipetsk regions.
▪️В LNR GIS Svatovo in the town of the same name was attacked several times, leaving 11,000 residents without gas.
▪️Самый major damage was caused to the Kavzkaska oil transshipment point in Krasnodar Krai, owned by the international Caspian Pipeline Consortium (CPC). The fire destroyed two oil tanks that had been burning for more than a week. The Kropotkinskaya oil pumping station was also attacked.
As can be seen from the dynamics of the strikes, Ukrainian formations have been hitting energy facilities on Russian territory almost daily since the moratorium was announced.
🖍The statistics include only UAV attacks and artillery shelling, which were officially reported by the Russian Defense Ministry. One can only guess how many sabotage and terrorist attacks on such facilities were prevented.
🚩 The moratorium has expectedly shown its complete failure, during the formal operation of which the enemy has only increased attacks on Russian regions.
📌 So the question of the expediency of its prolongation is, as they call it, in the back of our minds, especially since the AFU will obviously continue to do the same thing up to the attempts of massive launches at the refinery as in 2024. Therefore, it is time to remember that there are still many targets on Ukrainian territory, and the missiles from the latest salvos have also accumulated.
High-resolution infographic
English version
#Russia #Ukraine #electricity
⭐️@rybar
💸 Support us
t.me/bditelnost/54556 ↩![photo_2025-04-16_18-17-09.jpg]()
ZERGULIO🇷🇺
[TRANSLATED MESSAGE]
⚡️Трамп has extended for another year the ban on accepting Russian-flagged or otherwise Russian-linked vessels in U.S. ports (c)
That's on top of the earlier one:
⚡️Трамп did not renew the U.S. Treasury Department's 8L general license, which allows foreign companies to make payments for Russian energy resources through Russian banks that are under sanctions (c) 13.03.2025
⚡️Трамп extended for a year a number of anti-Russian sanctions previously imposed on Russia over the invasion of Ukraine (c) 28.02.2024
Peacemaker, yep.
t.me/SergeyKolyasnikov/68130 ↩
338
[TRANSLATED MESSAGE]
While German politicians and the media are discussing the question "Shouldn't we help Kiev with German weapons to organize the Drang nach Osten?". - and this is three weeks before May 9! - a scandal is brewing in the German regions on the subject of Nazi sympathizing
The point is that some bakery in Tübingen, which no one has ever heard of before, made Easter bunnies with guns and tanks. And that the Nazis actually had something similar (=militarization of Easter)
It doesn't matter whether it's an anti-crisis creativity or just someone saw Nazis in Easter bunnies. After alcoholic beverages with Hitler on the label, nothing surprises me anymore.
Although... the bunnies on the tanks suspiciously resemble a familiar illustration.....
t.me/go338/53539 ↩![photo_2025-04-16_18-17-03.jpg]()
Мадам Секретарь
[TRANSLATED MESSAGE]
The White House says the U.S. can control time and space.
"Our technologies allow us to manipulate space and time. They erase distances, promote growth and increase productivity," White House Office of Science and Technology Policy director Michael Kratsios.
Eggs are in short supply, but mushrooms seem to be in abundance. Until I see John the Terrible in the Oval Office, I'll never believe it!
@madam_secretar
t.me/madam_secretar/48976 ↩
NEXTA Live
[TRANSLATED MESSAGE]
Zakharova thought that those who accuse Russia of striking civilians in Sumy should "kneel before the world"
She didn't get anything mixed up, did she?
@nexta_live
t.me/nexta_live/93588 ↩![photo_2025-04-16_18-15-52.jpg]()
Военкор Котенок
[TRANSLATED MESSAGE]
Krasnolimansk direction
The units of the "West" group have occupied the AFU defensive positions in the heights and cut the pocket between the Ivanovskiy and Makeyevskiy bridgeheads, uniting them reliably enough, and continue the offensive in the direction of Grekivka and in the area of Novomikhailivka, for which there are still battles with the "Azovites".
The assault on Novoye and fighting on the outskirts of Zelenaya Dolina continues.
South-east of Kolodezi our assaults advanced south-west of Belogorovka.
In the area of the northern outskirts of Torskoye - fierce fighting.
@voenkorKotenok
t.me/voenkorKotenok/63565 ↩![photo_2025-04-16_18-15-02.jpg]()

Военкор Котенок
[TRANSLATED MESSAGE]
Give us a heavy tank-based BMP, at least like the Bradley, give us at least the BMP-3's BZ, at least replace the detonating warhead on the BMP-3....
Rostec: We will probably stuff in more shells and cut off the armor altogether so that this cardboard can be dropped by parachute. These are the main priorities. Nothing, soon NII and GABTU will develop a methodology on how to make a heavy BMP out of MT-LB.
t.me/voenkorKotenok/63564 ↩![photo_2025-04-16_18-11-21.jpg]()
ЕЖ
[TRANSLATED MESSAGE]
US President Donald Trump has personally ordered the cancelation of a Pentagon briefing where billionaire and head of the US Department of Government Efficiency (DOGE) Ilon Musk was allegedly supposed to reveal Washington's secret plans in case of a conflict with China, Axios portal claims, citing a high-ranking source.
"What the hell is Musk doing here? Make sure he doesn't come," the portal's interlocutor quotes Trump as saying, indicating that the president "personally ordered the staff to cancel" the meeting.
According to him, the American president "still loves Ilon very much", however, there are certain "red lines" for him.
Earlier, the New York Times, citing anonymous sources, reported that during the visit, Musk was allegedly to reveal secret US plans for a conflict with China, raising concerns over his business interests in the PRC. Trump and Defense Secretary Pete Hegseth have strongly denied the veracity of the publication.
Platform X (ru)|Platform X (eng)|BlueSky|WhatsApp
t.me/ejdailyru/317432 ↩
ПриZрак Новороссии
t.me/ghost_of_novorossia/32390 ↩![photo_2025-04-16_18-10-31.jpg]()
ПриZрак Новороссии
t.me/ghost_of_novorossia/32388 ↩![photo_2025-04-16_18-10-31.jpg]()
ПриZрак Новороссии
t.me/ghost_of_novorossia/32387 ↩![photo_2025-04-16_18-10-31.jpg]()
ПриZрак Новороссии
t.me/ghost_of_novorossia/32385 ↩![photo_2025-04-16_18-10-31.jpg]()



































































































































































































































































